纺织学报 ›› 2025, Vol. 46 ›› Issue (03): 188-195.doi: 10.13475/j.fzxb.20231001701

• 机械与设备 • 上一篇    下一篇

基于数字孪生的热密封材料气密及传热特性高温测试技术

陈立芳1,2(), 周宇航1,2, 房务官3, 郭仪翔1,2   

  1. 1.北京化工大学 发动机健康监控及网络化教育部重点实验室, 北京 100029
    2.北京化工大学 高端压缩机及系统技术全国重点实验室, 北京 100029
    3.北京空天技术研究所, 北京 100074
  • 收稿日期:2023-10-08 修回日期:2024-09-30 出版日期:2025-03-15 发布日期:2025-04-16
  • 作者简介:陈立芳(1973—),女,教授,博士。主要研究方向为故障自愈及靶向抑制、螺旋桨自动平衡、高温热密封仿真及测试技术。E-mail:chenlf@mail.buct.edu.cn
  • 基金资助:
    国家自然科学基金项目(52375077);国防基础科研计划项目(JCKY2019204B044)

High temperature testing technology for airtightness and heat transfer characteristics of heat sealing materials based on digital twin

CHEN Lifang1,2(), ZHOU Yuhang1,2, FANG Wuguan3, GUO Yixiang1,2   

  1. 1. Key Laboratory of Engine Health Monitoring-Control and Networking of Ministry of Education, Beijing University of Chemical Technology, Beijing 100029, China
    2. State Key Laboratory of High-End Compressor and System Technology, Beijing University of Chemical Technology, Beijing 100029, China
    3. Beijing Aerospace Technology Research Institute, Beijing 100074, China
  • Received:2023-10-08 Revised:2024-09-30 Published:2025-03-15 Online:2025-04-16

摘要:

飞行器在高超声速飞行和再入过程中存在热侵蚀的安全隐患,高温高压苛刻环境对热密封材料要求越来越高,针对苛刻环境下飞行器用热密封材料特性评估难的问题,提出一种基于数字孪生的热密封材料气密及传热特性高温测试技术,并搭建虚拟和实体测试系统完成陶瓷纤维毡在不同工况下的气密及传热特性测试。测试前通过虚拟空间开展热密封环境模拟仿真,测试中通过数据在虚实空间的动态交互实现测试过程的监测预警,测试后运行数字孪生系统对测试结果进行评估,并基于孪生模型对超出测试范围的参数完成虚拟测试。实验结果表明:陶瓷纤维毡在30%压缩率、1 100 ℃高温时的泄漏率相较于常温工况约减少了72%,该研究解决了超高参数下热密封材料无法测试的难题。

关键词: 再入飞行器, 数字孪生, 热密封材料, 气密特性, 传热特性, 高温测试技术

Abstract:

Objective Thermal sealing research is crucial in the development of spacecraft technology. During the hypersonic flight and re-entry process of spacecraft, the surface is subjected to aerodynamic heating caused by high-speed airflow, which poses a safety hazard of thermal erosion. The high temperature and high pressure harsh environment requires increasingly high requirements for thermal sealing materials. The simulation and testing technology research is an effort to investigate the flow resistance and thermal resistance characteristics of thermal sealing materials for spacecrafts.

Method A high temperature testing technology of braided heat seal based on digital twin was proposed, and a virtual and physical testing system was constructed to test the air tightness and heat transfer characteristics of heat seal materials under different working conditions. The thermal sealing environment was simulated before the test, and the testing process data were monitored during the test. After the test, the digital twin system is operated to evaluate the test results, and the virtual test of parameters beyond the test scope is completed based on the twin model.

Results The performance testing of thermal sealing materials obtained key parameters such as temperature, pressure, and leakage rate under given working conditions, as well as their variation patterns. Under the same compression rate, the leakage rate of the tested ceramic fiber felt showed an increase with the increase of pressure difference, showing that the smaller the compression rate, the faster the increase rate. Under the same pressure difference, it was found that the larger the compression ratio, the smaller the leakage rate. At a compression rate of 30%, the leakage rate of ceramic fiber felt decreased by about 43% compared to normal temperature conditions at 500 ℃, and the temperature difference between the front and rear sections of the sample was about 43 ℃. At 1 100 ℃, the leakage rate decreased by about 72% compared to normal temperature conditions, and the temperature difference between the front and rear sections of the sample was about 132 ℃. It is evident that the higher the density of the material (smaller fiber diameter and lower porosity), the greater the viscous resistance coefficient, leading to reduction of the fluidity of air inside the material. At high temperatures, the leakage rate of different materials would generally decrease, and the higher the fluid temperature, the smaller the leakage rate and the better the airtightness. The insulation effect of materials is more significant at high temperatures, which not only depends on their inherent thermal conductivity, but also on the leakage rate. Lower leakage rates reduced flow heat transfer, thereby improving the insulation performance of the materials.

Conclusion Simulation analysis based on the twin model runs through the entire testing process, ensuring the stability and accuracy of the testing process, providing reliable and trustworthy test results and accurate data support for the development and application of high-temperature thermal sealing materials. Based on test results and system simulation models, it is possible to expand the operating parameters for simulation prediction analysis. The consistency between simulation and test data is good, which can effectively be adopted to evaluate the airtightness and heat transfer performance of thermal sealing materials in high temperature and high pressure environments. It also solves the problem that thermal sealing materials cannot be tested under ultra-high parameters, providing technical support for achieving hypersonic flight and multiple re-entry of aircraft.

Key words: re-entry vehicle, digital twin, thermal sealing material, airtightness characteristic, heat transfer characteristic, high temperature testing technology

中图分类号: 

  • V45

图1

全周期测试机制"

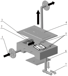
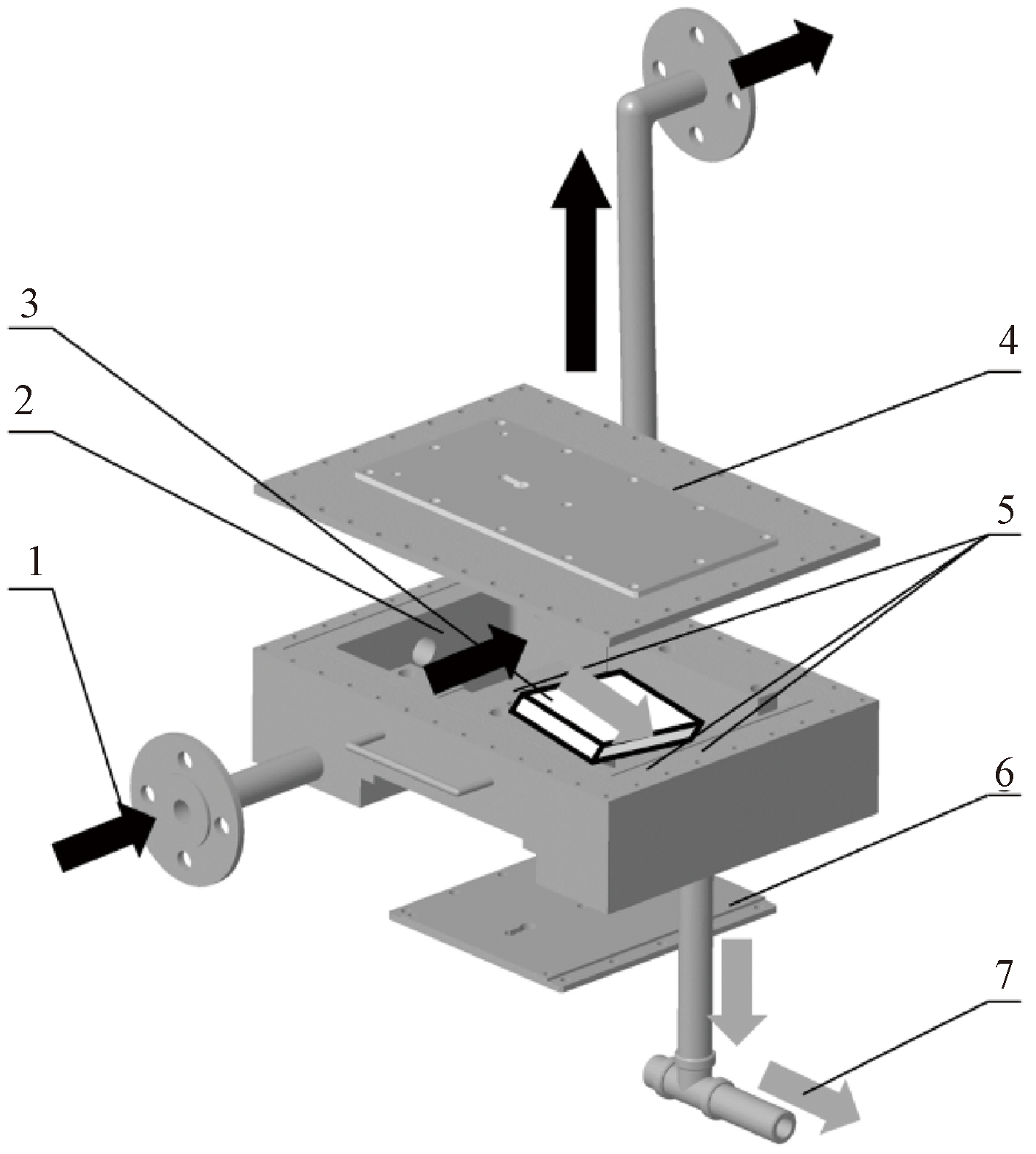
图2

热密封实验器 1—实验器;2—空气泄漏路径;3—快速切换管线;4—热风洞;5—高温空气路径。"

图3

虚拟实验器 1—高温空气路径;2—压力传感器;3—热密封材料试样;4—上加热器;5—多点温度传感器;6—下加热器;7—空气泄漏路径。"

图4

实验器温度场云图"

图5

高温热密封测试平台原理图 P1—高压气源出口压力表;Qv1—高压气源出口流量计;T1—热风洞腔内温度表;T2—热风洞出口温度表;T3—实验器加热器温度表;P2—实验器内部压力表;T4—泄漏气体温度表;Qv2—泄漏气体流量计。"

图6

待测热密封材料试样"

图7

常温测试不同压缩率下的泄漏率"

表1

30%压缩率不同流体温度下的泄漏率"

测试
编号
压差/
kPa
泄漏率/(10-2 m3·h-1·mm-1)
常温 高温
1 5 0.91 0.50
2 10 1.38 0.81
3 15 1.78 1.03
4 20 2.15 1.29
5 30 2.82 1.75

表2

仿真数据与测试数据对比"

测试
编号
温度/
压差/
kPa
泄漏率/(10-2 m3·h-1·mm-1)
仿真值 测试值
1 常温 5 0.59 0.91
2 常温 10 1.17 1.38
3 常温 15 1.76 1.78
4 常温 20 2.34 2.15
5 常温 30 3.49 2.82
6 500 5 0.39 0.50
7 500 10 0.73 0.81
8 500 15 1.05 1.03
9 500 20 1.34 1.29
10 500 30 1.96 1.75

图8

气密特性测试及多压缩率预测仿真实验结果"

图9

流场温度分布云图"

图10

传热特性仿真结果"

图11

气密特性测试及高温预测仿真实验结果"

[1] 周印佳, 张志贤. 航天器可重复使用热防护技术研究进展与应用[J]. 航天返回与遥感, 2019, 40(5): 27-40.
ZHOU Yinjia, ZHANG Zhixian. Research progress and application of reusable thermal protection technology for spacecraft[J] Spacecraft Recovery & Remote Sensing, 2019, 40 (5): 27-40.
[2] 梁伟, 金华, 孟松鹤, 等. 高超声速飞行器新型热防护机制研究进展[J]. 宇航学报, 2021, 42(4): 409-424.
LIANG Wei, JIN Hua, MENG Songhe, et al. Research progress of new thermal protection mechanism for hypersonic vehicles[J] Journal of Astronautics, 2021, 42 (4): 409-424.
[3] 张亚玮, 沈宇, 鞠泉, 等. GH3230合金超温循环氧化行为研究[J]. 稀有金属材料与工程, 2023, 52(9): 3221-3229.
ZHANG Yawei, SHEN Yu, JU Quan, et al. Study on over temperature cyclic oxidation behavior of GH3230 alloy[J] Rare Metal Materials and Engineering, 2023, 52 (9): 3221-3229.
[4] 王振峰, 高扬, 徐晓亮, 等. 航天器高温热密封设计方法及性能评价[J]. 宇航学报, 2018, 39(7): 793-800.
WANG Zhenfeng, GAO Yang, XU Xiaoliang, et al. Design method and performance evaluation of high-temperature thermal seals for spacecraft[J] Journal of Astronautics, 2018, 39 (7): 793-800.
[5] 丁许, 孙颖, 罗敏, 等. 航天器用高性能纤维编织绳索研究进展[J]. 纺织学报, 2021, 42(12):180-187.
doi: 10.13475/j.fzxb.20200907708
DING Xu, SUN Ying, LUO Min, et al. Research progress on high-performance fiber woven ropes for spacecraft[J]. Journal of Textile Research, 2021, 42 (12): 180-187.
[6] 宫学斌, 刘元军, 赵晓明. 热防护用气凝胶材料的研究进展[J]. 纺织学报, 2022, 43(6):187-196.
GONG Xuebin, LIU Yuanjun, ZHAO Xiaoming. Research progress of aerogel materials for thermal protection[J]. Journal of Textile Research, 2022, 43 (6): 187-196.
[7] GUO Y X, CHEN L F, ZHOU Y H. A review of the development of sealing materials and measurement and control simulation technology for typical hypersonic vehicle positions[C]// Proceedings of the 2022 International Conference on Smart Manufacturing and Material Processing. Amsterdam: IOS Press, 2022: 86-102.
[8] GARAFOLO N G, DANIELS C C. An experimental investigation of leak rate performance of a subscale candidate elastomer docking space seal[C]// 46th AIAA/ASME/SAE/ASEE Joint Propulsion Conference & Exhibit. Nashville: USA Curran Associates, 2011: 3450-3460.
[9] DUNLAP P H, STEINETZ B M, DANIELS C C, et al. Full-scale system for quantifying loads and leak rates of seals for space applications[C]// 46th AIAA/ASME/SAE/ASEE Joint Propulsion Conference & Exhibit. Nashville: USA Curran Associates, 2011: 4733-4752.
[10] JOEL W P. 航天飞机的防热毡[J]. 国外导弹与航天运载器, 1992(8): 80-84.
JOEL W P. Thermal insulation felt for space shuttles[J]. Foreign Missiles and Space Vehicles, 1992 (8): 80-84.
[11] GASCH M, AGRAWAL P. Thermal testing of thermal protection system (TPS) materials[C]// Material Science and Technology Technical Meeting and Exhibition (MS&T14). Pittsburgh: Association for Iron & Steel Technology, 2015: 1836-1858.
[12] 郭建业, 赵英民, 吴朝军, 等. 温度对石英纤维毡隔热性能的影响[J]. 材料导报, 2020, 34(24): 24019-24022,24033.
GUO Jianye, ZHAO Yingmin, WU Chaojun, et al. The effect of temperature on the thermal insulation performance of quartz fiber felt[J]. Materials Reports, 2020, 34 (24): 24019-24022,24033.
[13] 焦亚男, 景媛媛, 方鹏, 等. 立体编织石英纤维热密封环的气密性能[J]. 纺织学报, 2017, 38(6): 46-51.
JIAO Yanan, JING Yuanyuan, FANG Peng, et al. The airtightness performance of three-dimensional woven quartz fiber thermal sealing ring[J] Journal of Textile Research, 2017, 38 (6): 46-51.
[14] 刘俊立, 徐志高, 张峰, 等. 编织热密封组件的高温密封性能[J]. 纺织学报, 2021, 42(10): 84-91.
doi: 10.13475/j.fzxb.20210203808
LIU Junli, XU Zhigao, ZHANG Feng, et al. High temperature sealing performance of woven thermal sealing components[J] Journal of Textile Research, 2021, 42 (10): 84-91.
doi: 10.13475/j.fzxb.20210203808
[15] 秦强, 成竹, 蒋军亮. 高超声速飞行器热-结构试验体系与发展概况[J]. 空天技术, 2023(4):59-69.
QIN Qiang, CHENG Zhu, JIANG Junliang. Thermal structural test system and development overview of hypersonic aircraft[J]. Aerospace Technology, 2023(4): 59-69.
[16] 鲁宇, 朱广生, 蔡巧言, 等. 航天运输系统及再入飞行器中的高超声速技术[J]. 导弹与航天运载技术, 2007(6):1-5.
LU Yu, ZHU Guangsheng, CAI Qiaoyan, et al. Hypersonic technology in space transportation systems and re-entry vehicles[J]. Missiles and Space Vehicles, 2007 (6): 1-5.
[17] 李新荣, 韩鹏辉, 李瑞芬, 等. 数字孪生在纺纱领域应用的关键技术解析[J]. 纺织学报, 2023, 44(10):214-222.
doi: 10.13475/j.fzxb.20220509002
LI Xinrong, HAN Penghui, LI Ruifen, et al. Analysis of key technologies in the application of digital twins in the spinning field[J]. Journal of Textile Research, 2023, 44 (10): 214-222.
doi: 10.13475/j.fzxb.20220509002
[18] 郭斌, 杨雷, 倪庆, 等. 新一代载人飞船气动外形设计与优化[J]. 宇航学报, 2023, 44(9): 1337-1349.
GUO Bin, YANG Lei, NI Qing, et al. The aerodynamic design and optimization of the new generation of manned spacecraft[J] Journal of Astronautics, 2023, 44 (9): 1337-1349.
[19] 方方, 周璐, 李志辉. 航天器返回地球的气动特性综述[J]. 航空学报, 2015, 36(1): 24-38.
doi: 10.7527/S1000-6893.2014.0225
FANG Fang, ZHOU Lu, LI Zhihui. Overview of aerodynamic characteristics of spacecraft returning to earth[J] Acta Aeronautica ET Astronautica Sinica, 2015, 36 (1): 24-38.
doi: 10.7527/S1000-6893.2014.0225
[20] 陈立芳, 郭仪翔, 周宇航, 等. 一种面向航天器多孔密封材料渗漏特性评估的测控系统与方法:202210660208.0[P]. 2022-10-04.
CHEN Lifang, GUO Yixiang, ZHOU Yuhang, et al. A measurement and control system and method for evaluating the leakage characteristics of porous sealing materials in spacecraft: 202210660208.0[P]. 2022-10-04.
[21] 巴全坤. 高温密封的性能测试方法研究[D]. 北京: 北京化工大学, 2019:27-29.
BA Quankun. Research on performance testing methods for high temperature seals[D]. Beijing: Beijing University of Chemical Technology, 2019:27-29.
[22] 王文才, 宋伟, 张焱, 等. 玻璃纤维增强热塑性复合材料在航空领域的应用进展[J]. 高分子材料科学与工程, 2023, 39(11): 156-164.
WANG Wencai, SONG Wei, ZHANG Yan, et al. The application progress of glass fiber reinforced thermoplastic composites in the aviation field[J] Polymer Materials Science & Engineering, 2023, 39 (11): 156-164.
[23] 杨孟想, 刘让同, 李亮, 等. 机织物的热传递与强热条件下热防护性能[J]. 纺织学报, 2023, 44(11): 74-82.
doi: 10.13475/j.fzxb.20220506901
YANG Mengxiang, LIU Rangtong, LI Liang, et al. Heat transfer and thermal protection performance of woven fabrics under strong heat conditions[J]. Journal of Textile Research, 2023, 44 (11): 74-82.
doi: 10.13475/j.fzxb.20220506901
[24] 卢涛. 新型高温碳化炉热—力耦合效应分析及结构优化设计[D]. 哈尔滨: 哈尔滨工业大学, 2019: 11-14.
LU Tao. Analysis of thermal mechanical coupling effect and structural optimization design of a new high-temperature carbonization furnace[D]. Harbin: Harbin Institute of Technology, 2019: 11-14.
[25] 李俊宁, 胡子君, 孙陈诚, 等. 高超声速飞行器隔热材料技术研究进展[J]. 宇航材料工艺, 2011, 41(6): 10-13,31.
LI Junning, HU Zijun, SUN Chencheng, et al. Research progress on insulation material technology for hypersonic aircraft[J] Aerospace Materials and Technology, 2011, 41 (6): 10-13,31.
[26] 祝诗洋, 潘栩, 钟业盛, 等. SiOC气凝胶/柔性陶瓷纤维复合材料的制备和性能[J]. 材料研究学报, 2022, 36(4): 298-306.
doi: 10.11901/1005.3093.2021.104
ZHU Shiyang, PAN Xu, ZHONG Yesheng, et al. Preparation and properties of SiOC aerogel/flexible ceramic fiber composites[J] Chinese Journal of Materials Research, 2022, 36 (4): 298-306.
doi: 10.11901/1005.3093.2021.104
[27] 黄红岩, 苏力军, 雷朝帅, 等. 可重复使用热防护材料应用与研究进展[J]. 航空学报, 2020, 41(12): 6-40.
HUANG Hongyan, SU Lijun, LEI Chaoshuai, et al. Application and research progress of reusable thermal protection materials[J] Acta Aeronautica ET Astronautica Sinica, 2020, 41 (12): 6-40.
[1] 李新荣, 韩鹏辉, 李瑞芬, 贾坤, 路元江, 康雪峰. 数字孪生在纺纱领域应用的关键技术解析[J]. 纺织学报, 2023, 44(10): 214-222.
Viewed
Full text


Abstract

Cited

  Shared   
  Discussed   
No Suggested Reading articles found!