Journal of Textile Research ›› 2022, Vol. 43 ›› Issue (09): 21-26.doi: 10.13475/j.fzxb.20220400606

• Invited Column: Textile Intelligent Manufacturing and Robotics • Previous Articles     Next Articles

Key technology for yarn automatic splicer

MAO Huimin, SUN Lei, TU Jiajia, SHI Weimin()   

  1. The Center for Engineering Technology of Modern Textile Machinery & Technology of Ministry of Education, Zhejiang Sci-Tech University, Hangzhou, Zhejiang 310018, China
  • Received:2022-04-01 Revised:2022-05-12 Online:2022-09-15 Published:2022-09-26
  • Contact: SHI Weimin E-mail:swm@zstu.edu.cn

Abstract:

The existing splicing devices in knitting workshops are only applicable to some limited yarn types and it is difficult to splice automatically on the yarn frame. This research simulated the manual knotting process and designed a small mechanical splicer consisting of negative pressure thread suction, thread pressing, tensioning, mechanical knotting and thread picking mechanism. In parallel to the analysis of construction and motion principle of the knotting and thread picking mechanisms, the knotting method and process were simulated and analyzed, leading to the development of a prototype for experimental testing. The experimental results show that the mechanical splicer can simulate the manual knotting by using the interplay between the knotting mechanism and the thread picking mechanism to draw and join two yarns together, and the success rate of knotting is higher than 99%, and it is structurally compact and applicable for wide range yarn types.

Key words: automatic splicing, mechanical knotting, knotting mechanism, thread picking mechanism, yarn splicing, smart manufacturing

CLC Number: 

  • TS103.7

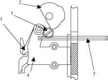
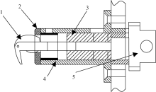
Fig.1

Principle of yarn splicing"

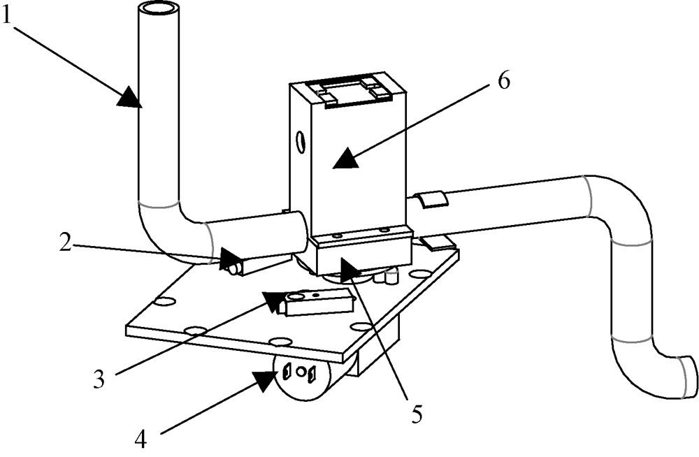
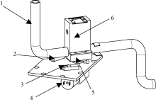
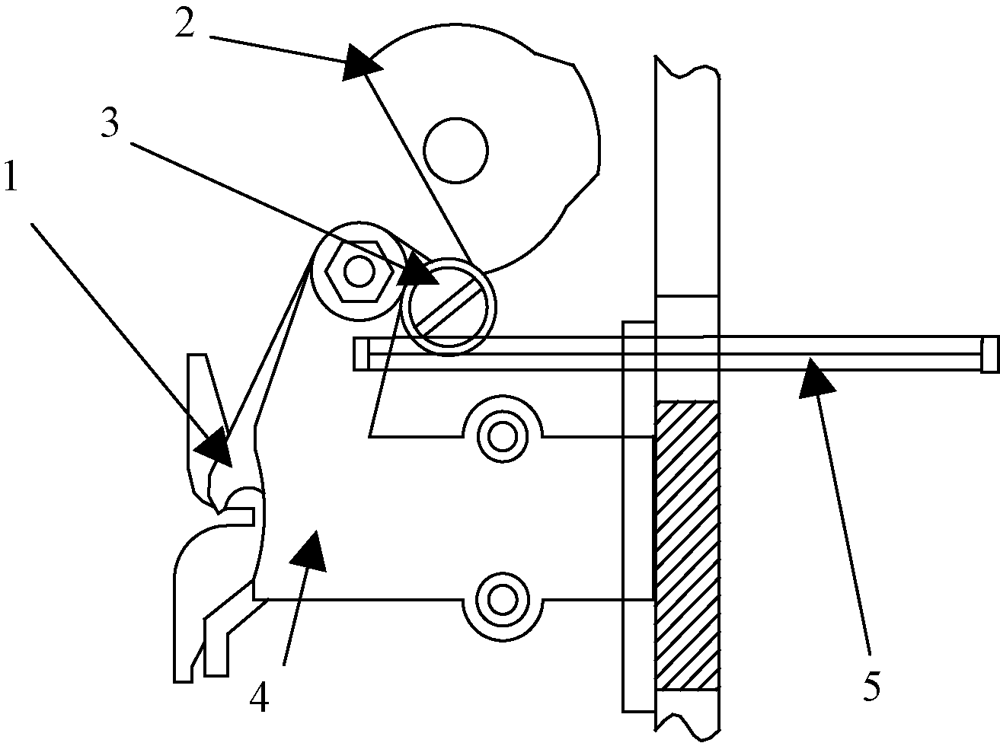
Fig.2

Diagram of splicer"

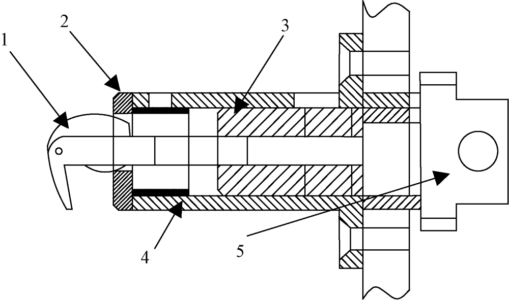
Fig.3

Knotting knife parts structure diagram"

Fig.4

Knotting knife profile curve(a) and knotting knife guide groove trajectory curve(b)"

Fig.5

Schematic diagram of structure of thread picking components"

Fig.6

Sketch of thread picking convex contour line (a) and thread picking mechanism(b)"

Fig.7

Schematic diagram of thread suction mechanism"

Fig.8

Simulation results of different nozzle shapes. (a) Squareness; (b) Oval; (c) Roundness"

Fig.9

Simulation results for different inner diameter nozzles. (a) Inner diameter is 6 mm; (b) Inner diameter is 16 mm"

Fig.10

Thread pressing mechanism diagram"

Fig.11

Sketch of transmission mechanism"

Fig.12

Knotting knife knotting process diagram. (a) Rotates 90°; (b) Rotates 270°; (c) Rotates 360°; (d) Rotates 540°"

Fig.13

Yarn knotting process. (a) Experiment platform; (b) Knotting knife rotates 270°; (c) Knotting knife rotates 540°; (d) Knotting knife rotates 720°"

Fig.14

Results of different yarn splicing. (a) Same yarn splicing results 1; (b) Same yarn splicing results 2; (c) Results of different types of yarn splicing"

[1] 梁艺荧, 何勇, 叶太强, 等. 纱线自动接头关键机构分析[J]. 上海纺织科技, 2020, 48(1): 18-21.
LIANG Yiying, HE Yong, YE Taiqiang, et al. Mechanism analysis of autoconer yarn piecing[J]. Shanghai Textile Science & Technology, 2020, 48(1): 18-21.
[2] CHENG K P S, LAM H L I. Strength of pneumatic spliced polyester/cotton ring spun yarns[J]. Textile Research Journal, 2020, 70(3): 243-246.
doi: 10.1177/004051750007000311
[3] UYANIK S. A research on determining optimum splicing method in terms of fiber types and yarn count[J]. Tekstil ve Konfeksiyon, 2019, 29(1): 22-33.
[4] BERLIN Jinu C K, KANDASAMY Thangamani. CFD simulation analysis of pneumatic splicer[J]. Journal of Engineering, 2017. DOI: 10.1049/joe.2017.0226.
doi: 10.1049/joe.2017.0226
[5] CAVE G E, FRASER W B. The effect of yarn elasticity on the stability of the two-for-one twister balloon[J]. The Journal of The Textile Institute, 2011, 102(5): 373-388.
doi: 10.1080/00405001003790929
[6] 罗栋胜. 粗纱自动打结装置的研究[D]. 上海: 东华大学, 2014:33-42.
LUO Dongsheng. Research on automatic knotting device for roving[D]. Shanghai: Donghua University, 2014:33-42.
[7] 俞鹏飞. 基于磁悬浮的纱线打结器关键技术研究[D]. 上海: 东华大学, 2021:14-16.
YU Pengfei. Research on key technology of yarn knotter based on magnetic levitation[D]. Shanghai: Donghua University, 2021:14-16.
[8] 黄杰. 蚕丝打结机器人动力学的仿真与实验研究[D]. 北京: 北京工业大学, 2018:13-29.
HUANG Jie. Dynamic simulation and experimental research on silk knot robot[D]. Beijing: Beijing University of Technology, 2018:13-29.
[9] 赵文锐, 贺秋森, 张婧怡, 等. 纱线打结拓扑结构的稳定性研究[J]. 棉纺织技术, 2021, 49(8): 22-25.
ZHAO Wenrui, HE Qiusen, ZHANG Jingyi, et al. Study on stability of yarn knotting network topology[J]. Cotton Textile Technology, 2021, 49(8): 22-25.
[10] PATIL V P, SANDT J D, KOLLE M, et al. Topological mechanics of knots and tangles[J]. Science, 2020, 367(6473): 71-75.
doi: 10.1126/science.aaz0135
[1] ZHANG Jie, XU Chuqiao, WANG Junliang, ZHENG Xiaohu. Advancement in data-driven intelligent control system for roboticized textile production [J]. Journal of Textile Research, 2022, 43(09): 1-10.
[2] GAO Xiaofei, QI Lizhe, SUN Yunquan. Design of shape-following manipulator for three-dimensional sewing of flexible fabrics [J]. Journal of Textile Research, 2022, 43(09): 27-33.
[3] LIU Feng, XU Jie, KE Wenbo. Real-time dynamic scheduling for garment sewing process based on deep reinforcement learning [J]. Journal of Textile Research, 2022, 43(09): 41-48.
Viewed
Full text


Abstract

Cited

  Shared   
  Discussed   
No Suggested Reading articles found!