Journal of Textile Research ›› 2023, Vol. 44 ›› Issue (10): 53-59.doi: 10.13475/j.fzxb.20220506101

• Textile Engineering • Previous Articles     Next Articles

Preparation of shape memory polyurethane/polyamide covered yarn and properties of compression socks

WANG Yaqian1, WAN Ailan1(), ZENG Deng2, WU Guangjun1, QI Qian2   

  1. 1. Engineering Research Center for Knitting Technology, Ministry of Education, Wuxi, Jiangsu 214122, China
    2. Lianyungang LDZ New Ao Shen Spandex Co., Ltd., Lianyungang, Jiangsu 222069, China
  • Received:2022-05-19 Revised:2022-08-22 Online:2023-10-15 Published:2023-12-07

Abstract:

Objective As a new functional knitted product, compression socks exert pressure on human legs through deformation, which can help lower limb vascular reflux and reduce tissue edema, thus improving lower limb venous pressure and promoting blood circulation. In order to improve the comfort of conventional compression socks, shape memory polyurethane filament (SMPU), whose glass transition temperature is close to the surface temperature of human body, was used to prepare and design SMPU compression socks with three fleecy ratios.

Method In this paper, SMPU/polyamide(SMPU/PA) covered yarn and cotton yarn were used to knit the stocking part of the compression sock by a two-thread fleecy stitch. The glass transition temperature, shape memory properties, tensile strength and elastic recovery properties of SMPU and SMPU/PA covered yarn were evaluated. The influence of the fleecy ratio and the feeding tension of the fleecy yarn of SMPU compression socks on the pressure at the thinnest pressure test point B of human ankle was investigated.

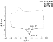
Results The DSC curves showed that the transition temperature of SMPU was 32.15 ℃(Fig. 5), which was close to the human body surface temperature of 34 ℃. While the shape fixity ratio and shape recovery ratio of SMPU were 90% and 91%, the shape fixity ratio and shape recovery ratio of SMPU/PA covered yarn were 85% and 89%, respectively. The elastic recovery rate and breaking strength of SMPU/PA covered yarn were increased by 24.76% and decreased by 18.56% while the pressure of the stocking part of the SMPU compression sock increased by 16.26% when the test temperature was above glass transition temperature compared with that below glass transition temperature. The pressure test data showed that at a feeding tension of 6 cN, the compression sock with a fleecy ratio of 1∶3 had a maximum pressure increase of 11% compared to that with a fleecy ratio of 1∶1(Fig. 6). A long float stitch allowed more room for the internal stresses stored in the SMPU to be released, and the SMPU could reach the maximum variation in length, resulting in the largest pressure. At a fleecy ratio of 1∶3, the pressure of the SMPU compression sock with a feeding tension of 8 cN was increased by 30% compared to that of 4 cN. When the feeding tension was increased, the content of SMPU/PA covered yarn fed into the sock was risen, and thus the pressure of the compression sock increased. When the fleecy ratio was 1∶3 and the yarn feeding tension was 8 cN, the maximum pressure of SMPU compression socks reached 2 841 Pa.

Conclusion The shape memory performance of SMPU can be triggered by body surface temperature. Both SMPU and SMPU/PA covered yarn have good shape memory performance that are suitable for fabrics and clothing. The SMPU compression socks are easier to wear because SMPU can fix large deformation and the deformation can recover by internal stress release after the temperature rise. When the fleecy ratio of the two-thread fleecy in the stocking part is 1∶3 and the feeding tension of the fleecy yarn is 8 cN, the SMPU/PA content is the highest, and the float length is the longest, and the pressure of the socks knitting parameter will be the highest. The pressure of the SMPU compression socks in this study meets the requirements of FZ/T 73031—2009 for the thinnest pressure test point B of the ankle circumference.

Key words: polyurethane/polyamide covered yarn, compression sock, glass transition temperature, plain backing structure, fleecy ratio, yarn feeding tension

CLC Number: 

  • TS182.5

Fig. 1

Plain weave pad weave. (a) Schematic diagram of plain weave pad weave; (b) 1∶1 padding; (c) 1∶2 padding; (d) 1∶3 padding"

Tab. 1

Specification parameters of pressure socks"

样品名称 衬垫纱 送纱张力/cN 衬垫比
PU压力袜 PU包覆纱 4、5、6、7、8 1∶1、1∶2、1∶3
SMPU压力袜 SMPU包覆纱 4、5、6、7、8 1∶1、1∶2、1∶3

Fig. 2

Physical map of compression socks"

Fig. 3

Pressure test device. (a) Model picture; (b) MFF multi-point membrane pressure test system"

Fig. 4

Pressure test point"

Fig. 5

Differential scanning calorimetric curves of SMPU"

Tab. 2

Test results of elastic recovery performance of covered yarn%"

包覆纱 弹性回复率 塑性变形率
20 ℃ 34 ℃ 20 ℃ 34 ℃
PU/PA 62.31 63.22 37.69 36.78
SMPU/PA 46.40 57.89 53.60 42.11

Tab. 3

Test results of tensile properties of covered yarn"

包覆纱 断裂强力/cN 断裂伸长率/%
20 ℃ 34 ℃ 20 ℃ 34 ℃
PU/PA 309.20 304.10 32.68 32.04
SMPU/PA 407.70 332.00 42.85 36.20

Fig. 6

Stress test results for PU compression socks. (a) Pressure at 20 ℃; (b) Pressure at 34 ℃"

Fig. 7

Stress test results for SMTU compression socks. (a) Pressure at 20 ℃; (b) Pressure at 34 ℃"

[1] 刘晓凤, 张倩, 王璐. 医用压力袜的结构特征及其研究进展[J]. 生物医学工程学进展, 2019, 40(2): 78-82.
LIU Xiaofeng, ZHANG Qian, WANG Lu. Structural characteristics and research progress of medical compression stockings[J]. Advances in Biomedical Engineering, 2019, 40(2): 78-82.
[2] HAFNER J, LUTHI W, HANSSLE H, et al. Instruction of compression therapy by means of interface pressure measurement[J]. Dermatologic Surgery, 2000, 26(5): 481-486.
pmid: 10816239
[3] 邹菲. 压力袜的测试方法比较与分析[J]. 纺织检测与标准, 2020(4): 32-37.
ZOU Fei. Comparison and analysis of test methods for pressure socks[J]. Textile Testing and Standard, 2020(4): 32-37.
[4] 丁雪梅, 胡金莲. 形状记忆聚氨酯与普通聚氨酯的区别[J]. 纺织学报, 2000, 21(4): 56-59.
DING Xuemei, HU Jinlian. The difference between shape memory polyurethane and ordinary polyurethane[J]. Journal of Textile Research, 2000, 21(4): 56-59.
[5] 崔航, 王锋, 胡剑青, 等. 形状记忆聚氨酯材料的研究进展[J]. 材料导报, 2017, 31(3): 1-6,31.
CUI Hang, WANG Feng, HU Jianqing, et al. Research progress of shape memory polyurethane[J]. Material Guide, 2017, 31(3): 1-6, 31.
[6] 全琼瑛, 胡金莲, 吕晶. 高紧度形状记忆纤维/棉机织物的记忆性能[J]. 纺织学报, 2013, 34(7): 57-61.
QUAN Qiongying, HU Jinlian, LÜ Jing. Memory properties of shape memory fiber/cotton woven fabrics with high tightness[J]. Journal of Textile Research, 2013, 34(7): 57-61.
[7] KUMAR B, HU J L, PAN N. Smart medical stocking using memory polymer for chronic venous disorders[J]. Biomaterials, 2016, 75: 174-181.
doi: S0142-9612(15)00836-4 pmid: 26513411
[8] NARAYANA H, HU J L, KUMAR B, et al. Designing of advanced smart medical stocking using stress-memory polymeric filaments for pressure control and massaging[J]. Mat Sei Eng C-Mater, 2018, 91: 263-273.
[9] 胡金莲, 张斌, 曾登, 等. 半晶型形状记忆聚合物及聚氨酯弹性纤维的制备方法:202111208737.9[P]. 2022-03-04.
HU Jinlian, ZHANG Bin, ZENG Deng, et al. Preparation method of semi-crystalline shape memory polymer and polyurethane elastic fiber:202111208737.9[P]. 2022-03-04.
[10] 逄见光, 王刚, 曲明, 等. 形状记忆聚合物机理、表征与多形状记忆效应的研究进展[J]. 材料工程, 2018, 46(5): 64-71.
doi: 10.11868/j.issn.1001-4381.2016.001417
PANG Jianguang, WANG Gang, QU Ming, et al. Research progress on the mechanism, characterization and multi-shape memory effect of shape memory polymers[J]. Materials Engineering, 2018, 46(5): 64-71.
[11] 胡金莲. 形状记忆纺织材料[M]. 北京: 中国纺织出版社, 2006: 125-167.
HU Jinlian. Shape memory textile materials[M]. Beijing: China Textile & Apparel Press, 2006: 125-167.
[12] 何紫琴, 张倩, 牛文鑫, 等. 基于压力织物的地组织用包覆纱的成型[J]. 上海纺织科技, 2021, 49(12): 26-30.
HE Ziqin, ZHANG Qian, NIU Wenxin, et al. Forming of ground weaving coated yarn based on pressure fabric[J]. Shanghai Textile Science & Technology, 2021, 49 (12): 26-30.
Viewed
Full text


Abstract

Cited

  Shared   
  Discussed   
No Suggested Reading articles found!