纺织学报 ›› 2022, Vol. 43 ›› Issue (07): 41-46.doi: 10.13475/j.fzxb.20210803207

• 纺织工程 • 上一篇    下一篇

空心锭包覆纺纱的芯纱残留捻回及其应用

敖利民1(), 楼焕2, 唐雯3   

  1. 1.嘉兴学院 材料与纺织工程学院, 浙江 嘉兴 314001
    2.上海工程技术大学 纺织服装学院, 上海 201620
    3.嘉兴学院 商学院, 浙江 嘉兴 314001
  • 收稿日期:2021-08-04 修回日期:2021-11-11 出版日期:2022-07-15 发布日期:2022-07-29
  • 作者简介:敖利民(1969—),男,教授,博士。主要研究方向为纺织新工艺、新技术与新产品。E-mail: aolimin@126.com
  • 基金资助:
    浙江省纱线材料成形与复合加工技术研究重点实验室开放基金项目(MTC-2022-01)

Residual twist of core yarn and its application in hollow spindle cover spinning

AO Limin1(), LOU Huan2, TANG Wen3   

  1. 1. College of Materials and Textile Engineering, Jiaxing University, Jiaxing, Zhejiang 314001, China
    2. School of Textiles and Fashion, Shanghai University of Engineering Science, Shanghai 201620, China
    3. College of Business, Jiaxing University, Jiaxing, Zhejiang 314001, China
  • Received:2021-08-04 Revised:2021-11-11 Published:2022-07-15 Online:2022-07-29

摘要:

为探讨空心锭包覆纺纱过程中外包缠纱对芯纱的假捻作用与应用,以黑、白两色涤纶长丝纱组成双芯纱,黑色涤纶长丝纱为外包缠纱,纺制了不同纺纱工艺的包覆纱,分析了芯纱残留捻回的捻向和捻度特征以及锭速、引纱速度、芯纱张力对芯纱残留捻度的影响;对利用芯纱残留捻度纺制段彩纱的原理与段彩特征进行了探讨,并给出了应用实例。结果表明:外包缠纱对芯纱缠绕的假捻作用,会使芯纱上形成残留捻向变化、捻度不等的捻回分布;残留捻回的捻度随锭速的增大、引纱速度的降低、芯纱张力的减小而增大;利用芯纱残留捻回的片段呈色效应,可用异色芯纱纺制具有段彩外观的“纱/纱”复合段彩纱,这种段彩纱具有区别于常规段彩纱的“闪色”特征。

关键词: 空心锭包覆纺纱, 芯纱, 假捻作用特征, 残留捻回, 复合段彩纱

Abstract:

In order to explore the characteristics and application of the false twist effect of the outer wrapping yarn on the core yarn in hollow spindle cover spinning process, covered yarns of different processes were produced with black and white polyester filament yarns as the double core yarn, and the black polyester filament yarn being the outer wrapping yarn. The influence of twist direction and twist number characteristics of core yarn as well as the spindle speed, yarn take-up speed and core yarn tension on core yarn residual twist were analyzed. The principle spinning segment color yarn with core yarn residual twist and the characteristics of segment color were discussed with exemplified applications. The results show that the false twist effect of the outer wrapping yarn on the core yarn causes the residual twist to be unevenly distributed in the core yarn. The twist number of the residual twist increases with the rise in the spindle speed, the slowing down of the take-up speed and reduction of the core yarn tension. Using the "fragment coloring" effect of the core yarn residual twist, the "yarn/yarn" composite segment color yarn with a segment color appearance can be spun from the different color core yarns, and the composite yarn has the characteristic of "flashing color" which is different from the conventional segment colored yarns.

Key words: hollow spindle cover spinning, core yarn, false twist effect, residual twist, segment colored yarns

中图分类号: 

  • TS104.1

图1

异色双纱并合—加捻分色—包缠—片段呈色原理"

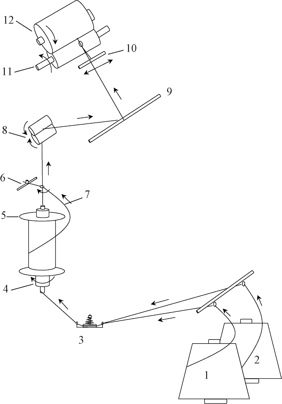
图2

纺纱原理图 1,2—芯纱筒子; 3—弹簧式张力器; 4—空心锭; 5—锭管; 6—汇合导纱钩; 7—外包缠纱; 8—引纱辊; 9—导纱杆; 10—横动导纱器; 11—卷绕辊; 12—管纱。"

图3

“(白+黑)白”复合纱纱卡"

表1

不同锭速复合纱黑色色段测试结果"

锭速/(r·min-1) 包缠捻度/(捻·m-1) 黑色段数量
均值/个 CV值/%
15 000 600 8.0 1.9
12 500 500 6.2 1.6
9 275 375 5.0 1.2
7 500 300 3.4 1.2

表2

不同引纱速度复合纱黑色色段测试结果"

引纱速度/(m·min-1) 包缠捻度/(捻·m-1) 黑色段数量
均值/个 CV值/%
50 300 5.5 1.8
30 500 8.0 1.9
25 600 8.0 1.9
20 750 9.1 1.8

表3

不同芯纱张力复合纱黑色色段测试结果"

芯纱张力 黑色段数量
均值/个 CV值/%
张力1 8.0 1.9
张力2 6.7 2.2
张力3 5.4 1.4
张力4 4.4 1.3

图4

蚕丝段彩复合纱纱卡"

图5

亚麻/涤长丝复合段彩纱纱卡"

[1] 敖利民, 唐雯. 空心锭包覆纺纱的顺向包缠作用特征[J]. 纺织学报, 2021, 42(11):39-45.
AO Limin, TANG Wen. Characteristics of forward wrapping of hollow spindle covered spinning[J]. Journal of Textile Research, 2021, 42(11): 39-45.
[2] HRISTINA Konova, RADOSTINA Angelova. False-twister as a yarn formation factor in wrap spinning[J]. Textile Research Journal, 2013, 83(18) :1926-1935.
doi: 10.1177/0040517513481865
[3] LI Xin, ZHANG Jianchun, LI Jiexin. Differential-twist wrapped yarns made on a hollow spindle spinning machine[J]. Textile Research Journal, 2002(2): 181-185.
[4] 郁崇文. 纺纱学[M]. 2版. 北京: 中国纺织出版社, 2017:137-138.
YU Chongwen. Spinning[M]. 2nd ed. Beijing: China Textile & Apparel Press, 2017: 137-138.
[5] 敖利民, 唐雯, 王爱林. 亚麻/有色涤纶长丝包缠复合纱的外观与性能[J]. 纺织学报, 2019, 40(8):40-47.
AO Limin, TANG Wen, WANG Ailin. Design, spinning and its properties of wrapping-colored linen composite yarn[J]. Journal of Textile Research, 2019, 40(8): 40-47.
[6] 敖利民, 江魁, 郁崇文, 等. 包缠法控制苎麻纱毛羽的研究[C]// 第十七届全国新型纺纱学术会论文集. 北京: 中国纺织工程学会, 2014:225-232.
AO Limin, JIANG Kui, YU Chongwen, et al. Study on controlling hairiness of ramie yarn by wrapping method[C]// Proceedings of The 17th National Conference on New Spinning. Beijing: China Textile Engineering Society, 2014: 225-232.
[7] LIU Xinjin, ZHANG Hong, SU Xuzhong. Research on evenness of section-color yarn[J]. The Journal of The Textile Institute, 2014, 105 (12): 1272-1278.
doi: 10.1080/00405000.2014.886367
[8] LIAN Jun, XU Bojun, XIE Chunping. Technique to produce segment-color yarn with ring frame[J]. Advanced Materials Research, 2011, 332-334: 72-76.
[9] 郭明瑞, 李沛赢, 孙丰鑫, 等. 双色变换段彩纱成纱原理及其共混段长度与强度的影响因素[J]. 纺织学报, 2019, 40(9):30-35.
GUO Mingrui, LI Peiying, SUN Fengxin, et al. Spinning mechanism of two-color transformation segment color yarns and influencing factors on length and breaking tenacity of blend fragment[J]. Journal of Textile Research, 2019, 40(9): 30-35.
[10] 敖利民, 唐雯. 一种具有间色特征的麻灰包缠纱的加工方法及麻灰包缠纱:201810728836.1[P]. 2019-08-27.
AO Limin, TANG Wen.A method for processing hemp-gray wrapped yarn with inter-color characteristics and hemp-gray wrapped yarn: 201810728836.1[P]. 2019-08-27.
[11] 敖利民, 唐雯. 一种包缠复合混色段彩长丝纱的加工方法及长丝纱及装置:201810728810.7[P]. 2019-09-20.
AO Limin, TANG Wen. A processing method of wrapping composite mixed color segment color filament yarn and filament yarn and device:201810728810.7[P]. 2019-09-20.
[12] 敖利民, 唐雯.包缠结构亚麻、涤纶长丝段彩复合纱的加工方法及复合纱:201810728860.5[P]. 2019-11-12.
AO Limin, TANG Wen.Processing method of linen and polyester filament segment colored composite yarn with wrapping structure and composite yarn: 201810728860.5[P]. 2019-11-12.
[13] 敖利民, 唐雯.多色段彩亚麻、化纤长丝包缠复合纱的加工方法及复合纱及设备:201810728922.2[P]. 2019-08-06.
AO Limin, TANG Wen. Processing method, composite yarn and equipment of multi-color segment colored flax and chemical fiber filament wrapped composite yarn:201810728922.2[P]. 2019-08-06.
[1] 敖利民, 唐雯. 空心锭包覆纺纱的顺向包缠作用特征[J]. 纺织学报, 2021, 42(11): 39-45.
[2] 吴佳庆, 王迎, 郝新敏, 宫玉梅, 郭亚飞. 长丝喂入位置对赛络纺包芯纱结构与性能影响[J]. 纺织学报, 2021, 42(08): 64-70.
[3] 何建, 裴泽光, 周健, 熊祥章, 吕海辰. 喷气涡流纺金属丝包芯纱成纱过程的在线观测与分析[J]. 纺织学报, 2019, 40(05): 136-143.
[4] 曲华洋 谢春萍 徐伯俊 刘新金. 全聚赛络纺双芯纱及其弹性电磁屏蔽针织物的制备[J]. 纺织学报, 2018, 39(06): 52-57.
[5] 张岩 裴泽光 陈革. 喷气涡流纺金属丝包芯纱的制备及其结构与性能[J]. 纺织学报, 2018, 39(05): 25-31.
[6] 杜玲玲 李婷婷 潘婧 周宝明 . 芳纶/不锈钢长丝包芯纱织物的制备及其防刺性能[J]. 纺织学报, 2017, 38(06): 33-39.
[7] 李丹丹 权利军 金肖克 田伟 祝成炎. 氨纶与双组分复合长丝/棉包芯纱的拉伸弹性[J]. 纺织学报, 2017, 38(05): 31-36.
[8] 张晓娟 谢春萍 刘新金. 全聚赛络包芯纱工艺优化[J]. 纺织学报, 2015, 36(07): 28-35.
[9] 万爱兰 丛洪莲 蒋高明 钟君 王敏 . 包芯色纱性能及其对横编成形提花鞋面织物的影响[J]. 纺织学报, 2015, 36(07): 36-42.
[10] 朱立成;顾闻彦;葛明桥. 旋流纺闭合式纤维集聚机构的设计[J]. 纺织学报, 2008, 29(6): 105-108.
[11] 肖丰;李营建. 氨纶包芯纱蠕变性能测试与分析[J]. 纺织学报, 2007, 28(6): 48-51.
[12] 周蓉;吴保平. 竹浆纤维针织产品性能测试与分析[J]. 纺织学报, 2007, 28(2): 24-26.
[13] 梁蓉;林建华. 传统和赛络纺锦纶长丝包芯纱的比较[J]. 纺织学报, 2006, 27(8): 85-88.
[14] 吴绥菊;季晓雷;钱庆雨. 赛络纺棉/氨纶包芯纱工艺探讨[J]. 纺织学报, 2006, 27(3): 80-82.
[15] 石风俊;刘萍;张颖;沈晓来. 氨纶包芯纱拉伸性能建模的研究[J]. 纺织学报, 2005, 26(2): 56-58.
Viewed
Full text


Abstract

Cited

  Shared   
  Discussed   
[1] 赵良臣;闻涛. 旋转组织设计的数学原理[J]. 纺织学报, 2003, 24(06): 33 -34 .
[2] 曹建达;顾小军;殷联甫. 用BP神经网络预测棉织物的手感[J]. 纺织学报, 2003, 24(06): 35 -36 .
[3] 【作者单位】:中国纺织工程学会秘书处【分类号】:+【DOI】:cnki:ISSN:0-.0.00-0-0【正文快照】:  香港桑麻基金会设立的“桑麻纺织科技奖” 0 0 年提名推荐工作;在纺织方面院士;专家和有关单位的大力支持下;收到了 个单位 (人 )推荐的 位候选人的. 2003年桑麻纺织科技奖获奖名单[J]. 纺织学报, 2003, 24(06): 107 .
[4] 【分类号】:Z【DOI】:cnki:ISSN:0-.0.00-0-0【正文快照】:  一;纺 纱模糊控制纺纱张力的研究周光茜等 ( - )………………原棉含杂与除杂效果评价方法的研究于永玲 ( - )……网络长丝纱免浆免捻功能的结构表征方法李栋高等 ( - )……………. 2003年纺织学报第二十四卷总目次[J]. 纺织学报, 2003, 24(06): 109 -620 .
[5] 朱敏;周翔. 准分子激光对聚合物材料的表面改性处理[J]. 纺织学报, 2004, 25(01): 1 -9 .
[6] 黄立新. Optim纤维及产品的开发与应用[J]. 纺织学报, 2004, 25(02): 101 -102 .
[7] 邓炳耀;晏雄. 热压对芳纶非织造布机械性能的影响[J]. 纺织学报, 2004, 25(02): 103 -104 .
[8] 张治国;尹红;陈志荣. 纤维前处理用精练助剂研究进展[J]. 纺织学报, 2004, 25(02): 105 -107 .
[9] 秦元春. 纺织工业发展方向初探[J]. 纺织学报, 2004, 25(02): 108 -110 .
[10] 高伟江;魏文斌. 纺织业发展的战略取向——从比较优势到竞争优势[J]. 纺织学报, 2004, 25(02): 111 -113 .