纺织学报 ›› 2023, Vol. 44 ›› Issue (09): 161-167.doi: 10.13475/j.fzxb.20220503701

• 染整与化学品 • 上一篇    下一篇

聚乳酸非织造基材触摸传感电子织物制备及其性能

徐瑞东1, 王航1, 曲丽君1,2, 田明伟1,2()   

  1. 1.青岛大学 纺织服装学院, 山东 青岛 266071
    2.青岛大学 省部共建生物多糖纤维成形与生态纺织国家重点实验室, 山东 青岛 266071
  • 收稿日期:2022-05-11 修回日期:2023-02-09 出版日期:2023-09-15 发布日期:2023-10-30
  • 通讯作者: 田明伟 (1987—),男,教授,博士。主要研究方向为纤维新材料及智能纺织品的机制研究及产品应用。E-mail: mwtian@qdu.edu.cn
  • 作者简介:徐瑞东 (1994—),男,博士生。主要研究方向为智能传感织物。
  • 基金资助:
    国家自然科学基金项目(22208178);国家重点研发计划项目(2022YFB3805801);国家重点研发计划项目(2022YFB3805802);泰山学者工程专项经费项目(tsqn202211116);山东省重大科技创新工程项目(2019JZZY010335);山东省重大科技创新工程项目(2019JZZY010340);山东省青创科技创新团队项目(2020KJA013);山东省自然科学基金项目(ZR2020QE074);青岛市关键技术攻关及产业化示范类项目(23-1-7-zdfn-2-hz);青岛市市南区科技计划项目(2022-3-005-DZ);纺织行业智能纺织服装柔性器件重点实验室开放课题项目(SDHY2223)

Preparation and properties of polyactic acid nonwoven substrate touch-sensing electronic textile

XU Ruidong1, WANG Hang1, QU Lijun1,2, TIAN Mingwei1,2()   

  1. 1. College of Textiles and Clothing, Qingdao University, Qingdao, Shandong 266071, China
    2. State Key Laboratory of Bio-Fibers and Eco-Textiles, Qingdao University, Qingdao, Shandong 266071, China
  • Received:2022-05-11 Revised:2023-02-09 Published:2023-09-15 Online:2023-10-30

摘要:

针对现有薄膜状、硅胶基触摸传感器件抗弯折性差、热湿舒适性不佳等问题,提出了采用柔软亲肤的聚乳酸非织造材料为基材构筑柔性触摸传感电子织物的研究策略,构建聚丙烯酰胺-氯化锂离子水凝胶双向离子导电体系,采用芯吸沉积效应制备石墨烯导电非织造织物,复合形成层叠结构电子织物,研究触摸传感电子织物对触摸动作的识别及不同机械形变对触摸信号的影响规律。结果表明:触摸传感电子织物可定位识别触摸动作;响应时间仅为25 ms,表现出优异的响应速度;在不同速度触摸下,触摸信号波动率仅为5%,表现出优异的稳定性。弯曲循环500次后,触摸传感电子织物的触摸性能仍维持恒定,表现出优异的抗干扰性。此外,触摸传感电子织物具有优异的热湿舒适性,可长期穿戴。基于此,触摸传感电子织物可实现显示界面的控制功能,在可穿戴人机交互领域具有广阔的发展潜力。

关键词: 离子水凝胶, 石墨烯, 导电非织造布, 柔性电子织物, 触摸传感

Abstract:

Objective Touch-sensing devices are the most promising technology for human-computer interaction. However, current touch-sensing devices still suffer from poor bending resistance and low comfort due to the use thin films or silicone as substrate. Herein, this work proposes a novel strategy to breakthrough above bottleneck. PLA nonwoven materials with skin-friendly is used as substrate and combined with intrinsically flexible ionic hydrogels to develop a touch-sensing electronic textile with wearable comfort and resistance to deformation interference.

Method The touch-sensing electronic textile is a typical sandwich structure, where the ionic hydrogel is encapsulated by the upper and lower polylactic acid nonwoven layers. The ionic hydrogel is polymerized by acrylamide and lithium chloride under a thermal environment. It is noteworthy that the upper PLA nonwoven layer possesses conductive properties, which is a result of the uniform deposition of graphene nanosheet layers on the PLA fiber surface using the core-absorption deposition effect. The touch-sensing electronic textile has precise touch localization capability, which stems from the construction of a uniform low-voltage AC electric field on the surface of the touch-sensing electronic textile. When the human body touches the surface of the electronic fabric, a coupling capacitance is formed, which trigger the flow of current from the electrodes to the touch point. Owing to the surface capacitive sensing mechanism and the selected intrinsically flexible material, the touch-sensing electronic textile is resistant to bending and comfortable to wear.

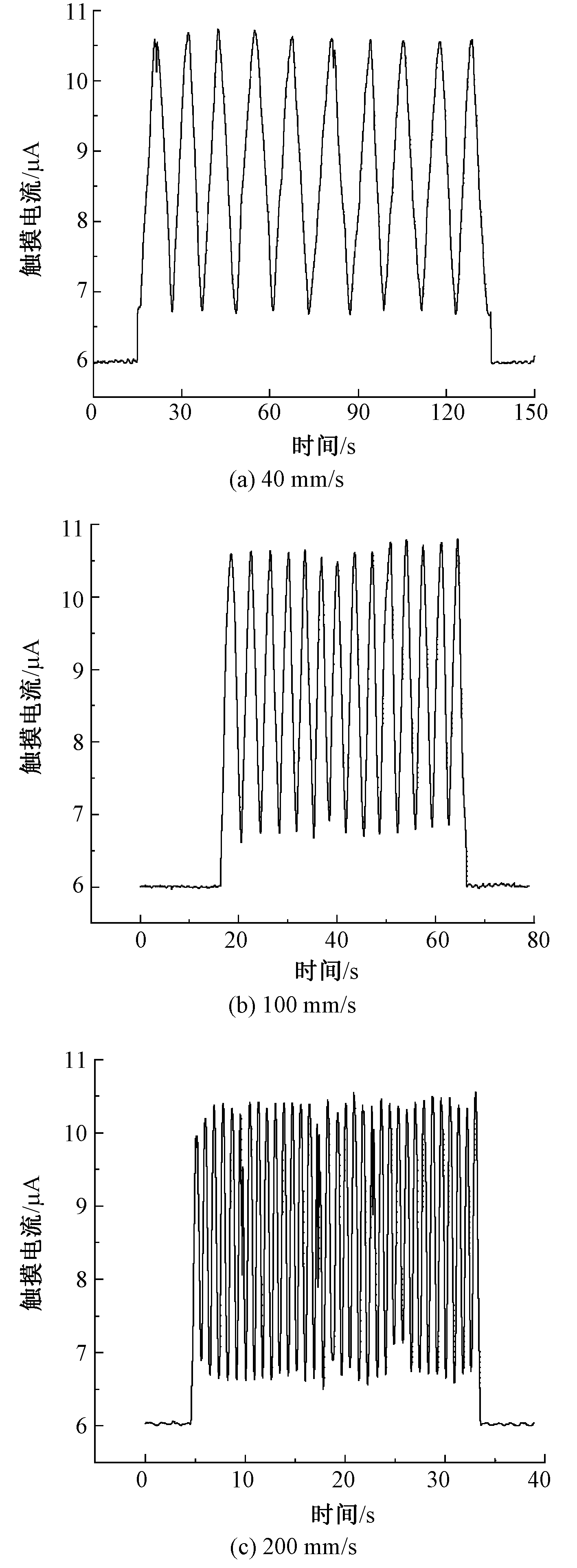
Results The results show that the touch-sensing electronic textile can recognize the locations of touch points, and an example test was designed for illustration. Five points were selected at equal intervals on the fabric named 1#—5#, respectively. When the points 1#—5# were touched on, the touch current monitored by the A1 ammeter showed a decreasing tendency (from 8.08 μA to 7.61 μA), while the A2 touch current demonstrated an increasing trend (from 7.68 μA to 8.05 μA). It is noteworthy that the touch currents monitored by the two ammeters at the midpoint are approximately equal in magnitude at 7.85 μA and 7.84 μA, respectively (Fig. 3). Response speed is a crucial parameter to wearable interaction devices. As excepted, the touch-sensing electronic textile demonstrated an excellent response speed. In particular, the touch-sensing electronic textile showed response time of about 25 ms. Besides, the touch-sensing electronic textile has brilliant release time of about 31 ms. This result illustrates that the touch-sensing electronic textile has great advantages in the wearable field (Fig. 4). At the same time, the touch-sensing electronic fabric showed stable touch performance. Three different sliding velocities (40, 100 and 200 mm/s) were selected to observe the change law of touch current. The results revealed that the maximum fluctuation of touch current at the same slip speed was only 5 % (Fig. 5). In addition, the touch sensing electronic fabric illustrated bending resistance. The touch-sensing electronic textile was subjected to 0, 50, 150, 300 and 500 bending cycles, respectively. The midpoint of the touch-sensing electronic textile was selected as the touch point to monitor its current changes. The touch current at the midpoint was 7.86 μA, when no bending deformation was applied. Then the touch currents at the midpoint were 7.97, 7.96, 7.95 and 7.98 μA when different cycles of bending deformation were applied sequentially. The above results suggested that the touch-sensing electronic textile had anti-deformation characteristics (Fig. 6). Further, thermal and humid comfort is an important characteristic of wearable devices and a key index to evaluate the microenvironment of the wearable interface. After the touch-sensing electronic textile was attached to the arm for a period of time, the skin surface morphology was observed (Fig. 7). After wearing the touch sensing electronic fabric for 48 h, the surface temperature of the covered skin does not change significantly, which proves that the nonwoven material-based touch sensing electronic fabric has excellent thermal and wet comfort.

Conclusion The touch-sensing electronic-textile can accuracy locate and recognize the touching points, attributing to the surface capacitive touch-sensing mechanism. Meanwhile, the touch-sensing electronic-textile exhibits excellent response speed (< 25 ms), mechanical stability and anti-interference properties. In addition, the touch-sensing electronic-textile exhibits excellent wearing comfort by virtue of the polyactic acid nonwoven substrate material. As a proof-of-concept, the touching controllers have been fabricated to achieve real-time game control function. Based on this, this work opens a new path for flexible touch sensing devices and has great potential in the field of wearable interaction.

Key words: ionic hydrogel, graphene, conductive nonwoven fabric, flexible electronic textile, touch-sensing

中图分类号: 

  • TM242

图1

触摸传感电子织物的表面形貌"

图2

触摸传感电子织物触摸定位功能 a—织物触摸界面;b—织物结构;c—织物定位原理"

图3

触摸传感电子织物触摸电流变化规律"

图4

触摸传感电子织物的响应时间"

图5

不同滑移速度下触摸传感电子织物触摸性能的稳定性能"

图6

多次弯曲循环下触摸传感电子织物触摸电流变化情况"

图7

触摸传感电子织物和PDMS的热湿舒适性"

图8

触摸传感电子织物显示界面控制展示"

[1] XU Jiandong, LI Xiaoshi, CHANG Hao, et al. Electrooculography and tactile perception collaborative interface for 3D human-machine interaction[J]. ACS Nano, 2022, 16(4): 6687-6699.
doi: 10.1021/acsnano.2c01310 pmid: 35385249
[2] SHU Quan, XU Zhenbang, LIU Shuai, et al. Magnetic flexible sensor with tension and bending discriminating detection[J]. Chemical Engineering Journal, 2022. DOI:10.1016/j.cej.2021.134424.
[3] KANG Minpyo, KIM Jejung, JANG Bongkyun, et al. Graphene-based three-dimensional capacitive touch sensor for wearable electronics[J]. ACS Nano, 2017, 11(8): 7950-7957.
doi: 10.1021/acsnano.7b02474 pmid: 28727414
[4] LING Hao, CHEN Ruwei, HUANG Quanbo, et al. Transparent, flexible and recyclable nanopaper-based touch sensors fabricated via inkjet-printing[J]. Green Chemistry, 2020, 22(10): 3208-3215.
doi: 10.1039/D0GC00658K
[5] PANG Yaokun, XU Xianchen, CHEN Shoue, et al. Skin-inspired textile-based tactile sensors enable multifunctional sensing of wearables and soft robots[J]. Nano Energy, 2022. DOI:10.1016/j.nanoen.2022.107137.
[6] ZHANG Lun, ZHANG Xiaoyu, ZHANG Huiyuan, et al. Semi-embedded robust MXene/AgNW sensor with self-healing, high sensitivity and a wide range for motion detection[J]. Chemical Engineering Journal, 2022. DOI: 10.1016/j.cej.2022.134751.
[7] ZHANG Yuan, YANG Junlong, HOU Xingyu, et al. Highly stable flexible pressure sensors with a quasi-homogeneous composition and interlinked interfaces[J]. Nature Communications, 2022. DOI: 10.1038/s41467-022-29093-y.
[8] FU Min, ZHANG Jianming, JIN Yuming, et al. A highly sensitive, reliable, and high-temperature-resistant flexible pressure sensor based on ceramic nanofibers[J]. Advanced Science, 2020. DOI: 10.1002/advs.202000258.
[9] XU Shuhan, ZHAO Huiqi, LI Qing, et al. Multi-dimensional, transparent and foldable cellulose-based triboelectric nanogenerator for touching password recognition[J]. Nano Energy, 2022. DOI: 10.1016/j.nanoen.2022.107307.
[10] ZHAO Xuan, ZHANG Zheng, LIAO Qingliang, et al. Self-powered user-interactive electronic skin for programmable touch operation platform[J]. Science Advances, 2020. DOI: 10.1126/sciadv.aba4294.
[11] YOO D, WON D J, CHO W, et al. Double side electromagnetic interference-shielded bending-insensitive capacitive-type flexible touch sensor with linear response over a wide detection range[J]. Advanced Materials Technologies, 2021. DOI: 10.1002/admt.202100358.
[12] WON D J, YOO D, KIM J. Effect of a microstructured dielectric layer on a bending-insensitive capacitive-type touch sensor with shielding[J]. ACS Applied Electronic Materials, 2020, 2(3): 846-854.
doi: 10.1021/acsaelm.0c00015
[13] KIM Y, KIM J W. Silver nanowire networks embedded in urethane acrylate for flexible capacitive touch sensor[J]. Applied Surface Science, 2016, 363: 1-6.
doi: 10.1016/j.apsusc.2015.11.052
[14] KIM S J, PHUNG T H, KIM S, et al. Low-cost fabrication method for thin, flexible, and transparent touch screen sensors[J]. Advanced Materials Technologies, 2020. DOI: 10.1002/admt.202000441.
[15] KIM C C, LEE H H, OH KYU H, et al. Highly stretchable, transparent ionic touch panel[J]. Science, 2016, 353(6300): 682-687.
doi: 10.1126/science.aaf8810
[16] GAO Guorong, YANG Fangjian, ZHOU Fenghua, et al. Bioinspired self-healing human-machine interactive touch pad with pressure-sensitive adhesiveness on targeted substrates[J]. Advanced Materials, 2020. DOI: 10.1002/adma.202004290.
[17] YOON H J, LEE D M, KIM Y J, et al. Mechanoreceptor-inspired dynamic mechanical stimuli perception based on switchable ionic polariza-tion[J]. Advanced Functional Materials, 2021. DOI: 10.1002/adfm.202100649.
[18] SHEN Zequn, ZHU Xiangyang, MAJIDI Carmel, et al. Cutaneous ionogel mechanoreceptors for soft machines, physiological sensing, and amputee prostheses[J]. Advanced Materials, 2021.DOI:10.1002/adma.202102069.
[19] ZHU Chenxi, JIANG Wei, HU Jinglei, et al. Polylactic acid nonwoven fabric surface modified with stereocomplex crystals for recyclable use in oil/water separation[J]. ACS Applied Polymer Materials, 2020, 2(7): 2509-2516.
doi: 10.1021/acsapm.9b01197
[20] GÜZDEMIR Özgün, BERMUDEZ Victor, KANHERE Sagar, et al. Melt-spun poly(lactic acid) fibers modified with soy fillers: toward environment-friendly disposable nonwovens[J]. Polymer Engineering & Science, 2020, 60(6): 1158-1168.
[1] 李璟孜, 娄蒙蒙, 黄世燕, 李方. 基于光热利用的金属有机骨架/石墨烯复合膜对印染废水的再生处理[J]. 纺织学报, 2023, 44(09): 116-123.
[2] 何铠君, 沈加加, 刘国金. 石墨烯改性蚕丝的制备方法及其应用研究进展[J]. 纺织学报, 2023, 44(09): 223-231.
[3] 辛华, 李阳帆, 罗浩. 复合改性氧化石墨烯接枝水性聚氨酯的制备及其性能[J]. 纺织学报, 2023, 44(08): 133-142.
[4] 李阳, 封严. 石墨烯基新型抗菌材料的研究进展[J]. 纺织学报, 2023, 44(04): 230-237.
[5] 孙将皓, 邵彦峥, 魏春艳, 王迎. 海藻酸钠/改性氧化石墨烯微孔气凝胶纤维制备与吸附性能[J]. 纺织学报, 2023, 44(04): 24-31.
[6] 万爱兰, 沈新燕, 王晓晓, 赵树强. 聚多巴胺修饰还原氧化石墨烯/聚吡咯导电织物的制备及其传感响应特性[J]. 纺织学报, 2023, 44(01): 156-163.
[7] 陈琛, 韩燚, 孙海燕, 姚诚凯, 高超. 花状氧化石墨烯原位展开共聚聚酰胺6及其功能纤维[J]. 纺织学报, 2023, 44(01): 47-55.
[8] 代璐, 胡泽旭, 王研, 周哲, 张帆, 朱美芳. 聚苯硫醚/石墨烯纳米复合纤维的燃烧和炭化行为[J]. 纺织学报, 2023, 44(01): 71-78.
[9] 楚艳艳, 李施辰, 陈超, 刘莹莹, 黄伟韩, 张越, 陈晓钢. 柔性抗冲击纺织材料及其结构的研究进展[J]. 纺织学报, 2022, 43(12): 203-212.
[10] 王双双, 季志浩, 盛国栋, 金恩琪. 零价铁/氧化石墨烯复合吸附剂对染料和重金属的吸附性能[J]. 纺织学报, 2022, 43(09): 156-166.
[11] 杨宏林, 项伟, 董淑秀. 涤纶基纳米铜/还原氧化石墨烯复合材料的制备及其电磁屏蔽性能[J]. 纺织学报, 2022, 43(08): 107-112.
[12] 李瑞凯, 李瑞昌, 朱琳, 刘向阳. 基于石墨烯织物电极的七导联心电监测系统[J]. 纺织学报, 2022, 43(07): 149-154.
[13] 聂文琪, 孙江东, 许帅, 郑贤宏, 徐珍珍. 柔性纺织纤维基超级电容器研究进展[J]. 纺织学报, 2022, 43(07): 200-206.
[14] 钱佳琪, 瞿建刚, 胡啸林, 毛庆辉. 还原氧化石墨烯/粘胶基钒酸铋光催化材料的制备及其性能[J]. 纺织学报, 2022, 43(06): 100-106.
[15] 谢梦玉, 胡啸林, 李星, 瞿建刚. 还原氧化石墨烯/粘胶多层复合材料的制备及其界面蒸发性能[J]. 纺织学报, 2022, 43(04): 117-123.
Viewed
Full text


Abstract

Cited

  Shared   
  Discussed   
No Suggested Reading articles found!