纺织学报 ›› 2023, Vol. 44 ›› Issue (10): 172-180.doi: 10.13475/j.fzxb.20220604401

• 机械与器材 • 上一篇    下一篇

间隔织物用钢筘运动路径规划及驱动机构设计

袁汝旺1,2(), 张鹏1,2   

  1. 1.天津工业大学 机械工程学院, 天津 300387
    2.天津工业大学 天津市现代机电装备技术重点实验室, 天津 300387
  • 收稿日期:2022-06-17 修回日期:2022-10-08 出版日期:2023-10-15 发布日期:2023-12-07
  • 作者简介:袁汝旺(1979—),男,副教授,博士。主要研究方向为纺织机械设计与机构学。E-mail:yuanruwang@tiangong.edu.cn
  • 基金资助:
    天津市自然科学基金项目(18JCYBJC20200);中国纺织工业联合会应用基础研究项目(J202003)

Motion path planning and driving mechanism design of reed for spacer fabrics

YUAN Ruwang1,2(), ZHANG Peng1,2   

  1. 1. School of Mechanical Engineering, Tiangong University, Tianjin 300387, China
    2. Tianjin Key Laboratory of Advanced Mechatronics Equipment Technology, Tiangong University, Tianjin 300387, China
  • Received:2022-06-17 Revised:2022-10-08 Published:2023-10-15 Online:2023-12-07

摘要:

为满足间隔织物打纬过程中钢筘运动轨迹和动态特性等需求,基于凸轮连杆组合机构研究钢筘运动路径规划、驱动机构设计及动态特性控制方法。建立基于刚体导引的钢筘驱动机构设计模型及基于傅里叶级数的钢筘运动特性控制模型,设计并仿真验证钢筘运动路径及其运动特性。结果表明:摇杆初始角位移是决定钢筘运动路径的重要参数,设计5组不同参数的钢筘驱动机构均可实现钢筘平行打纬,最小轨迹误差率为0.02%;构建的凸轮从动运动规律可平稳控制钢筘沿其运动路径往复运动,且在钢筘运动启停阶段有50°的近似静止时间,可增加开口角和引纬角,有利于提高织机转速和满足幅宽需求;调节负向加速度峰值可获得不同惯性打纬力,为打纬机构参数化设计提供理论参考。

关键词: 间隔织物, 钢筘, 运动路径规划, 驱动机构, 动态特性控制, 打纬机构

Abstract:

Objective The traditional beating-up forms include the uses of four-lever and six-lever mechanism systems as well as conjugate cam. The reed swings around the rocking shaft reciprocally during the beating-up process, and cannot ensure the consistency of the upper and lower weft yarns during the fabric formation stage, thus leading to uneven weft density of the upper and lower surface layers of the spacer fabric. This produces width barrier defects and reduces the quality of the formed spacer fabric. A combined type of beating-up mechanism is applied to meet the weaving requirements of spacer fabrics, specifically to meet the requirements of reed movement trajectory and dynamic characteristics in the beating-up process.

Method A beating-up mechanism combining a conjugate cam and a four-lever mechanism was worked. The movement path of the reed during the beating-up process was planned from the demand of the beating-up, and the rigid-body guiding method is used to establish the design model of the reed driving mechanism. Based on the Fourier series form, the control model of the motion characteristics of the reed was established. According to the movement law of the reed, the conjugate cam contour was able to be designed, and the complex vector method was used to verify the movement path of the reed and its movement characteristics.

Results The initial angular displacement of rocker was found an important parameter to determine the motion path of the reed. Five sets of reed drive mechanisms with different parameters were designed to achieve parallel beating-up of the reed, in which the minimum trajectory error rate is 0.02% and the minimum angular error of the reed is 1.384°. The mechanism dimensional parameters were optimized in terms of reed angle error and reed trajectory error rate (Tab. 4). The constructed cam follower motion law was continuous and high order derivable, which effectively avoided rigid and flexible impact of the mechanism. The motion law can smoothly control the reciprocating motion of the reed along its motion path, and there is an approximate resting time of 50° during the start-stop phase of the reed motion, which increased the shedding angle and weft insertion angle, and was conducive to increasing the loom speed and width requirement. The acceleration of the reed reaches its peak at the moment of front dead position, ensuring that steady reed movement and beating-up inertia. For special requirements for the inertia force, the peak acceleration was changed by adjusting K value(guasi-acceleration at the moment of beating-up) at the same cam speed, so as to meet the technological requirements of adjusting the inertia force. ADAMS simulation showed that the horizontal and vertical motion of reed are 160.464 mm and 57.609 mm, respectively. The angle error of reed was 2.445° and the trajectory error rate was 0.14%. The peak acceleration of the reed in the horizontal direction is 325.5 m/s2 at the cam speed of 240 r/min, which results in the maximum inertia force of beating-up. This set of mechanism parameters meets the process requirements in terms of reed dynamic range and motion state.

Conclusion The weaving process requirement of spacer fabric is proposed, and the synthetic motion path of reed is planned according to the requirements such as the position and state of reed during beating-up. Based on the conjugate cam linkage combination mechanism, the reed is parallel beating-up to ensure the consistency of force on the upper and lower surface layers of the spacer fabric. The reed driving mechanism is modeled by the rigid body guiding method and process constraints. When the initial angular displacement of rocker is 85.5°, the reed has the minimum trajectory error rate and angle error, which can meet the requirements of the reed planning motion path. The dynamic characteristics control model of reed based on Fourier series is established, and the boundary conditions of the model are determined from the requirements of beating-up process. The cam follower motion law can smoothly control the reed beating-up motion, and the reed has an approximate resting time of 50° in the start-stop phase, which increases the weft insertion angle and shedding angle and helps to improve the loom machine speed and width requirements.

Key words: spacer fabric, reed, motion path planning, drive mechanism, kinematic characteristic control, beating-up mechanism

中图分类号: 

  • TS103.135

图1

间隔织物织造原理 1, 2—接结经纱综框; 3, 5—下层地经纱综框; 4, 6—上层地经纱综框; 7—上层纬纱; 7'—下层纬纱; 8, 8'—钢筘;9—上层地经纱;9'—下层地经纱; 10, 10'—接结经纱。"

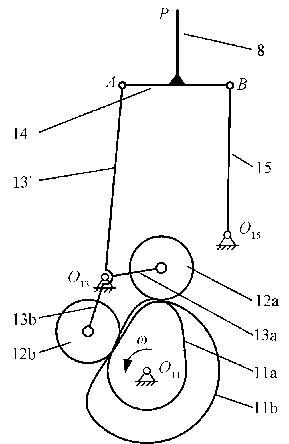
图2

平行打纬机构 11a, 11b—主、回凸轮; 12a, 12b—滚子; 13a, 13b—摆杆; 13'—摇杆; 14—连杆; 15—摇杆。"

图3

钢筘运动路径规划图"

图4

钢筘驱动机构"

图5

从动件运动周期图"

表1

钢筘设计参数"

设计参数 数值 设计参数 数值
L/mm 160.000 Δy12/mm 15.366
Δy13/mm 55.744 θ12/rad 0.005
θ13/rad -0.024 O 15 x/mm 193.343
O 15 y/mm 68.144

表2

凸轮设计参数"

设计参数 数值 设计参数 数值
中心距d/mm 162 实际基圆半径r1/mm 62
实际基圆半径r2/mm 114 摆臂长度Hb/mm 90
滚子半径R/mm 50 凸轮转速N/(r·min-1) 240

表3

不同φ10值时的机构参数"

φ10/(°) φ1j/(°) l1/mm l2/mm l3/mm
82.0 29.6 348.380 158.160 277.162
85.5 27.5 345.586 177.008 276.589
88.5 26.8 345.140 186.327 276.710
90.0 24.6 344.933 208.192 277.160
93.0 24.3 345.415 226.274 277.214

图6

钢筘运动轨迹"

图7

钢筘转动角度误差曲线"

表4

机构参数优化结果"

φ10/(°) φ1j/(°) l1/mm l2/mm l3/mm O 15 x/mm O 15 y/mm
85.5 27.0 346 177 277 190.68 75.27

表5

钢筘运动路径对比"

钢筘
位置
规划值 实际值
x - j y - j xj yj
P1 204.147 508.933 204.147 508.933
P2 284.147 493.568 285.829 492.112
P3 364.147 453.189 364.611 451.324

表6

傅里叶系数"

系数 数值 系数 数值
a0 0.189 81 a1 -0.345 65
a2 0.255 95 a3 -0.150 34
a4 0.063 23 a5 -0.012 41
a6 -0.006 21 a7 0.007 13
a8 -0.003 31 a9 0.000 74

图8

凸轮从动件运动规律"

图9

不同K值下的类加速度"

图10

凸轮实际廓线"

图11

平行打纬机构虚拟样机"

图12

钢筘打纬速度曲线 (N=240 r/min)"

图13

钢筘打纬加速度曲线 (N=240 r/min)"

图14

平行打纬机构应用"

[1] NEJE G, BEHERA B. Geometrical modeling of 3D woven spacer fabrics as reinforcement for lightweight sandwich composites[J]. Journal of The Textile Institute, 2019, 110(5): 732-739.
doi: 10.1080/00405000.2018.1516111
[2] CHEN X G, TAYLOR L W, TSAI L J. An overview on fabrication of three-dimensional woven textile preforms for composites[J]. Textile Research Journal, 2011, 81(9): 932-944.
doi: 10.1177/0040517510392471
[3] BILISIK K. Multiaxis three-dimensional weaving for composites: a review[J]. Textile Research Journal, 2012, 82(7): 725-743.
doi: 10.1177/0040517511435013
[4] ISHMAEL N, FERNANDO A, ANDREW S, et al. Textile technologies for the manufacture of three-dimensional textile preforms[J]. Research Journal of Textile and Apparel, 2017, 21(4): 342-362.
doi: 10.1108/RJTA-06-2017-0034
[5] EREN R, AYDEMIR A. An approach to kinematic design of four-bar sley drive mechanisms in weaving[J]. Journal of The Textile Institute, 2004, 95(1-6): 193-205.
doi: 10.1533/joti.2002.0055
[6] 沈丹峰, 赵宁, 张华安, 等. 织机四连杆打纬机构对主墙板的动应力分析[J]. 纺织学报, 2013, 34(1): 110-115.
SHEN Danfeng, ZHAO Ning, ZHANG Huaan, et al. Dynamic stress analysis of four-bar linkage beating-up mechanism on loom wallboard[J]. Journal of Textile Research, 2013, 34(1): 110-115.
doi: 10.1177/004051756403400203
[7] EREN R, AYDEMIR A. Kinematic design method for six-bar linkage sley drive mechanisms in weaving[J]. Indian Journal of Fibre and Textile Research, 2005, 30(3): 243-251.
[8] 马世平. 基于MATLAB的六连杆打纬机构优化设计及仿真[J]. 纺织学报, 2006, 27(3): 40-42.
MA Shiping. Optimal design and simulation on 6-link beating construction based on MATLAB[J]. Journal of Textile Research, 2006, 27(3): 40-42.
[9] 金国光, 秦凯旋, 魏展, 等. 剑杆织机柔性从动件共轭凸轮打纬机构动力学分析[J]. 纺织学报, 2016, 37(5): 137-142.
JIN Guoguang, QIN Kaixuan, WEI Zhan, et al. Dynamic analysis of flexible follower conjugate cam beating-up mechanism in rapier loom[J]. Journal of Textile Research, 2016, 37(5): 137-142.
[10] XIA B Z, LIU X C, SHANG X, et al. Improving cam profile design optimization based on classical splines and dynamic model[J]. Journal of Central South University, 2017, 24(8): 1817-1825.
doi: 10.1007/s11771-017-3590-x
[11] MOUNTASIR A, HOFFMANN G, CHERIF C. Development of weaving technology for manufacturing three-dimensional spacer fabrics with high-performance yarns for thermoplastic composite applications: an analysis of two-dimensional mechanical properties[J]. Textile Research Journal, 2011, 81(13): 1354-1366.
doi: 10.1177/0040517511402125
[12] CELIK H I, TOPALBEKIROGLU M. Kinematic analysis and synthesis of the beat-up mechanism for handmade carpet looms[J]. Journal of The Textile Institute, 2010, 101(10): 882-889.
doi: 10.1080/00405000902934570
[13] 韩斌斌, 王益轩, 陈荣荣, 等. 基于ADAMS的三维织机平行打纬机构的设计研究[J]. 产业用纺织品, 2015, 33(10): 22-26.
HAN Binbin, WANG Yixuan, CHEN Rongrong, et al. Design of the parallel beating-up mechanism for 3D weaving machine based on ADAMS[J]. Technical Textiles, 2015, 33(10): 22-26.
[14] 刘薇, 蒋秀明, 杨建成, 等. 碳纤维多层角联机织装备的集成设计[J]. 纺织学报, 2016, 37(4): 128-136.
LIU Wei, JIANG Xiuming, YANG Jiancheng, et al. Integration design of carbon fiber multi-layer diagonal weaving equipment[J]. Journal of Textile Research, 2016, 37(4): 128-136.
[15] 袁汝旺, 陈瑞, 蒋秀明, 等. 碳纤维多层织机打纬机构运动学分析与尺度综合[J]. 纺织学报, 2017, 38(11): 137-142.
YUAN Ruwang, CHEN Rui, JIANG Xiuming, et al. Kinematics analysis and dimension synthesis of beating-up mechanism for carbon fiber multi-layer loom[J]. Journal of Textile Research, 2017, 38(11): 137-142.
[16] 徐昊月, 孙志宏. 一种立体织机平行打纬机构的设计与优化[J]. 东华大学学报(自然科学版), 2020, 46(2): 304-307, 327.
XU Haoyue, SUN Zhihong. Design and optimization of the parallel beating-up mechanism for looms[J]. Journal of Donghua University (Natural Science), 2020, 46(2): 304-307,327.
[17] DEBAES J, DEJAEGERE F. Weaving loom with sley associated device for positioning a weft cutter: US5568827[P]. 1996-10-29.
[18] 王勇. 一种平行打纬引纬机构: 110923909A[P]. 2020-03-27.
WANG Yong. Parallel beating-up and weft insertion mechanism: 110923909A[P]. 2020-03-27.
[19] ZHOU C J, HU B, CHEN S Y, et al. Design and analysis of high-speed cam mechanism using Fourier series[J]. Mechanism and Machine Theory, 2016, 104: 118-129.
doi: 10.1016/j.mechmachtheory.2016.05.009
[20] 华大年, 唐之伟. 机构分析与设计[M]. 北京: 中国纺织出版社, 1985: 296-302.
HUA Danian, TANG Zhiwei. Mechanism analysis and design[M]. Beijing: China Textile & Apparel Press, 1985: 296-302.
[1] 冯清国, 巫鳌飞, 任家智, 陈宇恒. 棉纺精梳机分离罗拉连杆驱动机构动力学仿真及有限元分析[J]. 纺织学报, 2023, 44(09): 197-204.
[2] 李露红, 赵博宇, 丛洪莲. 复合结构经编针织电容式传感器设计及其性能[J]. 纺织学报, 2023, 44(08): 88-95.
[3] 杨美玲, 蒋高明, 王婷, 李炳贤. 经编间隔鞋材设计与三维仿真[J]. 纺织学报, 2023, 44(08): 96-102.
[4] 黄锦波, 邵灵达, 祝成炎. 炭化三维间隔棉织物的制备及其电加热性能[J]. 纺织学报, 2023, 44(04): 139-145.
[5] 周志芳, 周赳, 彭稀, 黄锦波. 三维间隔空芯可变提花织物的织造工艺设计[J]. 纺织学报, 2023, 44(03): 67-72.
[6] 李沐芳, 陈佳鑫, 曾凡佳, 王栋. 间隔织物基光热-热电复合材料的制备及其性能[J]. 纺织学报, 2022, 43(10): 65-70.
[7] 赵博宇, 李露红, 丛洪莲. 棉/Ti3C2导电纱制备及其电容式压力传感器的性能[J]. 纺织学报, 2022, 43(07): 47-54.
[8] 李珍珍, 支超, 余灵婕, 朱海, 杜明娟. 废棉再生气凝胶/经编间隔织物复合材料的制备及其性能[J]. 纺织学报, 2022, 43(01): 167-171.
[9] 张晓会, 杨曈, 马丕波. 基于3D打印的竹节结构中空单丝制备及其压缩性能[J]. 纺织学报, 2019, 40(12): 32-38.
[10] 陈美玉, 孙润军, 张长琦, 刘先锋. 经编间隔织物的缓压性能[J]. 纺织学报, 2019, 40(07): 58-63.
[11] 孙婉, 缪旭红, 王晓雷. 贾卡提花经编间隔织物的撕裂性能[J]. 纺织学报, 2019, 40(06): 32-37.
[12] 杨婉秋, 刘晓艳, 于伟东. 多层防刺材料中间隔织物的缓冲作用[J]. 纺织学报, 2019, 40(04): 51-54.
[13] 孙婉, 缪旭红, 王晓雷, 蒋高明. 基于经编间隔织物的压力电容传感器特性[J]. 纺织学报, 2019, 40(02): 94-99.
[14] 徐婉丽 常玉萍 马丕波. 负泊松比经编间隔织物的抗低速冲击性能[J]. 纺织学报, 2018, 39(11): 45-49.
[15] 常玉萍 马丕波. 负泊松比经编间隔织物的准静态拉伸性能[J]. 纺织学报, 2018, 39(04): 47-53.
Viewed
Full text


Abstract

Cited

  Shared   
  Discussed   
No Suggested Reading articles found!