Journal of Textile Research ›› 2019, Vol. 40 ›› Issue (11): 38-44.doi: 10.13475/j.fzxb.20180804207

• Textile Engineering • Previous Articles     Next Articles

Spinning and performance comparison of line flax/polyester multifilament composite yarns

AO Limin1(), TANG Wen2, JIANG Yinling3   

  1. 1. College of Materials and Textile Engineering, Jiaxing University, Jiaxing, Zhejiang 314001, China
    2. College of Business, Jiaxing University, Jiaxing, Zhejiang 314001, China
    3. Jiaxing Echi Linen Textile Co., Ltd., Jiaxing, Zhejiang 314000, China
  • Received:2018-08-14 Revised:2019-07-29 Online:2019-11-15 Published:2019-11-26

Abstract:

In order to compare the performances of line flax/polyester multifilament composite yarns by different composite processing methods, the spinning process parameters were designed by modifying existing spinning equipment, and 5 composite yarns with the same twist were spun. The appearance characteristics, tensile properties and hairiness of composite yarns were compared and analyzed. The results show that the composite yarns by different spinning methods are all of obvious characteristics of uneven distribution of twist; the wrapped composite yarns have better covering effect than the composite yarns of twisted structure; compared with the breaking strength, composite processing has better improve effect on the minimum strength of the line flax yarn, and can significantly reduce the strength unevenness; all the composite yarns can be woven without sizing except the wrapped yarn of same twist direction; and the double-twist and Sirofil composite processed are effective in improving the breaking elongation rate of the yarn, and the effect of wrapping composite to reduce the hairiness of the line flax yarn is the best.

Key words: line flax, polyester multifilament, composite yarn, Sirofil, wrapped spinning, double-twisted spinning

CLC Number: 

  • TS104.7

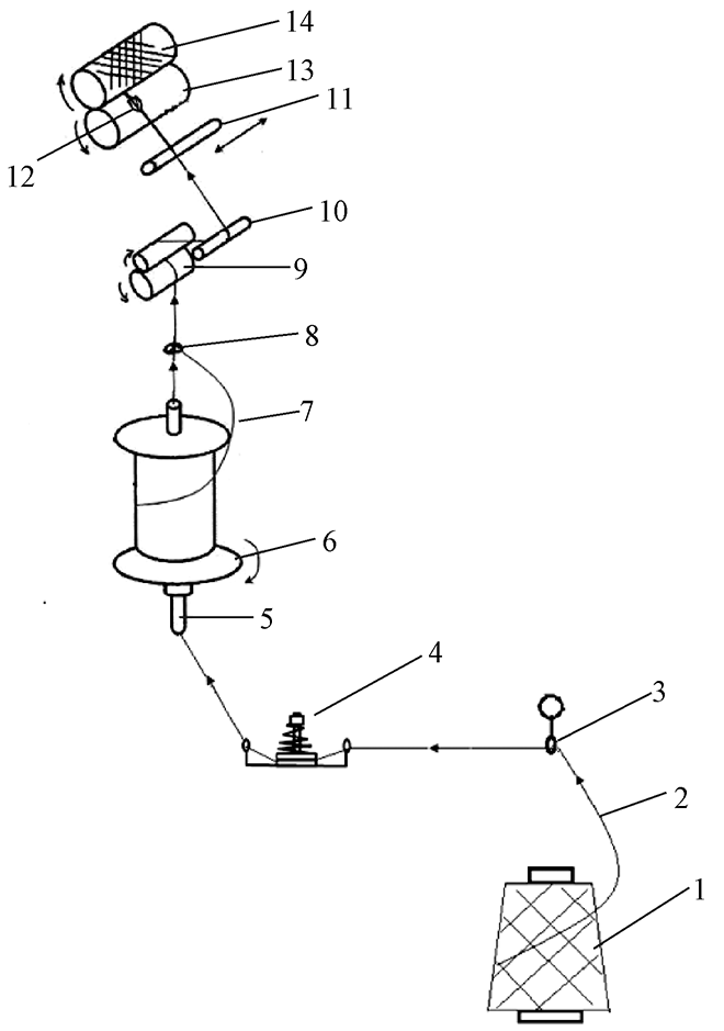
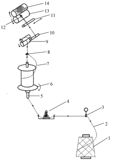
Fig.1

Spinning principle of Sirofil"

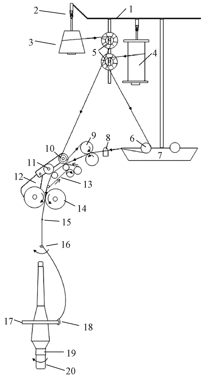
Fig.2

Spinning principle of wrapping"

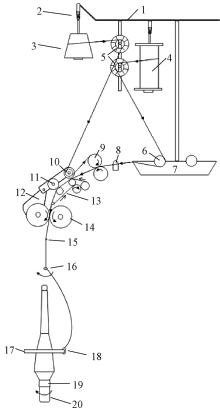
Fig.3

Spinning principle of double-twisted"

Fig.4

Appearance of composite yarns"

Fig.5

Appearance of Sirofil yarn and wrapping yarn of Z twist"

Tab.1

Test results of yarn performances"

类型 断裂强力
均值/cN
断裂最小
强力/cN
强力
CV值/%
断裂伸
长率/%
断裂伸长率
CV值/%
2次断裂
发生次数
毛羽/(根·(10 m)-1)
1~2 mm 3 mm及以上
纯亚麻纱 908.72 546.00 20.74 1.95 14.01 252.4 26.2
涤纶长丝纱 454.16 426.00 3.09 31.22 6.67
混捻纱 963.22 712.00 12.66 3.03 10.95 4 209.0 14.2
赛络菲尔纱 956.00 711.00 12.74 5.02 7.78 2 258.0 28.4
包缠纱(Z捻) 1 074.26 643.00 17.12 2.13 13.63 45 92.8 12.4
包缠纱(S捻) 1 059.38 772.00 14.38 2.48 13.32 47 82.6 7.4
并捻纱(S捻) 1 042.94 809.00 11.21 6.62 9.97 5 169.6 14.0
[1] 孙伯勇. 长丝短纤复合纱的特性及其产品开发[C]// 2013’中国纱线质量暨新产品开发技术论坛论文集.西安:全国棉纺织科技信息中心, 2014:36-52.
SUN Boyong. Properties and product development of filament/staple fiber composite yarns[C]// Proceedings of 2013' China Yarn Quality and New Product Development Technology Forum. Xi'an: Information Center of Cotton Textiles, 2014: 36-52.
[2] 薛元, 易洪雷, 王善元, 等. 长丝/短纤复合纱纺纱装置的工艺及应用[J]. 现代纺织技术, 2011(4):27-32.
XUE Yuan, YI Honglei, WANG Shanyuan, et al. Technique and application of spinning device on filament/staple fiber composite yarns[J]. Advanced Textile Technology, 2011(4):27-32.
[3] 程翠华. 亚麻湿纺交捻复合纱及织物性能的研究[D]. 上海:东华大学, 2017:10-13.
CHENG Cuihua. Study on Linen wet ply composite yarn and performance of fabrics[D]. Shanghai: Donghua University, 2017: 10-13.
[4] 陈子明, 罗朝文 . 一种麻涤加捻纱及其制备的麻锻面料:201510407962.3[P]. 2015-07-13.
CHENG Ziming, LUO Zhaowen. A flax polyester twisted yarn and its satin fabric: 201510407962.3[P]. 2015-07-13.
[5] 郭成云, 王伟芳, 张建国, 等. 亚麻/棉/涤纶嵌入式复合纱的纺制及工艺探讨[J]. 轻纺工业与技术, 2010,39(5):4-7.
GUO Chengyun, WANG Weifang, ZHANG Jianguo, et al. Technics discussion on the flax /cotton /polyester filament embedding composite spinning[J]. Light and Textile Industry and Technology, 2010,39(5):4-7.
[6] 王爱林, 敖利民 . 一种亚麻-有色涤纶长丝交捻纱的制备方法及装置:201810479026.7[P]. 2018-05-18.
WANG Ailin, AO Limin, A producing method and device for flax-colored polyester filament sirofil yarn: 201810479026.7[P]. 2018-05-18.
[7] 王爱林, 敖利民 . 一种包缠复合纱的制备方法及装置:201810043065.2[P]. 2018-01-17.
WANG Ailin, AO Limin. A producing method and device for wrapped composite yarn: 201810043065.2[P]. 2018-01-17.
[8] 敖利民, 江魁, 郁崇文, 等. 包缠法控制苎麻纱毛羽的研究[C]// 第十七届全国新型纺纱学术会论文集.北京:中国纺织工程学会, 2014:225-232.
AO Limin, JIANG Kui, YU Chongwen, et al. Study on controlling hairiness of ramie yarn by wrapping method[C]// Proceedings of the 17th National Conference on New Spinning. Beijing: China Textile Engineering Society, 2014: 225-232.
[9] 敖利民, 唐雯, 王爱林. 亚麻/有色涤纶长丝包缠复合纱的外观与性能[J]. 纺织学报, 2019,40(8):35-42.
AO Limin, TANG Wen, WANG Ailin. Appearance and performance of linen/colored polyester wrapping composite yarn[J]. Journal of Textile Research, 2019,40(8):35-42.
[10] 黄伟, 汪军. 复合纱线结构对单纱强力利用率的影响与分析[J]. 纺织学报, 2017,38(2):99-105.
HUANG Wei, WANG Jun. Influence of composite yarn's structures on yarn strength efficiency[J]. Journal of Textile Research, 2017,38(2):99-105.
[1] WEI Yanhong, LIU Xinjin, XIE Chunping, SU Xuzhong, ZHANG Zhongxi. Shape retention and wearing properties of polyester filament / cotton composite yarn twill fabrics [J]. Journal of Textile Research, 2019, 40(12): 39-44.
[2] . Appearance and performance of linen / colored polyester wrapping composite yarn [J]. Journal of Textile Research, 2019, 40(08): 40-47.
[3] . Simulation of fluid flow in rotor composite spinning unit and analysis on yarn quality [J]. JOURNAL OF TEXTILE RESEARCH, 2018, 39(03): 26-30.
[4] . Continuous preparation and properties of conductive polyester/polyaniline composite yarns [J]. JOURNAL OF TEXTILE RESEARCH, 2018, 39(02): 20-25.
[5] . Development and performance of Carex meyeriana/cotton/vinylon composite yarn [J]. JOURNAL OF TEXTILE RESEARCH, 2017, 38(12): 49-53.
[6] . Mechanical analysis of flame retardant three-strand yarn of polyester / aramid fiber / Poly(p-phenylene-2,6-benzo-bisoxazole) fiber [J]. JOURNAL OF TEXTILE RESEARCH, 2017, 38(06): 28-32.
[7] . Composite spinning technology and equipment based on multifilament online-spreading method using ring spinning system [J]. JOURNAL OF TEXTILE RESEARCH, 2016, 37(12): 160-166.
[8] . Development of stainless steel fiber/cotton composite yarn and its performances [J]. JOURNAL OF TEXTILE RESEARCH, 2014, 35(7): 36-0.
[9] . Innovative design and manufacture of composite yarn with novel structure on TRIZ theory [J]. JOURNAL OF TEXTILE RESEARCH, 2014, 35(2): 29-0.
[10] Yang Rui-Hua. A mathematic model of convergent point for rotor-spun composite yarn spinning process [J]. JOURNAL OF TEXTILE RESEARCH, 2011, 32(4): 39-42.
[11] FAN Lishan;LAI Kan;SUN Runjun;YAO Mu;QIN pei. Tensile strength of tri-component composite yarn and its mechanical model [J]. JOURNAL OF TEXTILE RESEARCH, 2010, 31(3): 36-39.
[12] ZHANG Haixia;ZHANG Xichang;WANG Shanyuan. Structure and tensile characteristics of rotor-spun composite yarns [J]. JOURNAL OF TEXTILE RESEARCH, 2009, 30(01): 33-36.
[13] L Libin;DU Mei;ZHAO Lei. Tensile properties analysis of polyester/cotton/silk tri-component Sirofil composite yarn [J]. JOURNAL OF TEXTILE RESEARCH, 2007, 28(6): 45-47.
[14] YANG Ruihua;XUE Yuan;WANG Shanyuan. Comparative analysis of properties of open-end rotor spun composite yarn and sirofil yarn [J]. JOURNAL OF TEXTILE RESEARCH, 2007, 28(12): 30-33.
[15] ZHANG Xi-chang;ZHANG Hai-xia. Effect of twist factor on structure and properties of rotor-spun composite yarns [J]. JOURNAL OF TEXTILE RESEARCH, 2006, 27(6): 67-70.
Viewed
Full text


Abstract

Cited

  Shared   
  Discussed   
No Suggested Reading articles found!