Journal of Textile Research ›› 2020, Vol. 41 ›› Issue (05): 159-166.doi: 10.13475/j.fzxb.20190706608

• Machinery & Accessories • Previous Articles     Next Articles

Modeling and reconstruction of cam profile for dobby modulator

XIAO Zhitao1,2, YIN Honghuan3, YU Hongbin2,3, JIANG Xiuming2,3, SHAO Hongyu4   

  1. 1. School of Electronics and Information Engineering, Tiangong University, Tianjin 300387, China
    2. Key Laboratory of Advanced Mechatronics Equipment Technology, Tiangong University, Tianjin 300387, China
    3. School of Mechanical Engineering, Tiangong University, Tianjin 300387, China
    4. College of Mechanical Engineering,Tianjin University, Tianjin 300072, China
  • Received:2019-07-29 Revised:2020-01-16 Online:2020-05-15 Published:2020-06-02

Abstract:

In order to improve the motion reliability of rotary dobby, mathematical modeling of cam profile for dobby modulators was established, and the particle swarm optimization algorithm was used to reconstruct the cam profile. Firstly, the mathematical model construction method for the cam profile was studied to determine the polynomial expression for the heald frame motion characteristics. Secondly, the mathematical model for the cam profile was established, and the cam profile based on the motion characteristics of the heald frame was obtained. The digital prototype of the dobby was used for verification analysis. Finally, the particle swarm optimization algorithm was used to study the cam profile reconstruction method, and the cam profile was reconstructed according to the cam profile reverse analysis system. The research shows that the mathematical method for solving the cam profile of the dobby modulator has led to the cam profile reconstruction, and the central symmetry of the cam profile is improved. This meets the heald frame motion characteristics and provides a new and effective way to optimize the shedding mechanism for weaving machines.

Key words: dobby, particle swarm, cam profile, modeling and reconstruction, heald frame, motion characteristics

CLC Number: 

  • TH112

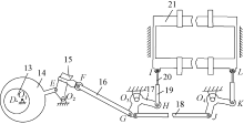
Fig.1

Working principle of modulator"

Fig.2

Working principle of eccentric mechanism,motion transmission mechanism and heald frame"

Fig.3

Schematic diagram of eccentric mechanism, motion transmission mechanism and heald frame"

Fig.4

Schematic diagram of modulator"

Tab.1

Physical parameters and geometric dimensions of shedding mechanism"

运动传递机构 偏心机构 旋转变速机构
参数 数值 参数 数值 参数 数值
lHI/mm 375 lO1O2/mm 192 lO1C/mm 111
lO3H/mm 200 lO2E/mm 96 lO1B/mm 43
lO2O3/mm 695 lDE/mm 170 lBA/mm 81
lO3G/mm 150 lO1D/mm 30 lAC/mm 56
lFG/mm 550 φ5/(°) 100 r/mm 31
lO2F/mm 185
e/mm 200
S0/mm 325
φ9/(°) 98

Fig.5

Conversely obtained cam profiles."

Fig.6

Comparison of heald frame motion characteristics generated by noncentral symmetrical cam and 11th curves. (a) Normalized displacement and dimensionless velocity;(b) Dimensionless acceleration and jerk"

Fig.7

Swam behavior of convergence. (a) Initial state;(b)500 iterations; (c) 1 000 iterations; (d) 5 000 iterations"

Tab.2

Correction factor and objective function result"

迭代次数 a b c 目标函数值
0 25 727.20
200 0.602 0.553 -0.155 14 583.06
400 0.843 0.550 -0.393 5 252.19
600 0.922 0.546 -0.468 2 007.61
800 0.950 0.544 -0.495 837.76
1 000 0.962 0.544 -0.506 324.61
1 200 0.968 0.544 -0.512 91.33
1 400 0.969 0.543 -0.512 39.06
1 600 0.969 0.544 -0.513 32.33
1 800 0.970 0.543 -0.513 31.51
2 000 0.970 0.543 -0.513 31.51
5 000 0.970 0.543 -0.513 31.51

Fig.8

Comparison of cam profiles before and after reconstruction"

Fig.9

Comparison of heald frame motion characteristics generated by reconstruction and mapping cam. (a) Normalized displacement and dimensionless velocity;(b) Dimensionless acceleration and jerk"

[1] 祝章琛. 回转多臂机的设计与分析[J]. 纺织学报, 1985,6(2):97-100.
ZHU Zhangchen. Designing and analyzing of rotary dobby[J]. Journal of Textile Research, 1985,6(2):97-100.
[2] 金国光, 魏晓勇, 魏展, 等. 旋转式多臂机提综机构动力学分析与优化[J]. 纺织学报, 2018,39(9):160-168.
JIN Guoguang, WEI Xiaoyong, WEI Zhan, et al. Dynamic analysis and optimization of rotary dobby lifting comprehensive mechanism[J]. Journal of Textile Research, 2018,39(9):160-168.
[3] 张远华, 苟向锋, 陈晓芳, 等. 电子多臂机旋转变速机构共轭凸轮再设计[J]. 机械传动, 2018,42(4):57-61.
ZHANG Yuanhua, GOU Xiangfeng, CHEN Xiaofang, et al. Redesign of conjugate cam of rotation variable speed mechanism of electronic dobby[J]. Journal of Mechanical Transmission, 2018,42(4):57-61.
[4] 高大牛, 沈毅, 刘春雷. GT421型多臂机选综共轭凸轮设计[J]. 现代纺织技术, 2012,20(1):27-31.
GAO Daniu, SHEN Yi, LIU Chunlei. The design of election comprehensive conjugate cam of GT421 dobby[J]. Advanced Textile Technology, 2012,20(1):27-31.
[5] 高大牛, 沈毅, 刘春雷. 基于ADAMS的GT421型多臂机机构动态仿真[J]. 纺织学报, 2012,33(8):119-123.
GAO Daniu, SHEN Yi, LIU Chunlei. Dynamic simulation of mechanism of GT421 dobby based on ADAMS[J]. Journal of Textile Research, 2012,33(8):119-123.
[6] EREN R, OZKAN G, TURHAN Y. Kinematics of rotary dobby and analysis of heald frame motion in weaving procsee[J]. Textile Research Journal, 2008,78(12):1070-1079.
[7] EREN R, OZKAN G, KARAHAN M. Comparison of heald frame motion generated by rotary dobby and crank & cam shedding motions[J]. Fibres & Textiles in Eastern Europe, 2005,13(4):78-83.
[8] ANON. Rotary dobby: the efficient shed forming mechanism for modern weaving machines[J]. International Textile Bulletin: Fabric Forming, 1983,66:45-46.
[9] MARKS R, ROBINSON A T C. Principles of weaving[M]. London: The Textile Institute, 1976: 59-72.
[10] GUHA A, AMARNATH C, KURIEN I, et al. Linkage driven dobby with dwell[J]. Textile Research Journal, 2009,79(9):804-809.
[11] CHEW M, CHUANG C H. Minimizing residual vibrations in high-speed cam-follower systems over a range of speeds[J]. Journal of Mechanical Design, 1995,117(1):166-172.
[12] GUPTA K C, WIEDERRICH J L. Development of cam profiles using the convolution operator[J]. Journal of Mechanical Design, 1983,105(12):654-657.
[13] STODDART D A. Polydyne cam design-I[M]. New York: Machine Design, 1953: 121-164.
[14] SHIGLEY J E, UICKER J J. Theory of machines and mechanisms[M]. New York: Mcgrew-Hill, 1980: 204-207.
[15] MERMELSTEIN S P, ACAR M. Optimising cam motion using piecewise polynomials[J]. Engineering with Computers, 2004,19(4):241-254.
[16] QIU Hua, LIN Changjun, LI Ziye, et al. A universal optimal approach to cam curve design and it applica-tions[J]. Mechanism &. Machine Theory, 2005,40:669-692.
[17] NORTON R L. Cam design and manufacturing hand-book[M]. New York: Industrial press, 2002: 301-305.
[18] KENNEDY J, EBERHART R. Particle swarm optimization[C]// Proceeding IEEE international conference. Networks: IEEE, 1995: 1942-1948.
[19] BRAVO R, FLOCKER F W. Optimizing cam profiles using the particle swarm technique[J]. Journal of Mechanical Design, 2011,133(9):1-11.
[20] SHI Yuhui, EBERHART R. A modified particle swarm optimizer[C]//Proceedings of the IEEE conference on evolutionary computation. Anchorage: IEEE, 1998: 69-73.
[21] PEISEKAH E E. Improving the polydyne cam design method[J]. Russian Engineering Journal, 1966,12:25-27.
[22] ZHANG Zhongbo, JIANG Yunzhong, ZHANG Shuanghu, et al. An adaptive particle swarm optimization algorithm for reservoir operation optimization[J]. Applied Soft Computing, 2014,18:167-177.
[23] SUN Shiyuan, LI Jianwei. A two-swarm cooperative particle swarms optimization[J]. Swarm and Evolutionary Computation, 2014,15(4):1-18.
[24] 张雯雰, 王刚, 朱朝晖, 等. 粒子群优化算法种群规模的选择[J]. 计算机系统应用, 2010,19(5):125-128.
ZHANG Wenfen, WANG Gang, ZHU Zhaohui, et al. Population size selection of particle swarm optimizer algorithm[J]. Computer Systems & Applications, 2010,19(5):125-128.
[1] YUAN Ruwang, ZHU Leilei, LÜ Xuekui, YANG Jiamin. Modeling of rotary shifting motion characteristics of electronic dobby and influence thereof on shedding mechanisms driving [J]. Journal of Textile Research, 2019, 40(12): 127-133.
[2] . Arrangement of garment production line by particle swarm algorithm [J]. Journal of Textile Research, 2018, 39(10): 120-124.
[3] . Warp knit fabric defect detection method based on optimal Gabor filters [J]. JOURNAL OF TEXTILE RESEARCH, 2016, 37(11): 48-54.
[4] . Design of double face dobby fabric by using stitching double weave [J]. JOURNAL OF TEXTILE RESEARCH, 2016, 37(09): 26-30.
[5] . CAD design method for small- pattern dobby fabric weaves with determined harness numbers [J]. JOURNAL OF TEXTILE RESEARCH, 2014, 35(7): 140-0.
[6] .  Inverse problem of thickness design for bilayer textile materials combined with particle swarm algorithm [J]. JOURNAL OF TEXTILE RESEARCH, 2013, 34(6): 40-45.
[7] . Optimum design for heald frame’s structure based on APDL [J]. JOURNAL OF TEXTILE RESEARCH, 2013, 34(12): 122-0.
[8] SHEN Yi, GAO Da-Niu, LIU Chun-Lei. Dynamic simulation of mechanism of GT421 dobby based on ADMAS [J]. JOURNAL OF TEXTILE RESEARCH, 2012, 33(8): 119-123.
[9] . Influence of electromagnet working state on dynamic performance of electronic dobby’s swing arm [J]. JOURNAL OF TEXTILE RESEARCH, 2012, 33(12): 80-84.
[10] ZHANG Zenqiang;HUANG Mazhuang. Optimizing computer automatic cotton distribution using particle swarm algorithm [J]. JOURNAL OF TEXTILE RESEARCH, 2011, 32(2): 44-47.
[11] ZHOU Baoming;MA Chongqi. PLC-based control system design of overweight dobby loom [J]. JOURNAL OF TEXTILE RESEARCH, 2008, 29(8): 101-104.
[12] SHI Guo-sheng;ZHANG Yu-qiu;XIONG Chao. Application of image transformation technique on dobby fabric weave design [J]. JOURNAL OF TEXTILE RESEARCH, 2006, 27(7): 23-26.
Viewed
Full text


Abstract

Cited

  Shared   
  Discussed   
No Suggested Reading articles found!