Journal of Textile Research ›› 2021, Vol. 42 ›› Issue (08): 64-70.doi: 10.13475/j.fzxb.20201008507

• Textile Engineering • Previous Articles     Next Articles

Effect of filament feeding positions on structure and properties of siro-spinning core-spun yarns

WU Jiaqing1, WANG Ying1(), HAO Xinmin2, GONG Yumei1, GUO Yafei2   

  1. 1. School of Textile and Material Engineering, Dalian Polytechnic University, Dalian, Liaoning 116034, China
    2. Institute of Quartermaster Engineering & Technology, Systems Engineering Institute, Academy of Military Sciences, Beijing 100010, China
  • Received:2020-10-30 Revised:2021-04-30 Online:2021-08-15 Published:2021-08-24
  • Contact: WANG Ying E-mail:wangying@dlpu.edu.cn

Abstract:

To investigate the influence of different filament feeding positions on core-spun yarn performance in siro-spinning, three types of core-spun yarns were spun. Polyester filaments in the spinning process were fed in the center of left roving filament, in the center of two roving filament and in the center of right roving filament, respectively. The cross-section, quality, abrasion resistance, tensile fracture and untwisting characteristics of the prepared core-spun yarns were compared and analyzed. The results show that there are no obvious phenomena of filaments out of yarn surface for all the core-spun yarns, and the inner polyester filament was near the center of the yarn. The yarns were clean and even with less hairiness. For the yarn fed in the left roving center, the tensile fracture of yarn was characterized by multi-peak fracture. For the yarn fed in the two roving center, the tensile fracture of yarn was characterized by dense fluctuation. While for the yarn fed in the center of right roving, its tensile fracture characteristic was in the form of ladder shape. Among the yarns, the initial elastic modulus of the yarn fed in the center of right roving was the highest and the untwisting of this yarn was the most difficult, and during the unwinding process of the yarn, some yarn segments were reversely twisted, which showed a more stable yarn structure and thus provided a good abrasion resistance and the highest yarn strength.

Key words: siro-spinning core-spun yarn, filament feeding position, yarn fracture characteristic, untwisting of yarn, yarn quality

CLC Number: 

  • TS104.1

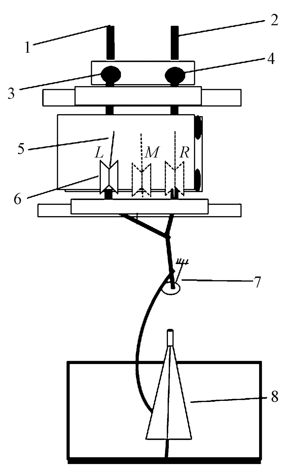
Fig.1

Roving and filament feeding position of siro-spinning core-spun yarn"

Tab.1

Experiment scheme of siro-spinning core-spun yarns"

纱线编号 实验方案
YA 涤纶长丝在白色棉粗纱1中心由导丝轮6从L点喂入
YB 涤纶长丝在粗纱1和粗纱2二者的中间由导丝轮6从M点喂入
YC 涤纶长丝在黑色涤纶粗纱2中心由导丝轮6从R点喂入

Fig.2

Cross sections images of three kinds of siro-spinning core-spun yarns (×200)"

Fig.3

Twisting triangle area of siro-spinning core-spun yarn"

Tab.2

Performance indexes of three kinds of siro-spinning core-spun yarns"

纱线编号 纱线线密
度/tex
初始弹性模量/
(cN·tex-1)
断裂强度/
(cN·tex-1)
断裂伸长
率/%
断裂功/
mJ
条干CV
值/%
毛羽
H
平均摩擦
次数
YA 65.11 92.26 12.62 10.83 101 12.46 3.68 208
YB 65.13 86.02 13.04 12.27 119 11.99 4.13 298
YC 65.13 100.77 13.08 11.85 121 11.79 4.05 302

Fig.4

Surface appearance of YA and YC core-spun yarns after 200 frictions"

Fig.5

Tensile fracture curves of three kinds of core-spun yarns"

Fig.6

Appearance of core-spun yarn YC before and after fracture. (a)Undrawn yarn;(b)Broken yarn of cotton fiber"

Fig.7

SEM images of different positions during tensile fracture process of YC core-spun yarn. (a) Yarn position of G and J(×30);(b) Yarn position of H and J(×30); (c) Enlargement of yarn position of H(×1 000)"

Fig.8

Untwist appearance of three kinds of core-spun yarns"

[1] 梁蓉, 林建华. 传统和赛络纺锦纶长丝包芯纱的比较[J]. 纺织学报, 2006, 27(8):85-88.
LIANG Rong, LIN Jianhua. Comparison of traditional and siro polyamide filament core-spun yarn[J]. Journal of Textile Research, 2006, 27(8):85-88.
[2] 吴绥菊, 季晓雷, 钱庆雨. 赛络纺棉/氨纶包芯纱工艺探讨[J]. 纺织学报, 2006, 27(3):80-82.
WU Suiju, JI Xiaolei, QIAN Qingyu. Investigation of siro cotton/spandex core spun yarn[J]. Journal of Textile Research, 2006, 27(3):80-82.
[3] 梁蓉, 林建华, 于艳芳. 棉Modal锦纶赛络纺包芯纱的纺制[J]. 棉纺织技术, 2008, 36(1):31-34.
LIANG Rong, LIN Jianhua, YU Yanfang. Production of siro cotton Modal polyamide core-spun yarn[J]. Cotton Textile Technology, 2008, 36(1):31-34.
[4] 郑元生, 敖利民. 棉镀银长丝赛络包芯纱成纱性能测试[J]. 棉纺织技术, 2010, 38(11):28-30.
ZHENG Yuansheng, AO Limin. Property test of cotton silver-plated filament siro core-spun yarn[J]. Cotton Textile Technology, 2010, 38(11):28-30.
[5] 刘振波, 马秀霞, 吕显峰, 等. 赛络纺棉双丝包芯纱牛仔布的生产[J]. 棉纺织技术, 2015, 43(9):61-64.
LIU Zhenbo, MA Xiuxia, LÜ Xianfeng, et al. Production of siro cotton double filament core spun yarn denim fabric[J]. Cotton Textile Technology, 2015, 43(9):61-64.
[6] 安降龙, 郁崇文. 赛络纺复合纱线结构及其拉伸力学模型[J]. 东华大学学报(自然科学版), 2010, 36(1):15-20.
AN Xianglong, YU Chongwen. Mechanical model of sirospun composite yarn[J]. Journal of Donghua University (Natural Science), 2010, 36(1):15-20.
[7] 段永洁, 谢春萍, 王广斌, 等. 棉/不锈钢纱线针织物的电磁屏蔽性能研究[J]. 丝绸, 2016, 53(9):9-14.
DUAN Yongjie, XIE Chunping, WANG Guangbin, et al. Study electromagnetic shielding property of cotton/stainless steel yarn knitted fabrics[J]. Journal of Silk, 2016, 53(9):9-14.
[8] 于伟东. 纺织材料学[M]. 2版.北京: 中国纺织出版社, 2006: 247.
YU Weidong. Textile materials science [M]. 2nd ed. Beijing: China Textile & Apparel Press, 2006: 247.
[9] 张晓娟, 谢春萍, 刘新金. 全聚赛络包芯纱工艺优化[J]. 纺织学报, 2015, 36(7):28-35.
ZHANG Xiaojuan, XIE Chunping, LIU Xinjin. Processing optimization of complete condensed spinning and siro-spinning core-spun yarn[J]. Journal of Textile Research, 2015, 36(7):28-35.
[10] 徐文昉, 何加浩, 黎俊妤, 等. 纱线基本参数对其耐磨性的影响[J]. 上海纺织科技, 2018, 46(11):40-43.
XU Wenfang, HE Jiahao, LI Junyu, et al. Effect of the basic parameters on wear resistance of yarns[J]. Shanghai Textile Science & Technology, 2018, 46(11):40-43.
[11] 樊理山, 来侃, 孙润军, 等. 三组分复合纱线的拉伸断裂特征与力学模型[J]. 纺织学报, 2010, 31(3):36-39.
FAN Lishan, LAI Kan, SUN Runjun, et al. Tensile strength of component composite yarn and its mechanical model[J]. Journal of Textile Research, 2010, 31(3):36-39.
[12] 樊理山, 来侃, 孙润军, 等. 三组分长丝与短纤维复合纱线的生产原理[J]. 纺织学报, 2006, 27(5):40-43.
FAN Lishan, LAI Kan, SUN Runjun, et al. Principles of three-component filament and staple composite yarns[J]. Journal of Textile Research, 2006, 27(5):40-43.
[1] GUO Minghua, LIU Xinjin. Investigation on distribution of fiber accelerated points in drafting zone of ring spinner based on cut-weighing method [J]. Journal of Textile Research, 2021, 42(08): 71-75.
[2] ZHANG Huanhuan, ZHAO Yan, JING Junfeng, LI Pengfei. Yarn evenness measurement based on sub-pixel edge detection [J]. Journal of Textile Research, 2020, 41(05): 45-49.
[3] LIN Huiting, AKANKWASA Nicholus Tayari, ZHANG Yuze, SHI Qianqian, WANG Jun. Effect of bypass channel on rotor-spun yarn properties in rotor spinning [J]. Journal of Textile Research, 2019, 40(02): 153-158.
[4] ZHA Liugen, XIE Chunping. Prediction of cotton yarn quality based on four-layer BP neural network [J]. Journal of Textile Research, 2019, 40(01): 52-56.
[5] . Simulation of fluid flow in rotor composite spinning unit and analysis on yarn quality [J]. JOURNAL OF TEXTILE RESEARCH, 2018, 39(03): 26-30.
[6] . Double S curves soft drafting technology [J]. JOURNAL OF TEXTILE RESEARCH, 2017, 38(07): 34-38.
[7] . Application of compact spinning system in silk spinning frame [J]. Journal of Textile Research, 2016, 37(4): 124-127.
[8] . Novel method for prediction of quality fluctuation in spinning process [J]. Journal of Textile Research, 2015, 36(04): 37-43.
[9] . Novel complete condensing spinning system with strip groove structure [J]. JOURNAL OF TEXTILE RESEARCH, 2013, 34(6): 137-141.
[10] . Research on condensed spinning draft system [J]. JOURNAL OF TEXTILE RESEARCH, 2013, 34(6): 142-146.
[11] ZHAI Yali;ZHAO Chunsheng;KONG Fanrong. Correlation between Micronaire value and spinning quality of cotton fiber [J]. JOURNAL OF TEXTILE RESEARCH, 2009, 30(02): 34-37.
[12] XIANG Qian;YANG Jianguo;CHENG Longdi. Yarn quality prediction by support vector machine method [J]. JOURNAL OF TEXTILE RESEARCH, 2008, 29(4): 43-46.
[13] ZHAO Shulin;WANG Enqing;GUO Huiyong. Optimization of spinning techniques based on factor analysis [J]. JOURNAL OF TEXTILE RESEARCH, 2007, 28(8): 35-38.
[14] YIN Xiang-gang;LI Li-ming;YU Wei-dong. Effect of top dyeing on spinning and yarn quality [J]. JOURNAL OF TEXTILE RESEARCH, 2006, 27(5): 23-25.
[15] ZHU Jun. Processing technology of the flame retardant product of polyacrylonitrile oxidized fibers [J]. JOURNAL OF TEXTILE RESEARCH, 2006, 27(5): 59-62.
Viewed
Full text


Abstract

Cited

  Shared   
  Discussed   
No Suggested Reading articles found!