Journal of Textile Research ›› 2023, Vol. 44 ›› Issue (06): 114-120.doi: 10.13475/j.fzxb.20220104801

• Textile Engineering • Previous Articles     Next Articles

Measurement of infrared emissivity and photothermal absorption rate of fabrics with dual photothermal radiation sources

ZHANG Yue1, CHEN Yisong1,2(), BIAN Yuyao1, LIU Yi1   

  1. 1. College of Fashion and Design, Donghua University, Shanghai 200051, China
    2. Key Laboratory of Clothing Design and Technology, Ministry of Education, Donghua University, Shanghai 200051, China
  • Received:2022-01-21 Revised:2022-09-07 Online:2023-06-15 Published:2023-07-20
  • Contact: CHEN Yisong E-mail:cys@dhu.edu.cn

Abstract:

Objective The infrared emissivity and photothermal absorption rate of fabrics are two important indexes related to the thermal comfort and protection performance of clothing. To study these two characteristics of fabrics, this research aims to explore the infrared emissivity and photothermal absorption rate of fabrics under different photothermal radiation sources through the test device designed according to the new measurement principle, which provides a theoretical basis for the selection of photothermal radiation sources.
Method High reflectance KT board was used in the test device and unidirectional insulation was realized, which eliminated the influence of fabric transmission and solved the real temperature measurement of fabric. During the experiment, the surface real temperature and radiant temperature of 20 fabric samples with different composition, color and structure as well as black copper plate were measured by iodine tungsten lamp and xenon lamp with two color temperatures. The convective heat dissipation coefficients of the reference black body and fabric surface were determined, and the average infrared emissivity and average photothermal absorption rate of fabrics were calculated.
Results Under the radiation of iodine tungsten lamp and xenon lamp, the infrared emissivity of fabrics were found to be in ranges of 0.65-0.85 and 0.60-0.95 respectively, and the photothermal absorptivity of fabrics were in 35%-60% and 30%-90% respectively. The infrared emissivity of the same sample under these two radiation conditions had a certain difference, but both standard deviations were 0.06, with CV values of 7.40% and 12.55%, respectively. It might be that the groups in the fabric dyes could respond to the infrared band, so that the results under different light sources were different. On the other hand, the spectrum of the iodine tungsten lamp coincided with the infrared emission spectrum of fabrics at 8-14 μm by 5%, resulting in a certain interference effect fabric reflection on the measurement of radiation temperature in the iodine tungsten lamp spectrum. The xenon lamp spectrum had no overlap with the measuring window of 8-14 μm, and fabrics had no effect on its reflection. As the proportion of visible light in xenon lamp was greatly improved compared with that in iodized tungsten lamp, the data gap between white fabric and black fabric expanded from 15% to about 60%, which fully reflected the absorption and reflection of sunlight by the color of fabrics. In addition, the test results under both light sources showed that the thickness and gram weight of the fabric had no significant correlation with infrared emissivity (P>0.05), while the fabric type had significant correlation with infrared emissivity (P>0.05). The order of infrared emissivity from high to low was wool, cotton, polyester. The gram weight and type of fabric were not significantly correlated with the photothermal absorption rate (P>0.05), while fabric thickness was low correlation with the photothermal absorption rate (P<0.05, |r|=0.50).
Conclusion The infrared emissivity of fabrics has a certain dependence while the photothermal absorption rate of fabrics has a strong dependence on the color temperature of the light source, which is mainly because the color of the fabric has a strong reflection of the visible wavelength. Because the spectrum of the iodine tungsten lamp overlapped with the measuring band of the infrared temperature sensor, the reflection of the fabric interferes to some extent, and there will be errors in the measurement results. However, xenon lamp has no interference of spectral overlap, so its measurement results are more accurate and it is more suitable as the photothermal radiation source for the test.

Key words: photothermal radiation, photothermal absorption rate, infrared emissivity, fabric, thermal characteristic, thermal lamp

CLC Number: 

  • TS941.16

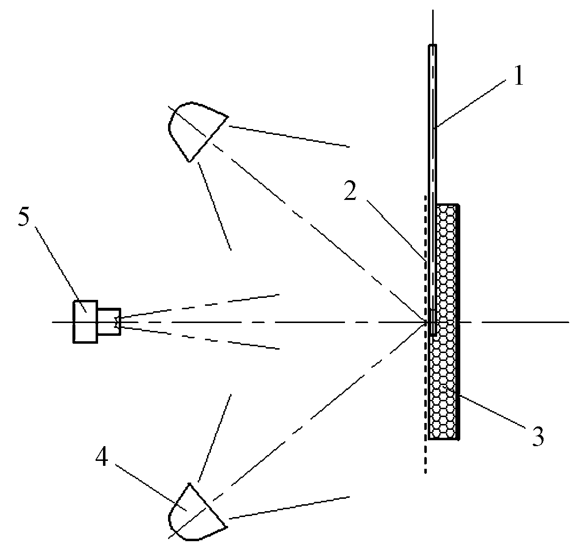
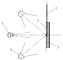
Fig. 1

Testing equipment for measuring infrared emissivity and photothermal absorption rate of fabric"

Fig. 2

Infrared image of each test unit"

Tab. 1

Polynomial fitting results of air physical parameters at temperature 200-500 K"

温度函数 a3 a2 a1 a0
ν(T) -6.00×10-14 1.65×10-10 1.22×10-8 -9.60×10-7
K(T) -1.56×10-13 3.20×10-10 -9.02×10-9 5.38×10-7

Tab. 2

Physical parameters of samples"

编号 织物名称 颜色 组织
结构
厚度/
mm
面密度/
(g·m-2)
A1 薄棉布 平纹 0.338 137.28
A2 平纹 0.338 137.28
A3 平纹 0.338 137.28
B1 厚棉布 斜纹 0.788 256.80
B2 斜纹 0.788 256.80
B3 斜纹 0.788 256.80
C1 中厚棉布 斜纹 0.744 264.24
C2 斜纹 0.728 268.26
C3 斜纹 0.766 269.94
D 格格棉布 土黄 斜纹 0.456 182.88
E1 薄羊毛织物 灰白 平纹 0.812 250.36
E2 姜黄 平纹 0.844 307.32
E3 平纹 0.534 194.76
F1 厚羊毛织物
(正面)
浅褐 斜纹 2.368 304.90
F2 厚羊毛织物
(反面)
深褐 斜纹 2.368 304.90
G1 涤纶织物 斜纹 0.422 206.06
G2 斜纹 0.456 240.44
G3 斜纹 0.420 228.16
H1 褶皱涤纶织物
(正面)
平纹 1.170 135.84
H2 褶皱涤纶织物
(反面)
平纹 1.170 135.84

Fig. 3

Comparison of infrared emissivity"

Fig. 4

Comparison of photothermal absorption rate"

[1] 方进, 刘秀, 黄琦婧, 等. 纺织面料红外发射率对其辐射散热性能的影响[J]. 印染, 2018, 43(2): 39-42.
FANG Jin, LIU Xiu, HUANG Qijing, et al. Influence of infrared emissivity on thermal radiation performance of fabrics[J]. China Dyeing & Finishing, 2018, 43(2): 39-42.
[2] 何岷洪. 红外隐身材料的制备及红外发射率性能研究[D]. 太原: 中北大学, 2013: 2-10.
HE Minhong. Preparation and infrared emissivity property of infrared camouflage materials[D]. Taiyuan: North Univeisity of China, 2013: 2-10.
[3] 程宁波, 缪东洋, 王先锋, 等. 用于个人热湿舒适管理的功能纺织品研究进展[J]. 纺织学报, 2022, 43(10): 200-208.
CHENG Ningbo, MIAO Dongyang, WANG Xianfeng, et al. Review in functional textiles for personal thermal and moisture comfort management[J]. Journal of Textile Research, 2022, 43(10): 200-208.
[4] 章潇慧, 于浩然. 光热转换材料的研究现状与发展趋势[J]. 新材料产业, 2019, 304(3): 56-67.
ZHANG Xiaohui, YU Haoran. Research status and development trend of photothermal conversion mate-rials[J]. Advanced Materials Industry, 2019, 304(3): 56-67.
[5] 韩重阳. 新型光热转换膜在海水淡化中的应用研究[D]. 上海: 东华大学, 2020: 5-10.
HAN Chongyang. Research on the application of a new type of photothermal conversion film in seawater desalination[D]. Shanghai: Donghua University, 2020: 5-10.
[6] MIAO D G, JIANG S X, LIU J, et al. Fabrication of copper and titanium coated textiles for sunlight management[J]. Journal of Materials Science: Materials in Electronics, 2017, 28(13): 9852-9858.
doi: 10.1007/s10854-017-6739-3
[7] 关威, 刘建梅, 王琦, 等. 基于红外辐射计的物体光谱发射率测量方法[J]. 火力与指挥控制, 2016, 41(11): 163-166, 170.
GUAN Wei, LIU Jianmei, WANG Qi, et al. Measurement of spectral emissivity of object based on infrared radiometer[J]. Fire Control & Command Control, 2016, 41(11): 163-166, 170.
[8] ZHANG H, HU T L, ZHANG J C H. Surface emissivity of fabric in the 8-14 μm waveband[J]. Journal of The Textile Institute, 2009, 100(1): 90-94.
doi: 10.1080/00405000701692486
[9] 陈益松, 王砚. 纺织面料红外发射率测量的新装置及方法[J]. 东华大学学报(自然科学版), 2019, 45(3): 386-390.
CHEN Yisong, WANG Yan. New device and method for Infrared emissivity measurement of textile fabrics[J]. Journal of Donghua University(Natural Science), 2019, 45(3): 386-390.
[10] 陈宇超, 沙畅畅, 王心妤, 等. 基于光热转换的吸收材料与转换机理研究进展[J]. 能源研究与利用, 2019, 188(4): 23-31, 55.
CHEN Yuchao, SHA Changchang, WANG Xinyu, et al. Research progress on absorption materials and conversion mechanism based on photothermal conver-sion[J]. Energy Research & Utilization, 2019, 188(4): 23-31, 35.
[11] NIE X L, WU S L, HUANG F L, et al. Smart textiles with self-disinfection and photothermochromic effects[J]. ACS Applied Materials & Interfaces, 2021, 13(2): 2245-2255.
[12] KUMAR P, ROY S, SARKAR A, et al. Reusable MoS2-modified antibacterial fabrics with photothermal disinfection properties for repurposing of personal protective masks[J]. ACS Applied Materials & Interfaces, 2021, 13(11): 12912-12927.
[13] NGA D, PHAN A D, LAM V D, et al. Enhanced solar photothermal effect of PANI fabrics with plasmonic nanostructures[J]. RSC Advances, 2020, 10(47): 28447-28453.
doi: 10.1039/d0ra04558f pmid: 35519101
[14] 王彩云, 卫敏, 吴霞, 等. 光热转换面料的吸光升温性能研究[J]. 中国纤检, 2020(9): 59-62.
WANG Caiyun, WEI Min, WU Xia, et al. Study on light absorption and heating performance of light-heat conversion fabric[J]. China Fiber Inspection, 2020(9): 59-62.
[15] JYOTHI J, AUDREY SOUM-GLAUDE, NAGARAJAET H S, et al. Measurement of high temperature emissivity and photothermal conversion efficiency of TiAlC/TiAlCN/TiAlSiCN/TiAlSiCO/TiAlSiO spectrally selective coating[J]. Solar Energy Materials and Solar Cells, 2017, 171: 123-130.
doi: 10.1016/j.solmat.2017.06.057
[16] 陈益松, 张悦. 综合测量纺织面料的红外发射率及光热吸收率[J]. 东华大学学报(自然科学版), 2022, 48(4): 43-48.
CHEN Yisong, ZHANG Yue. The comprehensive measurement of infrared emissivity rate and photothermal absorption rate of textile fabrics[J]. Journal of Donghua University (Natural Science), 2022, 48(4): 43-48.
[17] 李申生. 太阳常数与太阳辐射的光谱分布[J]. 太阳能, 2003(4): 5-6.
LI Shensheng. Solar constant and spectral distribution of solar radiation[J]. Solar Energy, 2003(4): 5-6.
[18] 赵立华, 唐其环. 太阳辐射试验标准中的太阳光谱分布[J]. 装备环境工程, 2017, 14(11): 65-70.
ZHAO Lihua, TANG Qihuan. Solar spectral distribution in solar radiation test standard[J]. Equipment Environmental Engineering, 2017, 14(11): 65-70.
[19] 周静, 林兰天. 芳砜纶耐日晒性能研究[J]. 产业用纺织品, 2010, 28(2): 17-19, 23.
ZHOU Jing, LIN Lantian. Study on light stability property of polysulfonamide fiber[J]. Technical Textiles, 2010, 28(2): 17-19, 23.
[20] 刘梦, 艾青, 王帅, 等. 基于辐射加热源的材料高温发射率测量方法[J]. 工程热物理学报, 2021, 42(3): 740-744.
LIU Meng, AI Qing, WANG Shuai, et al. Study on the high-temperature emittance measurement method based on radiative[J]. Journal of Engineering Thermophysics, 2021, 42(3): 740-744.
[21] 徐共荣, 俞萧, 周岚, 等. 低发射率涂料的研制及其在涤/棉混纺织物热红外伪装中的应用[J]. 丝绸, 2014, 51(2): 1-5.
XU Gongrong, YU Xiao, ZHOU Lan, et al. Preparation of low-emissivity coating and its application in thermal infrared camouflage of polyester/cotton blended fabrics[J]. Journal of Silk, 2014, 51(2): 1-5.
[22] 杨宇笛, 徐壁, 蔡再生. 基于染色斜纹棉布的太阳能驱动界面水蒸发体系的研究[J]. 产业用纺织品, 2020, 38(3): 29-35.
YANG Yudi, XU Bi, CAI Zaisheng. Study on solar driven interfacial water evaporation system based on dyed twill cotton fabric[J]. Technical Textiles, 2020, 38(3): 29-35.
[23] 张辉, 胡铁力, 张建春. 8-14 μm红外线对织物作用的测量[J]. 东华大学学报(自然科学版), 2007, 33(4): 500-506.
ZHANG Hui, HU Tieli, ZHANG Jianchun. Measurement of fabric characteristics in 8-14 μm[J]. Journal of Donghua University(Natural Science), 2007, 33(4): 500-506.
[24] 杨世铭, 陶文铨. 传热学[M]. 4版. 北京: 高等教育出版社, 2006: 369.
YANG Shiming, TAO Wenquan. Heat transfer[M]. 4th ed. Beijing: Higher Education Press, 2006: 369.
[25] BERGMAN T L, LAVINE A S, INCROPERA F P, et al. Fundamentals of heat and mass transfer[M]. 7th ed. Hoboken: John Wiley & Sons, 2011: 604-605, 995.
[26] CHURCHILL S W, CHU H H S. Correlating equations for laminar and turbulent free convection from a horizontal cylinder[J]. International Journal of Heat and Mass Transfer, 1975, 18(9): 1049-1053.
doi: 10.1016/0017-9310(75)90222-7
[1] MA Ying, XIANG Weihong, ZHAO Yang, DENG Congying, LU Sheng, ZENG Xianjun. Weaving process modeling and micro-geometry prediction of three-dimensional orthogonal woven fabrics [J]. Journal of Textile Research, 2023, 44(06): 105-113.
[2] XU Ruidong, LIU Hong, WANG Hang, ZHU Shifeng, QU Lijun, TIAN Mingwei. Construction and strain sensing properties of an ionic hydrogel composite fabric [J]. Journal of Textile Research, 2023, 44(06): 137-143.
[3] WANG Qinghong, WANG Ying, HAO Xinmin, GUO Yafei, WANG Meihui. Processing optimization of composite fabrics deposited with electrospinning polyamide nano-fibers [J]. Journal of Textile Research, 2023, 44(06): 144-151.
[4] ZHU Xiaorong, XIANG Youhui, HE Jiazhen, ZHAI Li'na. Thermal storage and discharge performance of fabrics with phase change material under low-level radiant heat exposure [J]. Journal of Textile Research, 2023, 44(06): 152-160.
[5] JIANG Zhiming, ZHANG Chao, ZHANG Chenxi, ZHU Ping. Preparation and properties of flame-retardant viscose fabrics modified with phosphated polyethyleneimine [J]. Journal of Textile Research, 2023, 44(06): 161-167.
[6] YUAN Jie, ZHAI Shu'na, LOU Lin, WANG Qicai, LEI Yutian. Research progress in fabric comfort based on event-related potential technique [J]. Journal of Textile Research, 2023, 44(06): 225-231.
[7] ZHOU Jiu, HU Yili. Design and application of equal float length on full-color weave in triple-weft jacquard fabric structures [J]. Journal of Textile Research, 2023, 44(06): 78-84.
[8] ZHENG Peixiao, JIANG Gaoming, CONG Honglian, LI Bingxian. Design and three-dimensional simulation of multi-color striped fabrics [J]. Journal of Textile Research, 2023, 44(06): 85-90.
[9] ZHANG Jing, CONG Honglian, JIANG Gaoming. Establishment and realization of technological model for weft-knitted two-side transfer fabrics [J]. Journal of Textile Research, 2023, 44(06): 98-104.
[10] ZHANG Meiling, ZHAO Meiling, ZHANG Cheng, LI Zhihui, SUN Zheng, ZHAO Xiaoxue, MIAO Changyun, WANG Rui, WANG Zhan'gang. Fabrication and properties of optical fiber sensing fabrics for respiratory monitoring [J]. Journal of Textile Research, 2023, 44(05): 102-111.
[11] SU Xuzhong, LIANG Qiaomin, WANG Huifeng, ZHANG Di, CUI Yihuai. Wearability of knitted fabrics produced from cotton/bio-based elastic polyester fiber [J]. Journal of Textile Research, 2023, 44(05): 119-124.
[12] WANG Yaqian, WAN Ailan, ZENG Deng. Preparation and performance evaluation of weft knitted ironing-free shirt fabric based on cotton/shape memory spandex [J]. Journal of Textile Research, 2023, 44(05): 125-131.
[13] HU Anzhong, WANG Chengcheng, ZHONG Ziheng, ZHANG Liping, FU Shaohai. Preparation and properties of fast response thermochromic textiles doped with boron nitride nanosheets [J]. Journal of Textile Research, 2023, 44(05): 164-170.
[14] WEI Yuhui, ZHENG Chen, CHENG Erxiao, ZHAO Shuhan, SU Zhaowei. Preparation and properties of photocatalytic self-cleaning aramid fabrics [J]. Journal of Textile Research, 2023, 44(05): 171-176.
[15] WANG Xiaohui, LI Xinyang, LI Yichen, HU Min'gan, LIU Guojin, ZHOU Lan, SHAO Jianzhong. Continuous preparation of large-area structurally colored fabric with bionic photonic crystals [J]. Journal of Textile Research, 2023, 44(05): 21-28.
Viewed
Full text


Abstract

Cited

  Shared   
  Discussed   
No Suggested Reading articles found!