Journal of Textile Research ›› 2023, Vol. 44 ›› Issue (08): 73-80.doi: 10.13475/j.fzxb.20220501401

• Textile Engineering • Previous Articles     Next Articles

Contact yarn tension measurement method based on convolutional filtering

PENG Laihu1,2, LIU Jianting1, LI Yang1, QI Yubao1, LI Jianqiang2(), MAO Muquan3   

  1. 1. Key Laboratory of Modern Textile Machinery & Technology of Zhejiang Province, Zhejiang Sci-Tech University, Hangzhou, Zhejiang 310018, China
    2. Research Institute of Zhejiang Sci-Tech University in Longgang, Wenzhou, Zhejiang 325802, China
    3. Hangzhou Golden Electromechanical Technology Co., Ltd., Hangzhou, Zhejiang 310018, China
  • Received:2022-05-06 Revised:2023-01-12 Online:2023-08-15 Published:2023-09-21

Abstract:

Objective During textile production, yarn tension has an important impact on product quality and production efficiency, and it is necessary to monitor the peak value of yarn tension in real time and obtain the stable value of current yarn tension. The textile equipment measures the yarn tension transmitted by the yarn conveyor in real time through the yarn tension sensor, and transmits the measurement results to the yarn conveyor for regulation. The existing yarn tension sensor can monitor the yarn tension, but because the measured tension signal has problems such as non convergence, large chattering, low accuracy and many burrs, it cannot be applied to the feedback regulation of yarn tension. Otherwise, the measurement error and amplitude will become larger.

Method When the yarn is fed and knitted into a loop by the yarn feeder and the needle cylinder at a certain speed ratio, the tension will fluctuate with high frequency while keeping relatively constant under the dynamic traction and transportation of the knitting needle and the yarn feeder. On the one hand, the yarn drawn by the knitting needle is a process of intermittently variable speed yarn bending and looping, with periodic motion characteristics. On the other hand, the yarn itself has certain elasticity. Under the action of periodic traction, the stress wave in the yarn body will also be scattered and reflected during the transmission process. The dominant performance is the high-frequency fluctuation of yarn tension. Taking the high-speed seamless underwear machine as an example, the highest frequency of yarn tension measurement is 2.6 kHz, so the tension sensor should meet the highest frequency response requirements. At the same time, on the premise that the yarn tension measurement does not distort and amplify the effective signal, the signal higher than this frequency should be filtered out. This paper first analyzes the characteristics of the problems existing in the existing yarn tension sensors, divides the interference signals into three types, namely, low frequency, high frequency and singular point noise, and then designs three algorithms to deal with them: first, filter the singular noise through the amplitude limiting filtering algorithm (the amplitude of the tension measurement results at a moment is far greater than the actual tension measurement results). High frequency noise is removed by low-pass filtering, and the yarn tension working frequency is taken as the threshold value. The signal above this frequency is defined as high frequency signal; The S-G convolution algorithm is used to remove the low-frequency coupling noise. The low-frequency even coupling signal and the actual working frequency are intertwined, and the low-frequency signal cannot be removed separately. In order to verify the reliability and practicability of the algorithm, an experimental platform for yarn tension measurement was built to compare and analyze the yarn tension measurement data and standard data under constant tension and variable tension conditions.

Results In order to further verify the accuracy and effectiveness of the algorithm, the yarn conveyor of the control platform changed the yarn tension from 36 cN to 42 cN, and used TENSOMETRIC tension sensor and the sensor designed in this paper to conduct real-time testing of tension fluctuation. It can be seen that the actual measured yarn tension conforms to the mutation law, and the yarn mutation tension fitted by this method is better than the tension fitted by the standard sensor. The results show that this method can control the tension measurement error within 0.6%, which has guiding significance for the yarn tension detection and control system under complex working conditions.

Conclusion By using the cantilever structure, filtering and convolution algorithm, this paper proposes a contact yarn tension detection method based on convolution filtering algorithm. Firstly, according to the characteristics of the yarn fluctuation of the high-speed seamless underwear machine and the structural characteristics of the cantilever beam, the optimization method of the yarn tension sensor is determined. Then, the acquired data are processed by amplitude limiting filtering, low-pass filtering and S-G convolution algorithm. Finally, the measured results are compared with those of TENSOMETRIC tension sensor through experiments. The tension error is within 0.6% and the standard deviation is within 0.62%. Moreover, this method has good applicability to the detection of yarn sudden change tension, and can meet the real-time measurement of yarn tension under complex working environment.

Key words: convolution filtering, cantilever beam, piezoresistive effect, yarn tension, noise interference, real-time measurement

CLC Number: 

  • TS181.9

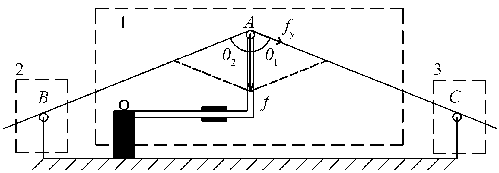
Fig. 1

Yarn measurement and signal processing scheme"

Fig. 2

Stress analysis diagram of yarn"

Fig. 3

Structural diagram of cantilever beam"

Fig. 4

Strain nephogram"

Fig. 5

First order modal analysis"

Fig. 6

Stress diagram of cantilever beam"

Fig. 7

Diagram of yarn tension fluctuation. (a)Waveform; (b)Spectrum"

Fig. 8

Diagram of closed loop gain amplifier circuit"

Fig. 9

Curves of vibration signal test"

Fig. 10

Diagram of software workflow"

Fig. 11

Block diagram of experimental platform"

Fig. 12

Static calibration"

Fig. 13

Static calibration fitting"

Fig. 14

Probability statistics histogram"

Fig. 15

Diagram of amplitude limiting filter. (a)Waveform;(b)Spectrum"

Fig. 16

Diagram of low pass filtering. (a) Waveform; (b)Spectrum"

Fig. 17

Comparison of fitting data"

Fig. 18

Actual tension test and fitting results"

[1] 蒋林军, 张华. 无传感参数自适应纱线卷绕张力控制方法[J]. 纺织学报, 2022, 43(4):167-173.
JIANG Linjun, ZHANG Hua. Sensorless parameter adaptive yarn winding tension control method[J]. Journal of Textile Research, 2022, 43(4): 167-173.
[2] CHEN G F, SUN H C, ZHAI L, et al. A capacitance based circuit design for yarn breaking detection[J]. Advanced Materials Research, 2012, 562-564:1840-1843.
[3] 朱光远, 祖洪飞. 用于小型化纱线张力仪的后端电路设计与实现[J]. 印制电路信息, 2021, 29(3):3-8.
ZHU Guangyuan, ZU Hongfei. Design and implementation of rear-end circuit for miniaturized yarn tensioner[J]. Printed Circuit Information, 2021, 29(3): 3-8.
[4] 李雪娇, 张琦. 高速经编机纱线动态张力自适应式积极调控[J]. 针织工业, 2022(5):13-16.
LI Xuejiao, ZHANG Qi. Adaptive active regulation of yarn dynamic tension on high-speed warp knitting machine[J]. Knitting Industries, 2022(5): 13-16.
[5] 孙帅, 缪旭红, 张灵婕, 等. 经编纱线张力补偿装置的工作机制[J]. 纺织学报, 2018, 39(11):140-144.
SUN Shuai, MIAO Xuhong, ZHANG Lingjie, et al. Working mechanism of warp knitted yarn tension compensation device[J]. Journal of Textile Research, 2018, 39(11): 140-144.
doi: 10.1177/004051756903900203
[6] 陈红霞, 蒋高明. 经编机经纱动态张力数字化测试[J]. 针织工业, 2004(6):35-38,23.
CHEN Hongxia, JIANG Gaoming. Digital test of warp dynamic tension on warp knitting machine[J]. Knitting Industries, 2004 (6): 35-38,23.
[7] 章钰娟, 彭来湖, 徐郁山, 等. 非接触式纱线状态检测技术研究[J]. 现代纺织技术, 2022, 30(1):101-018.
ZHANG Yujuan, PENG Laihu, XU Yushan, et al. Research on non-contact yarn condition detection technology. Modern Textile Technology, 2022, 30(1):101-108.
[8] 吴震宇, 陈琳荣, 李子军, 等. 接触式纱线张力传感器动态测量模型[J]. 纺织学报, 2013, 34(8):138-142.
WU Zhenyu, CHEN Linrong, LI Zijun, et al. Contact yarn tension transfer sensor dynamic measurement model[J]. Journal of Textile Research, 2013, 34(8): 138-142.
[9] VÍTOR Carvalho. Yarn evenness parameters evaluation: a new approach[J]. Textile Research Journal, 2008, 78(2): 119-127.
doi: 10.1177/0040517507076744
[10] MIKOLAJCZYK Z. Model of the feeding process of anisotropic warp knitted fabrics[J]. Fibres and Textiles in Eastern Europe, 2003, 11(2): 58 - 62.
[11] JAFARIPANAH M, AL-HASHIMI B M, WHITE N M. Application of analog adaptive filters for dynamic sensor compensation[J]. IEEE Transactions on Instrumentation and Measurement, 2005, 54 (1): 245 - 251.
doi: 10.1109/TIM.2004.839763
[12] AFARIPANAH M, ALHASHIMI B M, WHITE N M. Dynamic sensor compensation using analogue adaptive filter compatible with digital technology[J]. IEE Proceedings—Circuits,Devices and Systems, 2005, 152(6): 745 - 751.
doi: 10.1049/ip-cds:20045146
[1] LI Yang, PENG Laihu, LIU Jianting, HU Xudong, ZHENG Qiuyang. Measurement of yarn tension in axial direction based on transverse vibration frequency [J]. Journal of Textile Research, 2023, 44(06): 72-77.
[2] JI Yue, PAN Dong, MA Jiedong, SONG Limei, DONG Jiuzhi. Yarn tension non-contacts detection system on string vibration based on machine vision [J]. Journal of Textile Research, 2023, 44(05): 198-204.
[3] YING Zhiping, WANG Weiqing, WU Zhenyu, HU Xudong. Compression after impact performance of three-dimensional orthogonal woven composites [J]. Journal of Textile Research, 2023, 44(01): 129-135.
[4] PENG Laihu, ZHANG Yujuan, LÜ Yongfa, DAI Ning, LI Jianqiang. Detection method and dynamic characteristics of weft yarn delivery [J]. Journal of Textile Research, 2022, 43(12): 167-172.
[5] GUO Min, GAO Weidong, ZHU Bo, LIU Jianli, GUO Mingrui. Test method for abrasion resistance of sized yarn under simulated weaving conditions [J]. Journal of Textile Research, 2021, 42(11): 46-50.
[6] DAI Ning, PENG Laihu, HU Xudong, ZHONG Yaosen, QI Dongming. Transverse vibration characteristics of knitting needles in seamless underwear machines based on axial movement cantilever beam theory [J]. Journal of Textile Research, 2021, 42(02): 193-20.
[7] SUN Shuai, MIAO Xuhong, ZHANG Qi, WANG Jin. Yarn tension fluctuation on high-speed warp knitting machine [J]. Journal of Textile Research, 2020, 41(03): 51-55.
[8] XU Yunlong, XIA Fenglin. Influence of guide-bar swing on instantaneous yarn demand and yarn tension on double needle bar warp knitting machine [J]. Journal of Textile Research, 2019, 40(06): 106-110.
[9] . Working mechanism of warp knitting yarn tension compensator [J]. Journal of Textile Research, 2018, 39(11): 140-144.
[10] . Evaluation of dynamic tension of warp knitting yarn [J]. JOURNAL OF TEXTILE RESEARCH, 2018, 39(02): 68-72.
[11] . Modeling and influence about speed of released-yarn in braiding spindles on yarn tension [J]. JOURNAL OF TEXTILE RESEARCH, 2017, 38(06): 111-117.
[12] . Analysis on yarn tension properties of balloon bottom of BC9 ring [J]. JOURNAL OF TEXTILE RESEARCH, 2016, 37(08): 119-124.
[13] . Dynamic tension analysis on winding yarn in jacquard device of tufting carpet machine [J]. JOURNAL OF TEXTILE RESEARCH, 2015, 36(07): 136-141.
[14] . Dynamic measurement model of contact tension sensor for yarn [J]. JOURNAL OF TEXTILE RESEARCH, 2013, 34(8): 138-0.
[15] DING Cai-hong;TANG Jun . Mechanism analysis of yarn tension stabilization using pulling rollers [J]. JOURNAL OF TEXTILE RESEARCH, 2010, 31(2): 110-114.
Viewed
Full text


Abstract

Cited

  Shared   
  Discussed   
No Suggested Reading articles found!