Journal of Textile Research ›› 2024, Vol. 45 ›› Issue (03): 209-218.doi: 10.13475/j.fzxb.20220906602

• Machinery & Equipment • Previous Articles     Next Articles

Progress of research and application in air-jet vortex spinning machine and key technologies

SHAO Yinghai1, ZHAO Yeping1, HAN Xianguo1, CAO Jipeng1(), ZHANG Mingguang1, CHEN Wen2   

  1. 1. Liaodong University, Dandong, Liaoning 118003, China
    2. Fujian Xinhuayuan Technology Group Co., Ltd., Fuzhou, Fujian 350200, China
  • Received:2022-09-26 Revised:2023-04-25 Online:2024-03-15 Published:2024-04-15
  • Contact: CAO Jipeng E-mail:cjp0521@163.com

Abstract:

Significance Air-jet vortex spinning machine (AVSM) is an spinning equipment with high spinning speed and efficiency in achieving high quality of multi-variety yarns, which is developed on the basis of jet spinning technology. AVSM is employed by more textile enterprises and has a profound scope for spinning of medium and long lengths staple cotton and blended yarns. But the technology of AVSM has its disadvantages and limitations of significant fiber loss, 100% short fiber loss for cotton yarn spinning. The limitation of the spinning range can be expected to overcome by the market leading enterprises of AVSM. Thus, in order to understand the current application, research development and present problems in AVSM by domestic and foreign spinning enterprises, a comprehensive analysis of the results of research and patent design achieved in AVSM is presented.

Progress Modern air-jet vortex spinning (AVS) technology is basically a new spinning technology developed on the base of the Murata AVSM. The key technologies and principle related to the AVS process include cotton guiding and feeding, sliver drafting, conveying, AVS device, yarn winding, and yarn packaging. The AVS device is the core device of AVSM, and the earliest version was manufactured by Murata. Later Gernot from Rieter proposed another AVS device, which is with different designs for the spindle, needle guider, and nozzle block. The research on in two types of AVS device have been made in the aspects of structure optimization, CFD simulation of three-dimensional air flow field inside of AVS device. Some improved structures of AVS device were proposed for reducing rate of short fiber falling, and for increasing the spinning rate. Huayan in Shaanxi designed two-split structure of AVS device controlled by pneumatic cylinder for opening and closing of the upper and the lower branches. The double AVS devices composed of the upper and lower branches was design to prevent fibers to be taken away from the airflow for improving the spinning rate. There are a few designs of the needle block with special features, i.e., the movable needle with adjustable axial position, or adjustable angle between guide hole and needle, the more guide holes and heating function. In nozzle block, some improved designs were made such as four adjacent spiral vortex grooves on chamber wall, three-stage structure, the surrounding spiral pipe on the outer surface for further improving the spinning effect.

Conclusion and Prospect For understanding the main application and research status of AVS technology, the relevant patents and research papers are reviewed. The research shows that the main research content of AVSM and its key technology are developed by some Chinese spinning enterprises and textile research institutes such as Huayan in Shanxi, Jiangyin Huafang New Science and Technology Ltd. Co. and so on with many related patents mainly focusing on the improved structural design of the AVS device and its related components. Overseas large-scale production of AVSM is mainly made from Murata and Rieter. Global research is also focused on the content of AVS of Murata, and more researches carry out simulation analysis on AVS device and on the spinning performance. In comparison with the early development of AVSM from Murata and Rieter, the relevant achievements of application and research progress of AVS technology are not noticeable. At present, the nozzle chamber of AVSM is often designed as the conical frustum model, in which the working principles of setting multiple air-jet vents in tangential direction of the chamber surface for producing the swirling air flow to make fiber false twisting has not changed. Looking forward to the future, CFD analysis and experimental research of AVS device will be needed aiming at the design of chamber structures, the production of higher strength yarn and the optimization of twisted vortex for improving the performance of AVS, meeting the production of multifunctional yarns and manufacturing yarns from short cotton fiber. In addition, with the progress of science and technology, more and more automation and intelligence control systems will be developed and applied in the AVSM such as electronic yarn cleaner, detection and control of foreign fibers, short fibers diagnosis, visualization, and others.

Key words: air-jet vortex spinning, spinning device, nozzle block, conveying mechanism, winding mechanism

CLC Number: 

  • TS112

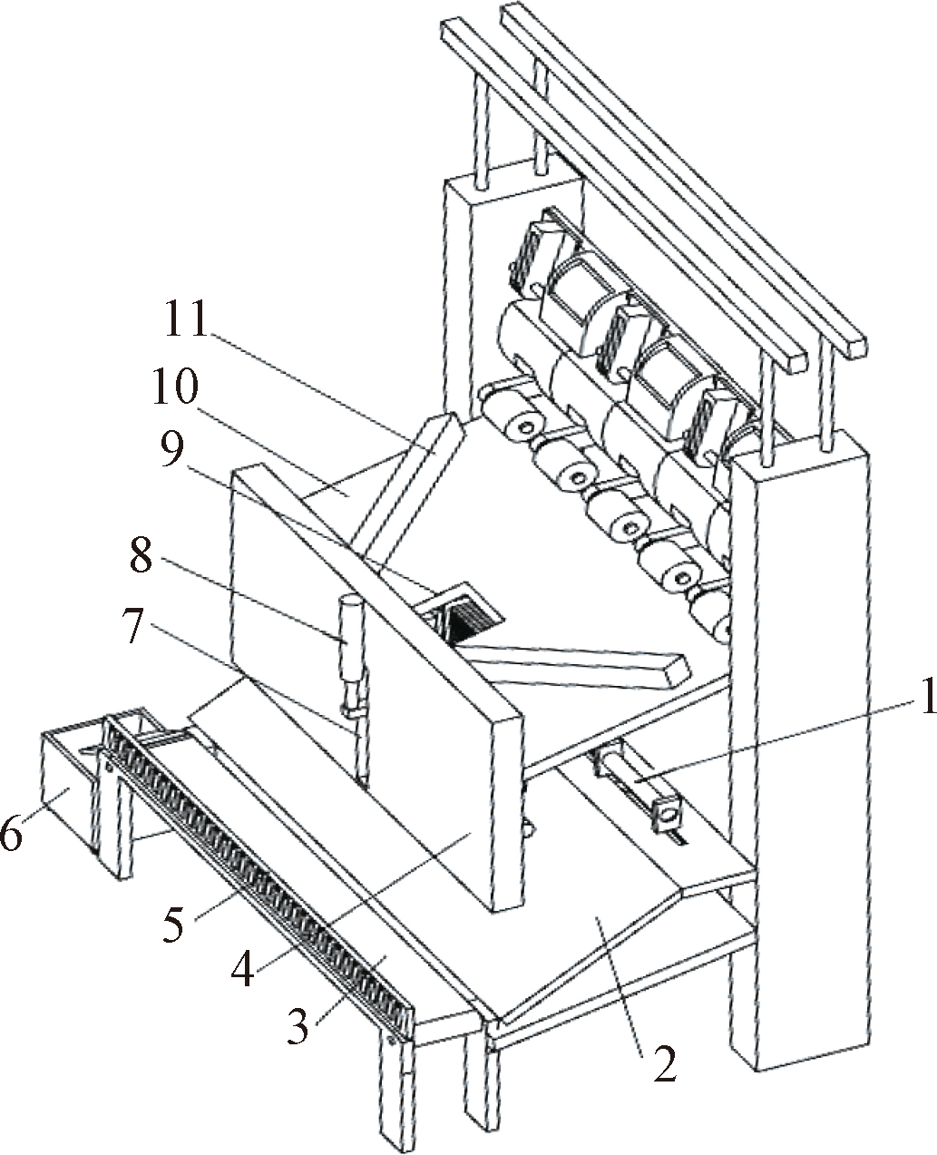
Fig.1

Process and device of air-jet vortex spinning. (a)Typical device of air-jet vortex spinning process; (b)Spinning device"

Fig.2

Air-jet vortex spinning device for yarns of A and B types"

Fig.3

Spinning device manufactured by Murata"

Fig.4

Spinning device manufactured by Rieter"

Fig.5

Spinning device designed by Shaanxi Huayan. (a)General layout; (b)Internal structure of spinning device"

Fig.6

Structures of needle holder. (a)Movable needle; (b)Multifunctional needle"

Fig.7

Improved nozzle blocks. (a)Vortex groove inner surface; (b)Three sections; (c)Added air-jet hole"

Fig.8

Improved structures of spindle. (a)Double layer with holes in inner cylinder surface; (b)Grooved inner surface on inlet; (c)Two-section truncated cone and cone shape on inlet"

Fig.9

Winding device"

[1] 尚珊珊, 郁崇文. 喷气涡流纺纱机涡流管设计初探[J]. 棉纺织技术, 2013, 41(4): 18-20.
SHANG Shanshan, YU Chongwen. Discussion of vortex tube design in air jet vortex spinning frame[J]. Cotton Textile Technology, 2013, 41(4): 18-20.
[2] 俞兆昇. 喷气涡流纺纱方法研究[D]. 上海: 东华大学, 2006: 14-23.
YU Zhaosheng. Research in air-jet vortex spinning[D]. Shanghai: Donghua University, 2006: 14-23.
[3] MURATA Machinery Ltd. History[EB/OL]. [2022-09-07]. https://www.muratec.net/corp/info/history.html.
[4] 孔聪. 涤纶与棉的喷气涡流纺纱研究[D]. 上海: 东华大学, 2015: 1-4.
KONG Cong. Study on air-jet vortex spinning of polyester and cotton[D]. Shanghai: Donghua University, 2015: 1-4.
[5] 陈鑫秋, 程厚基. 津纺研48锭涡流纺纱机简介[J]. 棉纺织技术, 1980 (2): 11-15.
CHEN Xinqiu, CHENG Houji. Introduction to Jinfangyan 48-spindles vortex spinning machine[J]. Cotton Textile Technology, 1980 (2): 11-15.
[6] 徐惠君. 我国新型纺纱的今天、昨天和明天[C]//第17届全国新型纺纱学术会论文集. 北京: 中国纺织工程学会, 2014:8-14.
XU Huijun. Today-yesterday and tomorrow of our new type of spinning[C]// Proceedings of the 17th National New Spinning Academic Conference. Beijing: China Textile Engineering Society, 2014:8-14.
[7] 王庆球. WF1型20头涡流纺纱机鉴定会议[J]. 上海纺织科技, 1980, 8(9): 18.
WANG Qingqiu. Appraisal meeting of WF1 type and 20 heads vortex spinning machine[J]. Shanghai Textile Science & Technology, 1980, 8(9): 18.
[8] 陈国樑. HFW80喷气涡流纺纱机的研发[C]//第17届全国新型纺纱学术会论文集. 北京: 中国纺织工程学会, 2014: 85-87.
CHEN Guoliang. Development of HFW80jet vortex spinning machine[C]// Proceedings of the 17th National New Spinning Academic Conference. Beijing: China Textile Engineering Society, 2014: 85-87.
[9] 吕杨. 为什么越来越多人选择涡流纺?[J]. 纺织机械, 2017 (5):49.
LÜ Yang. Why are more and more people choosing vortex spinning?[J]. Textile Machinery, 2017 (5): 49.
[10] 全球纺织网.2020年全国涡流纺产能继续增长[EB/OL].(2020-06-12).https://www.tnc.com.cn/info/c-040001-d-3701862.html.
Global Textile Net. The national vortex spinning production capacity continued to grow in 2020[EB/OL].(2020-06-12).https://www.tnc.com.cn/info/c-040001-d-3701862.html.
[11] 顾平. HYF369喷气涡流纺纱机通过鉴定[J]. 纺织机械, 2014(6): 29.
GU Ping. HYF369 jet vortex spinning machine passed the certification[J]. Textile Machinery, 2014(6): 29.
[12] 华燕牌喷气涡流纺纱机首次占领国内市场[EB/OL]. [2022-09-07].https://www.sohu.com/a/160518725_810202.
The air-jet vortex spinning machine of Huayan occupied the domestic market for the first time[EB/OL]. [2022-09-07].https://www.sohu.com/a/160518725_810202.
[13] DENO K. Spinning apparatus with twisting guide surface: US5528895[P]. 1996-06-25.
[14] 吴俊年, 龚正晖, 童文雯, 等.一种柔软型涡流纺纱线加工装置: 201610626549.0[P]. 2016-10-12.
WU Junnian, GONG Zhenghui, TONG Wenwen, et al. A kind of flexible vortex spinning yarn processing device: 201610626549.0[P]. 2016-10-12.
[15] 何卫民, 宋祖龙, 龚金华, 等.一种涡流纺纺制AB纱的纺纱装置: 201420390508.2[P]. 2014-12-03.
HE Weimin, SONG Zulong, GONG Jinhua, et al. The spinning device for vortex spinning A & B yarn: 201420390508.2[P]. 2014-12-03.
[16] 李向东, 杨瑞华, 杨广磊, 等.三通道喷气涡流混纺纱的生产方法: 201810546832.1[P]. 2018-10-16.
LI Xiangdong, YANG Ruihua, YANG Guanglei, et al. Spinning method of three-channel air-jet vortex spinning blended yarn: 201810546832.1[P]. 2018-10-16.
[17] 郑卫国, 王强, 徐轶娄.一种涡流纺纱用张力调节装置: 201911290267.8[P]. 2020-04-03.
ZHENG Weiguo, WANG Qiang, XU Yilou.A tension adjustment device in vortex spinning: 201911290267.8[P]. 2020-04-03.
[18] 兰书迁.一种涡流纺纱装置用胶圈: 201920808864.4[P]. 2020-03-31.
LAN Shuqian.A kind of glue ring for vortex spinning device: 201920808864.4[P]. 2020-03-31.
[19] 牛宗伟, 刘习亮.一种新型纺纱涡流纺牵伸胶辊: 201921716246.3[P]. 2020-08-07.
NIU Zongwei, LIU Xiliang.A new type of drawing roller in vortex spinning: 201921716246.3[P]. 2020-08-07.
[20] 王强, 周琼, 申家伟.一种涡流纺前牵引胶辊: 201911290046.0[P]. 2020-04-03.
WANG Qiang, ZHOU Qiong, SHEN Jiawei.A front trac-tion roller in vortex spinning: 201911290046.0[P]. 2020-04-03.
[21] 吕波, 张胜应, 陈向东, 等.一种涡流纺特种纱生产装置: 201921497908.2[P]. 2020-06-16.
LÜ Bo, ZHANG Shengying, CHEN Xiangdong, et al. The vortex spinning equipment for a special yarn: 201921497908.2[P]. 2020-06-16.
[22] GERNOT S. Air-jet spinning device: US20070125062Al[P]. 2007-06-07.
[23] 张勇. 喷气涡流纺喷嘴中三维气流场及纤维运动的研究[D]. 上海: 东华大学, 2013: 6-25.
ZHANG Yong. The numerical simulation of flow field and fiber motion in the nozzle of air-voetex spinning[D]. Shanghai: Donghua University, 2013: 6-25.
[24] 邹专勇, 俞建勇, 薛文良, 等. 喷气涡流纺喷嘴内部三维流场的数值研究[J]. 纺织学报, 2008, 29(2): 86-89.
ZOU Zhuanyong, YU Jianyong, XUE Wenliang, et al. Numerical study of three-dimensional flow field inside the nozzle of air jet vortex spinning[J]. Journal of Textile Research, 2008, 29(2): 86-89.
[25] 周双喜. 喷气涡流纺强力影响因素及其相关技术的研究[D]. 上海: 东华大学, 2011: 8-22.
ZHOU Shuangxi. The main factor of influencing yarn strength and related technical research[D]. Shanghai: Donghua University, 2011: 8-22.
[26] PEI Z, YU C. Study on the principle of yarn formation of Murata vortex spinning using numerical simul-ation[J]. Textile Research Journal, 2009, 79(14): 1274-1280.
doi: 10.1177/0040517509102227
[27] MOAZ E, EVA M. Numerical simulation of the yarn form-action process in Rieter air jet spinning[J]. Journal of the Textile Institute, 2017, 108(7): 1219-1226.
[28] NAZAN E, BULENT O, WILLIAM O. Vortex spinning technology[J]. Textile Progress, 2012, 44(3/4): 141-174.
doi: 10.1080/00405167.2012.739345
[29] MOHAMED E, SAYED I, RAMSIS F. Dynamic properties of air-jet yarns compared to rotor spinning[J]. Textile Research Journal, 2015, 85(17): 1827-1837.
doi: 10.1177/0040517514563726
[30] 邹专勇, 程隆棣, 薛文良, 等.低落纤的喷气涡流纺装置: 200810038025.5[P]. 2008-10-29.
ZOU Zhuanyong, CHENG Longdi, XUE Wenliang, et al. An air jet vortex spinning device for low-drop fiber: 200810038025.5[P]. 2008-10-29.
[31] 程隆棣, 祝章琛, 于修业, 等.喷气涡流纺复式加捻器: 02112467.1[P]. 2005-05-04.
CHENG Longdi, ZHU Zhangchen, YU Xiuye, et al. Duplex twister in air-jet vortex spinning: 02112467.1[P]. 2005-05-04.
[32] 曹云霞, 樊宝军, 陶定宝, 等.一种喷气涡流纺纱器: 201520847834.6[P]. 2016-04-06.
CAO Yunxia, FAN Baojun, TAO Dingbao, et al. An air-jet vortex spinning device: 201520847834.6[P]. 2016-04-06.
[33] 尚珊珊, 郁崇文. 喷气涡流纺导引体结构参数的优化[J]. 南通大学学报(自然科学版), 2012, 11(3): 24-28.
SHANG Shanshan, YU Chongwen. Optimization of guid ance body's structural parameters in jet vortex spinning[J]. Journal of Nantong University: Natural Science Edition, 2012, 11(3): 24-28.
[34] 裴泽光, 张岩, 何建.喷气涡流纺纱装置中纤维导引体及其制造方法: 201711389638.9[P]. 2018-05-11.
PEI Zeguang, ZHANG Yan, HE Jian.Fiber guider and method of its manufacturing in air jet vortex spinning device: 201711389638.9[P]. 2018-05-11.
[35] 吴兴武, 郑卫国, 崔小峰.一种新型涡流纺纱机用纺纱管: 201810624717.1[P]. 2018-09-11.
WU Xingwu, ZHENG Weiguo, CUI Xiaofeng.A new type of spinning tube for vortex spinning machine: 201810624717.1[P]. 2018-09-11.
[36] 西蒙·芬克, 托马斯·兰德辛格. 用于喷气纺纱机纺纱喷嘴的纤维导向元件以及操作喷气纺纱机的方法: 201710907371.1[P]. 2021-08-31.
SIMON Fenker, THOMAS Landschinger.Fiber guiding elements for air jet spinning nozzle and method of operating the air jet spinning machine: 201710907371.1[P]. 2021-08-31.
[37] 吴兴武, 徐轶娄, 王强, 等.一种新型涡流纺纱喷嘴结构: 201711395758.X[P]. 2018-04-13.
WU Xingwu, XU Yilou, WANG Qiang, et al. A new type of nozzle structure in vortex spinning: 201711395758.X[P]. 2018-04-13.
[38] 郑卫国, 冯合林, 周琼.一种用于超细高强度纱线的涡流纺纱机喷嘴: 201810624721.8[P]. 2018-09-14.
ZHENG Weiguo, FENG Helin, ZHOU Qiong.A nozzle for ultra-fine high-strength yarn in vortex spinning machine: 201810624721.8[P]. 2018-09-14.
[39] 姚丞棋.一种可调式涡流纺纱机用纺纱管: 201820597458.3[P]. 2019-03-22.
YAO Chengqi.An adjustable spinning tube for vortex spinning machine: 201820597458.3[P]. 2019-03-22.
[40] 陈敏秀.一种可调式涡流纺纱机用纺纱管: 201620566860.6[P]. 2016-12-21.
CHEN Minxiu.An adjustable spinning tube for vortex spinning machine: 201620566860.6[P]. 2016-12-21.
[41] 崔小峰, 徐轶娄, 王强.一种涡流纺纱进气装置: 201922249235.5[P]. 2020-11-24.
CUI Xiaofeng, XU Yilou, WANG Qiang.An air intake device for vortex spinning: 201922249235.5[P]. 2020-11-24.
[42] 董坚强.一种进气可控式涡流纺纱设备: 201820803574.6[P]. 2019-06-07.
DONG Jianqiang.A controllable air intake equipment in vortex spinning: 201820803574.6[P]. 2019-06-07.
[43] 卢雨正, 孙丰鑫, 郭明瑞, 等.一种涡流纺纱喷嘴装置: 201911034006.X[P]. 2020-01-07.
LU Yuzheng, SUN Fengxin, GUO Mingrui, et al. A nozzle device in vortex spinning: 201911034006.X[P]. 2020-01-07.
[44] 王强, 徐轶娄, 吴兴武, 等.一种喷气涡流纺加捻器: 201711394247.6[P]. 2018-04-13.
WANG Qiang, XU Yilou, WU Xingwu, et al. A kind of twister in air-jet vortex spinning: 201711394247.6[P]. 2018-04-13.
[45] 陈国樑, 张宇雷, 邵琴.一种纺纱涡流管: 200920118144.1[P]. 2010-04-14.
CHEN Guoliang, ZHANG Yulei, SHAO Qin.A kind of spinning vortex tube: 200920118144.1[P]. 2010-04-14.
[46] HASSAN A H, AHMED R S, AFIFY A H, et al. Numerical and experimental study of the influence of nozzle flow parameters on yarn production by jet-ring spinning[J]. Alexandria Engineering Journal, 2018, 57: 2975-2989.
doi: 10.1016/j.aej.2018.06.002
[47] 钱利, 沈家康, 王国柱, 等.一种涡流纺纱装置: 201820411291.7[P]. 2019-01-22.
QIAN Li, SHEN Jiakang, WANG Guozhu, et al. A vortex spinning device: 201820411291.7[P]. 2019-01-22.
[48] 夏治刚, 刘英, 徐卫林.一种旋转锭涡流纺纱方法: 201910017189.8[P]. 2019-05-10.
XIA Zhigang, LIU Ying, XU Weilin.A vortex spinning method with a rotating spindle: 201910017189.8[P]. 2019-05-10.
[49] 裴泽光, 马乾坤.一种具有抽吸元件的喷气涡流纺纱装置: 201210448715.4[P]. 2013-02-13.
PEI Zeguang, MA Qiankun.Air-jet vortex spinning device with suction element: 201210448715.4[P]. 2013-02-13.
[50] 薛文良, 程隆棣, 俞建勇, 等.喷气涡流纺专用自捻空心锭: 200910045808.0[P]. 2009-07-08.
XUE Wenliang, CHENG Longdi, YU Jianyong, et al. A special self-twisting hollow spindle for air-jet vortex spinning: 200910045808.0[P]. 2009-07-08.
[51] 卢雨正, 孙丰鑫, 郭明瑞, 等.一种涡流纺设备纺纱用空心锭: 202010373490.5[P]. 2020-07-10.
LU Yuzheng, SUN Fengxin, GUO Mingrui, et al. A hollow spindle for vortex spinning equipment: 202010373490.5[P]. 2020-07-10.
[52] 张鹏铭, 周青青, 王剑浪.一种涡流纺组合喷嘴: 201611202378.5[P]. 2017-03-15.
ZHANG Pengming, ZHOU Qingqing, WANG Jianlang.A combined nozzle in vortex spinning: 201611202378.5[P]. 2017-03-15.
[53] 闫琳琳, 虞美雅, 邹专勇, 等. 螺旋导引槽空心锭子对喷气涡流纺成纱性能的影响[J]. 上海纺织科技, 2018, 46 (11): 28-30.
YAN Linlin, YU Meiya, ZOU Zhuanyong, et al. Effect of the hollow spindle with spiral guiding grooves on the yarn properties of air-jet vortex spinning[J]. Shanghai Textile Science & Technology, 2018, 46 (11): 28-30.
[54] 赵乐园, 方正伟, 杨文彬.一种涡流纺的成品转运装置: 202020134088.7[P]. 2020-10-13.
ZHAO Leyuan, FANG Zhengwei, YANG Wenbin.A finished product transfer device in vortex spinning: 202020134088.7[P]. 2020-10-13.
[55] 胡建平, 周红兴, 翁海良, 等.一种具有移动式除尘装置的涡流纺织机: 202020134591.2[P]. 2020-10-23.
HU Jianping, ZHOU Hongxing, WENG Hailiang, et al. A vortex spinning machine with mobile dust removal device: 202020134591.2[P]. 2020-10-23.
[1] MIAO Lulu, DONG Zhengmei, ZHU Fanqiang, RONG Hui, HE Linwei, ZHENG Guoquan, ZOU Zhuanyong. Influence of core filament type and delivery speed on performance of air-jet vortex spun core-spun yarns [J]. Journal of Textile Research, 2023, 44(12): 50-57.
[2] ZOU Zhuanyong, MIAO Lulu, DONG Zhengmei, ZHENG Guoquan, FU Na. Effect of air-jet vortex spinning process on properties of viscose/polyester core-spun yarns [J]. Journal of Textile Research, 2022, 43(08): 27-33.
[3] LI Hao, XING Mingjie, SUN Zhihao, WU Yao. Exploration of image-based testing method for yarn twist in air-jet vortex spinning [J]. Journal of Textile Research, 2021, 42(02): 60-64.
Viewed
Full text


Abstract

Cited

  Shared   
  Discussed   
No Suggested Reading articles found!