Journal of Textile Research ›› 2021, Vol. 42 ›› Issue (04): 132-138.doi: 10.13475/j.fzxb.20200203107

• Dyeing and Finishing & Chemicals • Previous Articles     Next Articles

Construction of bio-based three-component self-assembled coating for flame retardancy of ramie fabrics

WANG Huaqing1, YAN Hongqiang2()   

  1. 1. Zhejiang Fashion Institute of Technology, Ningbo, Zhejiang 315211, China
    2. Institute of Polymer Material and Engineering, Ningbotech University, Ningbo, Zhejiang 315100, China
  • Received:2020-02-17 Revised:2021-01-18 Online:2021-04-15 Published:2021-04-20
  • Contact: YAN Hongqiang E-mail:yanhongqiang@nit.net.cn

Abstract:

In order to solve the flammability of ramie fibers and their reinforced composites, sodium alginate (SA) and poly (diphenolic acid-phenyl phosphate) ((poly(DPA-PDCP)) from biomass were used as the polyanion electrolyte and polyethyleneimine (PEI) as the polycation electrolyte, three-component (SA/PEI/poly(DPA-PDCP)/PEI)n flame retardant coating was constructed on the surface of ramie fabrics by layer-by-layer assembly technique. The morphology, thermal stability and flame retardancy of the coating and hence the coated fabrics were characterized using Fourier transform infrared spectroscopy, scanning electron microscopy, thermogravimetric analyzer, microscale combustion calorimetry, vertical combustion tester. The experimental results show that a multi-layered, thick and dense (SA/PEI/poly(DPA-PDCP)/PEI)n flame retardant coating is successfully constructed on the surface of ramie fabrics. This flame retardant coating reduces significantly the thermal decomposition rate of ramie fabrics, forming a thick and dense intumescent flame retardant carbon layer on its surface, which insulates effectively the heat and oxygen, improves its thermal stability and carbon forming ability, and gives the ramie fabrics excellent flame retardancy. This research demonstrates a solution to the problem of poor flame retardancy of ramie reinforced composites.

Key words: ramie fabric, bio-based flame retardant, layer-by-layer assembly, flame retardancy, functional fabric

CLC Number: 

  • TB324

Fig.1

Schematic representation construction of SA/PEI/poly(DPA-PDCP) coating on ramie fabric by LbL assembly"

Tab.1

Percentage of mass increase of pristine and coated ramie fabrics"

样品编号 样品名称 质量增加率/%
n-0 未处理的苎麻织物
S-1 (SA/PEI/poly(DPA-PDCP)/PEI)1 3.10
P-1 (poly(DPA-PDCP)/PEI/SA/PEI)1 2.03
S-5 (SA/PEI/poly(DPA-PDCP)/PEI)5 10.85
P-5 (poly(DPA-PDCP)/PEI/SA/PEI)5 8.68
S-10 (SA/PEI/poly(DPA-PDCP)/PEI)10 20.56
P-10 (poly(DPA-PDCP)/PEI/SA/PEI)10 18.46

Fig.2

ATR-FT-IR spectra of pristine and coated ramie fabrics"

Fig.3

SEM images of pristine and (SA/PEI/poly(DPA-PDCP)/PEI)n coated ramie fabrics"

Fig.4

TG (a) and DTG (b) curves of pristine and (SA/PEI/poly(DPA-PDCP)/PEI)n coated ramie fabrics under N2 atmosphere"

Fig.5

TG (a) and DTG (b) curves of pristine and (SA/PEI/poly(DPA-PDCP)/PEI)n coated ramie fabrics under air atmosphere"

Tab.2

TG results of pristine and (SA/PEI/poly(DPA-PDCP)/PEI)n coated ramie fabrics"

测试气氛 样品编号 T5%/℃ Tmax1/℃ 第1分解峰峰值/
(%·min-1)
Tmax2/℃ 第2分解峰峰值/
(%·min-1)
600 ℃时的
残炭率/%
氮气 n-0 339.0 378.0 -41.87 16.8
S-1 331.0 367.0 -42.64 18.9
S-5 300.0 357.0 -23.49 27.1
S-10 240.4 350.4 -23.86 27.1
空气 n-0 331.3 353.3 -78.96 483.3 -5.76 3.7
S-1 323.9 350.3 -59.17 501.8 -5.37 2.7
S-5 305.0 346.0 -24.88 527.0 -6.42 5.0
S-10 249.8 344.0 -25.34 531.7 -5.67 10.9

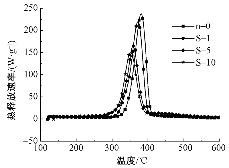
Fig.6

MCC curves of pristine and (SA/PEI/poly (DPA-PDCP)/PEI)n coated ramie fabrics"

Tab.3

MCC and LOI test results of pristine and (SA/PEI/poly(DPA-PDCP)/PEI)n coated ramie fabrics"

样品编号 热释放焓/(J·g-1·K-1) 总热释放量/(kJ·g-1) 热释放速率峰值/(W·g-1) 热释放速率峰值温度/℃ LOI值/%
n-0 230 9.2 237.5 381.3 18.4
S-1 212 8.3 219.4 372.8 20.3
S-5 158 6.0 165.9 358.5 23.2
S-10 142 4.8 149.5 352.0 26.3

Fig.7

Images of vertical ?ame tests for pristine and (SA/PEI/poly(DPA-PDCP)/PEI)n coated ramie fabrics. (a) After 5 s ignition; (b) Char residues after vertical combustion test"

Fig.8

SEM images of residual carbon for pristine and (SA/PEI/poly(DPA-PDCP)/PEI)n coated ramie fabrics after vertical flame tests"

[1] WANG C H, REN Z L, SHAN L, et al. Effect of ramie fabric chemical treatments on the physical properties of thermoset polylactic acid (PLA) composites[J]. Aerospace, 2018,5(3):93.
[2] LEJA K, LEWANDOWICZ G. Polymer biodegradation and biodegradable polymers: a review[J]. Polish Journal of Environmental Studies, 2010,19(2):255-266.
[3] SINGH A, VARGHESE L M, BATTAN B, et al. Eco-friendly scouring of ramie fibers using crude xylano-pectinolytic enzymes for textile purpose[J]. Environmental Science and Pollution Research, 2020,27:6701-6710.
doi: 10.1007/s11356-019-07424-9 pmid: 31873900
[4] GASSAN J, BLEDZKI A K. Effect of cyclic moisture absorption desorption on the mechanical properties of silanized jute-epoxy composites[J]. Polymer Composites, 1999,20(4):604-611.
[5] GU Y Z, TAN X L, YANG Z J. Hot compaction and mechanical properties of ramie fabric/epoxy composite fabricated using vacuum assisted resin infusion molding[J]. Materials & Design, 2014,56:852-861.
[6] FILHO F D C G, LUZ F S D, NASCIMENTO L F C, et al. Mechanical properties of boehmeria nivea natural fabric reinforced epoxy matrix composite prepared by vacuum-assisted resin infusion molding[J]. Polymers, 2020,12:1311.
[7] YU T, JIANG N, LI Y. Study on short ramie fiber/ poly(lactic acid) composites compatibilized by maleic anhydride[J]. Composites Part A: Applied Science and Manufacturing, 2014,64:139-146.
[8] WANG H G, XIAN G J, LI H, et al. Durability study of a ramie-fiber reinforced phenolic composite subjected to water immersion[J]. Fibers and Polymers, 2014,15(5):1029-1034.
[9] 鲁小城, 闫红强, 王华清, 等. 阻燃苎麻/酚醛树脂复合材料的制备及性能[J]. 复合材料学报, 2011,28(3):1-5.
LU Xiaocheng, YAN Hongqiang, WANG Huaqing, et al. Preparation and properties of flame retarded ramie/phenolic resin composites[J]. Acta Materiae Compositae Sinica, 2011,28(3):1-5.
[10] 陈志军, 刘兴乔, 柳浩, 等. 苎麻织物紫外光接枝阻燃改性研究[J]. 纺织学报, 2014,35(4):79-83.
CHEN Zhijun, LIU Xingqiao, LIU Hao, et al. Study on flame retardant modification of ramie fabrics by ultraviolet grafting[J]. Journal of Textile Research, 2014,35(4):79-83.
[11] 孙玉发, 周向东. 棉用新型含磷氮阻燃剂的合成及其应用[J]. 纺织学报, 2019,40(12):79-85.
SUN Yufa, ZHOU Xiangdong. Synjournal and characterization of novel phosphorous and nitrogen-containing flame retardant for cotton fabrics[J]. Journal of Textile Research, 2019,40(12):79-85.
[12] 任元林, 张悦, 曾倩, 等. 织物阻燃涂层新工艺的研究进展[J]. 纺织学报, 2017,38(9):168-173.
REN Yuanlin, ZHANG Yue, ZENG Qian, et al. Research progress of new processes of flame retardant fabrics coating[J]. Journal of Textile Research, 2017,38(9):168-173.
[13] 刘越, 朱平, 马佳娜. 纯海藻酸盐纤维的性能[J]. 纺织学报, 2009,30(8):13-16.
LIU Yue, ZHU Ping, MA Jiana. Properties of alginate fiber[J]. Journal of Textile Research, 2009,30(8):13-16.
[14] YAN H Q, LI N N, FANG Z P, et al. Application of poly(diphenolic acid-phenyl phosphate)-based layer by layer nanocoating in flame retardant ramie fabrics[J]. Journal of Applied Polymer Science, 2017,134(20):44795.
[15] 刘晋旭, 刘鹏清. 织物阻燃表面处理技术研究进展[J]. 纺织学报, 2020,41(10):178-187.
LIU Jinxu, LIU Pengqing. Advances in flame-retardant surface treatments for textiles[J]. Journal of Textile Research, 2020,41(10):178-187.
[16] CAROSIO F, ALONGI J, MALUCELLI G. Layer-by-layer ammonium polyphosphate-based coatings for flame retardancy of polyester-cotton blends[J]. Carbohydrate Polymers, 2012,88(4):1460-1469.
[17] ZHANG T, YAN H Q, PENG M, et al. Construction of flame retardant nanocoating on ramie fabric via layer-by-layer assembly of carbon nanotube and ammonium polyphosphate[J]. Nanoscale, 2013,5:3013-3021.
doi: 10.1039/c3nr34020a pmid: 23459988
[18] 赵黎, 闫红强, 方征平. PEI/PAA/APP三组分膨胀组装涂层阻燃改性苎麻织物[J]. 高分子学报, 2017 (6):982-989.
ZHAO Li, YAN Hongqiang, FANG Zhengping. Flame retardancy of ramie fabrics treated by PEI/PAA/APP tri-component layer-by-layer assembly technique[J]. Acta Polymerica Sinica, 2017 (6):982-989.
[19] LAUFER G, KIRKLAND C, MORGAN A B, et al. Intumescent multilayer nanocoating, made with renewable polyelectrolytes, for flame-retardant cotton[J]. Biomacromolecules, 2012,13(9):2843-2848.
[20] 张宪胜, 王然, 王锐, 等. 基于锥形量热仪的纤维集合体燃烧性能测试方法[J]. 纺织学报, 2017,38(2):47-52.
ZHANG Xiansheng, WANG Ran, WANG Rui, et al. Testing method of combustion behavior of loose fibrous assembly by cone calorimeter[J]. Journal of Textile Research, 2017,38(2):47-52.
[21] NGUYEN T M, CHANG S C, CONDON B, et al. Fire self-extinguishing cotton fabric: development of piperazine derivatives containing phosphorous-sulfur-nitrogen and their flame retardant and thermal behaviors[J]. Materials Sciences and Applications, 2014,5(11):789-802.
[1] ZENG Fanxin, QIN Zongyi, SHEN Yueying, CHEN Yuanyu, HU Shuo. Preparation and flame retardant properties of self-extinguishing cotton fabrics by spray-assisted layer-by-layer self-assembly technology [J]. Journal of Textile Research, 2021, 42(01): 103-111.
[2] MA Junzhi, GE Hong, WANG Dong, FU Shaohai. Preparation and properties of sol-gel modified flame retardant viscose fiber [J]. Journal of Textile Research, 2021, 42(01): 10-15.
[3] XIAO Mengyuan, ZHOU Xinke, ZHANG Jiayue, REN Yuanlin. Research progress of bio-based lignin flame retardant and its applications [J]. Journal of Textile Research, 2020, 41(12): 182-188.
[4] DANG Danyang, CUI Lingyan, WANG Liang, LIU Yong. Preparation and properties of cellulose nanofiber/montmorillonite composite aerogels [J]. Journal of Textile Research, 2020, 41(02): 1-6.
[5] SUN Yufa, ZHOU Xiangdong. Synthesis and characterization of novel phosphorous and nitrogen-containing flame retardant for cotton fabrics [J]. Journal of Textile Research, 2019, 40(12): 79-85.
[6] ZOU Lihua, XU Zhenzhen, SUN Yanyan, WANG Tairan, QIU Yiping. Influence of graphene oxide/polyaniline functional film on electromagnetic shielding property of cotton fabrics [J]. Journal of Textile Research, 2019, 40(08): 109-116.
[7] ZHANG Anying, WANG Zhaoying, WANG Rui, DONG Zhenfeng, WEI Lifei, WANG Deyi. Preparation and structural properties of flame retardant poly(L-lactic acid) and fiber thereof [J]. Journal of Textile Research, 2019, 40(04): 7-14.
[8] LI Qianglin, HUANG Fangqian, XIAO Xiuchan, QIU Cheng, WU Juzhen. Review on novel halogen-free polymer flame retardants [J]. Journal of Textile Research, 2019, 40(04): 177-184.
[9] . Preparation and performance of pentaerythritol phosphate/zine diethyl phosphate synergistic flame retardant polyamide 6 [J]. Journal of Textile Research, 2018, 39(09): 8-14.
[10] . Moisture absorption and sweat transport finishing o meta-aramid fabrics [J]. JOURNAL OF TEXTILE RESEARCH, 2018, 39(05): 80-86.
[11] . Flame retardant finishing of polyester fabric with phenyl phosphate ester containing triazine structure [J]. JOURNAL OF TEXTILE RESEARCH, 2018, 39(03): 98-102.
[12] . Low temperature bonding preparation of functionalized ramie fabrics for formaldehyde photocatalytic degradation  [J]. JOURNAL OF TEXTILE RESEARCH, 2017, 38(12): 106-111.
[13] . Preparation and performance of melamine fiber felt [J]. JOURNAL OF TEXTILE RESEARCH, 2017, 38(12): 65-68.
[14] . Flame retardant finishing of silk fabrics with boron phosphate doped silica sol [J]. JOURNAL OF TEXTILE RESEARCH, 2017, 38(08): 96-101.
[15] . Synergistic effect between cyclotriphosphazene and triazinederivatives on flame retardancy of poly(ethylene terethalate) [J]. JOURNAL OF TEXTILE RESEARCH, 2017, 38(07): 11-17.
Viewed
Full text


Abstract

Cited

  Shared   
  Discussed   
No Suggested Reading articles found!