Journal of Textile Research ›› 2023, Vol. 44 ›› Issue (11): 199-207.doi: 10.13475/j.fzxb.20220506701

• Machinery & Accessories • Previous Articles     Next Articles

Empty tube state detection method of intubation robot

DAI Ning1,2(), LIANG Huijiang3, HU Xudong1, QI Dongming2,4, XU Yushan3, TU Jiajia1, SHI Weimin1   

  1. 1. Key Laboratory of Modern Textile Machinery & Technology of Zhejiang Province, Zhejiang Sci-Tech University, Hangzhou, Zhejiang 310018, China
    2. College of Textile Science and Engineering(International Institute of Silk), Zhejiang Sci-Tech University, Hangzhou, Zhejiang 310018, China
    3. Zhejiang Kangli Automation Technology Co., Ltd., Shaoxing, Zhejiang 312500, China
    4. Key Laboratory of Green Cleaning Technology & Detergent of Zhejiang Province, Lishui, Zhejiang 323000, China
  • Received:2022-05-20 Revised:2022-12-05 Online:2023-11-15 Published:2023-12-25

Abstract:

Objective Manual tube change in winding requires workers for continuous inspection to observe the quantity of tube yarn used in each spindle, which is time-consuming and laborious. It is now possible to solve this problem by using intubation robot to carry out intubation. In this research, an empty tube state detection method based on image recognition is proposed to monitor whether a yarn tube is in each position evenly arranged in the tube storage discs.

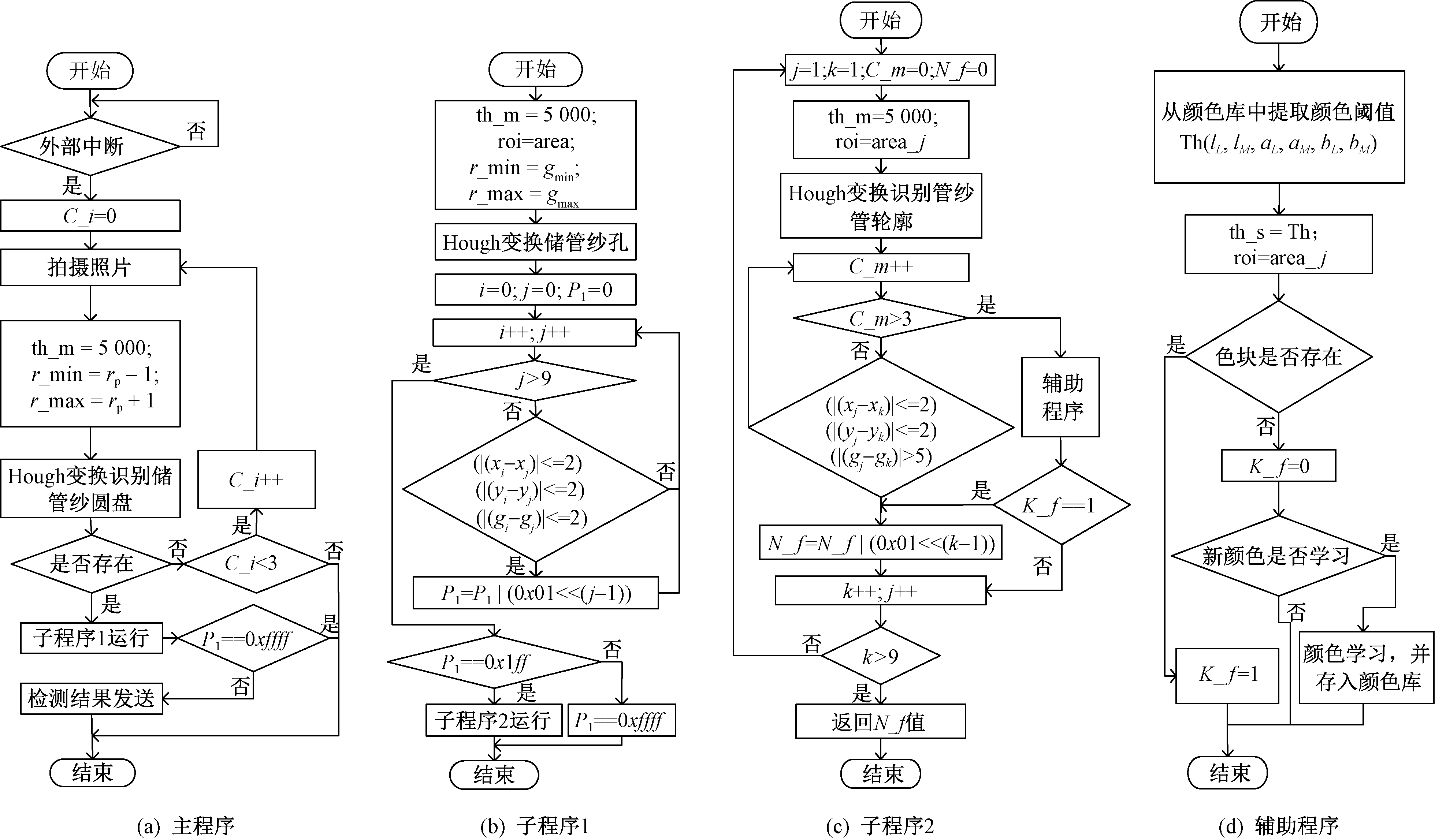
Method The empty tube inspection mechanism embedded with a control system and a camera module is fixed on the vertical mechanical column, moving horizontally with the intubation robot. By capturing the spindle position signal sent by the intubation robot, the embedded system can complete the image acquisition of the spindle position, carry out image processing by the learning, adjustment, block and localization, correction processing links, and transmit the real-time situation of the tube yarn in each row of holes after processing to the intubation robot by the communication interface.

Results After the test preparation stage is completed, the image of the storage tube yarn disc at the best shooting position is captured according to the external interrupt signal triggered by the intubation robot, and the empty tube detection algorithm is called for real-time operation. In order to increase the visibility of the detection results, the identified tube storage yarn disc, tube yarn hole and tube are marked with red, blue and green outlines respectively. In order to facilitate the test and analysis of the experimental detection results, the center position and radius of the storage tube yarn disc, storage tube yarn hole, and yarn tube is stored in the external flash memory chip in real-time according to the processing results of empty tube detection algorithm. The tubes in the storage tube yarn disc are increased and decreased repeatedly and tested repeatedly. Finally, the detection results are calculated for statistics. It can be seen from the start recognition time and the end recognition time that the whole recognition process is only 160 ms, and the image processing speed is at the millisecond level. The recognition result data is sorted out (Fig. 13). According to the statistical data, only 2 storage tube yarn holes in this storage tube yarn disc have tube yarn, which is consistent with the actual situation. In order to verify the stability of the test results, the tube yarns in the 1-9 storage tube yarn holes in the 1-9 spindle storage tube yarn discs are taken out in turn, and tube yarns are placed in the remaining storage tube yarn holes, and the 10 and 11 spindle storage tube yarn discs are placed in the full tube and empty tube states respectively (Tab. 1). The detection device performs reciprocating detection with the intubation robot for a long time of 24 h, and the detection results are stored in the external flash memory chip in real-time. After statistical analysis, it is found that the data is periodic, and the test results are in line with the actual situation, meeting the requirements of the intubation robot for the stability and accuracy of the empty pipe detection mechanism (Fig. 13).

Conclusion At present, the testing agency has conducted a pilot test on the intubation robot of a textile enterprise in Zhejiang. The practical application results show that the empty tube detection system has the advantages of fast image processing speed, high recognition accuracy and stability, easy installation and low cost, and can meet the requirements of the intubation robot for the empty tube detection of the storage yarn disc of the yarn bank type automatic winder.

Key words: intubation robot, winding machine, empty tube detection mechanism, image acquisition, image processing

CLC Number: 

  • TP103.7

Fig. 1

Schematic diagram of winding process"

Fig. 2

Schematic diagram of structure of storage tube yarn disc. (a) Rotating part; (b) Fixed part; (c) Whole structure"

Fig. 3

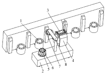
Structure and working principle of intubation robot"

Fig. 4

Capture status of camera module during inspection process of intubation robot. (a) Position 1; (b) Position 2; (c) Position 3"

Fig. 5

Image diagram of full tube in yarn hole of storage tube"

Tab. 1

Empty tube inspection result data statistics"

序号 圆心横
坐标/像素
圆心纵
坐标/像素
半径/像素
1 342 233 181
2 327 96 42
3 417 120 42
4 243 135 42
5 470 195 42
6 205 219 42
7 229 310 42
8 397 353 42
9 374 357 7
10 397 356 42
11 373 357 6
12 305 363 42

Fig. 6

Preparation stage of winder empty tube detection. (a) Learning link; (b) Adjustment link; (c) Block and localization link; (d) Correction link"

Fig. 7

Schematic diagram of principle of Hough circle detection"

Fig. 8

Algorithm for grading processing of winder empty tube detection. (a)Main program; (b) Subroutine 1; (c) Subroutine 2; (d) Auxiliary program"

Fig. 9

Physical map. (a) Intubation robot;(b) Empty tube detection agency"

Fig. 10

Structure block diagram of embedded image processing module"

Fig. 11

Test preparation stage results. (a) Focusing; (b) Color learning"

Fig. 12

Detect image results"

Fig. 13

Statistical results of 100 groups of random order data"

[1] 李衍田. 纱库式自动络筒机智能投纱系统的改造实践[J]. 纺织器材, 2019, 46(5):54-55.
LI Yantian. Reform practice of the intelligent yarn feeding system of auto-coner with yarn bank[J]. Textile Accessories, 2019, 46(5):54-55.
[2] 倪远. 纱库式自动络筒机管纱自动上纱技术改造项目现状与市场分析[J]. 纺织器材, 2019, 46(1):9-12.
NI Yuan. Current situation and market analysis of the technical reform project of auto-feeding technology of bobbin yarn for the auto-coner with yarn bank[J]. Textile Accessories, 2019, 46(1):9-12.
[3] 夏治刚, 徐傲, 万由顺, 等. 基于碳中和的人-机-料-法-环五位一体纺纱新技术解析[J]. 纺织学报, 2022, 43(1):58-66.
XIA Zhigang, XU Ao, WAN Youshun, et al. Analysis of new five-element-integration spinning technology based on human-machine-material-method-environment for carbon neutralization[J]. Journal of Textile Research, 2022, 43(1):58-66.
[4] 梅顺齐, 胡贵攀, 王建伟, 等. 纺织智能制造及其装备若干关键技术的探讨[J]. 纺织学报, 2017, 38(10):166-171.
MEI Shunqi, HU Guipan, WANG Jianwei, et al. Analysis of some key technology basis for intelligent textile manufacturing and its equipment[J]. Journal of Textile Research, 2017, 38(10):166-171.
[5] 柳威, 梅顺齐, 徐斯云, 等. 现代高速并条机的自动换筒技术[J]. 轻工机械, 2012, 30(6):86-90.
LIU Wei, MEI Shunqi, XU Siyun, et al. Automatic can change of the modern new high-speed drawing frame[J]. Light Industry Machinery, 2012, 30(6):86-90.
[6] 张洪, 魏毅, 陈瑞, 等. 整经机筒子架自动换筒机器人系统研发[J]. 上海纺织科技, 2020, 48(6): 10-13, 16.
ZHANG Hong, WEI Yi, CHEN Rui, et al. Research and development of automatic barrel changing robot system for warping machine's barrel frame[J]. Shanghai Textile Science & Technology, 2020, 48(6): 10-13, 16.
[7] 张洪, 魏毅, 李铬, 等. 基于机器人的整经机筒子架自动换筒系统研发[J]. 上海纺织科技, 2020, 48(4):25-28.
ZHANG Hong, WEI Yi, LI Ge, et al. Research and development of automatic tube changing system of warping machine creel based on robot[J]. Shanghai Textile Science & Technology, 2020, 48(4):25-28.
[8] 佘娟. 智能纱架的控制系统设计[D]. 上海: 东华大学, 2014:12-50.
SHE Juan. Design on control system of the intelligent creel robot[D]. Shanghai: Donghua University, 2014:12-56.
[9] 顾颖佳. 智能纱架机械手系统研制[D]. 上海: 东华大学, 2013:8-72.
GU Yingjia. The design of the system of the intelligent creel robot[D]. Shanghai: Donghua University, 2013:8-12.
[10] 徐造林, 程四新, 章友鹤. 自动化、智能化技术助推纺纱企业提质降耗、减员增效[J]. 纺织导报, 2019(4):62-67.
XU Zaolin, CHENG Sixin, ZHANG Youhe. Automation and intelligent technology promote the sustainable development of spinning enterprises[J]. China Textile Leader, 2019(4):62-67.
[11] 景军锋, 郭根. 基于机器视觉的丝饼毛羽检测[J]. 纺织学报, 2019, 40(1): 147-152.
JING Junfeng, GUO Gen. Yarn packages hairiness detection based on machine vision[J]. Journal of Textile Research, 2019, 40(1): 147-152.
doi: 10.1177/004051757004000208
[12] 王鑫. 基于嵌入式系统的图像处理技术研究[D]. 北京: 中国科学院大学, 2015: 1-2.
WANG Xin. The research of image processing technology based on embedded system[D]. Beijing: University of Chinese Academy of Sciences, 2015: 1-2.
[1] YANG Hongmai, ZHANG Xiaodong, YAN Ning, ZHU Linlin, LI Na'na. Robustness algorithm for online yarn breakage detection in warp knitting machines [J]. Journal of Textile Research, 2023, 44(05): 139-146.
[2] LI Yang, PENG Laihu, LI Jianqiang, LIU Jianting, ZHENG Qiuyang, HU Xudong. Fabric defect detection based on deep-belief network [J]. Journal of Textile Research, 2023, 44(02): 143-150.
[3] AN Yijin, XUE Wenliang, DING Yi, ZHANG Shunlian. Evaluation of textile color rubbing fastness based on image processing [J]. Journal of Textile Research, 2022, 43(12): 131-137.
[4] ZHANG Dongjian, GAN Xuehui, YANG Chongchang, HAN Fuyi, LIU Xiangyu, TAN Yuan, LIAO He, WANG Songlin. Research progress in non-contact fiber tension detection technology in spinning process [J]. Journal of Textile Research, 2022, 43(11): 188-194.
[5] YUAN Yanhong, ZENG Hongming, MAO Muquan. Needle selector detection system based on image processing [J]. Journal of Textile Research, 2022, 43(10): 176-182.
[6] DENG Zhongmin, HU Haodong, YU Dongyang, WANG Wen, KE Wei. Density detection method of weft knitted fabrics making use of combined image frequency domain and spatial domain [J]. Journal of Textile Research, 2022, 43(08): 67-73.
[7] MA Yunjiao, WANG Lei, PAN Ruru, GAO Weidong. Calibration method of three-dimensional yarn evenness based on mirrored image [J]. Journal of Textile Research, 2022, 43(07): 55-59.
[8] ZHOU Qihong, PENG Yi, CEN Junhao, ZHOU Shenhua, LI Shujia. Yarn breakage location for yarn joining robot based on machine vision [J]. Journal of Textile Research, 2022, 43(05): 163-169.
[9] ZHANG Ronggen, FENG Pei, LIU Dashuang, ZHANG Junping, YANG Chongchang. Research on on-line detection system of broken filaments in industrial polyester filament [J]. Journal of Textile Research, 2022, 43(04): 153-159.
[10] XIONG Jingjing, YANG Xue, SU Jing, WANG Hongbo. Testing method for fabric moisture conductivity based on image technology [J]. Journal of Textile Research, 2021, 42(12): 70-75.
[11] LÜ Wentao, LIN Qiqi, ZHONG Jiaying, WANG Chengqun, XU Weiqiang. Research progress of image processing technology for fabric defect detection [J]. Journal of Textile Research, 2021, 42(11): 197-206.
[12] XU Jin, YANG Pengcheng, XIAO Yuan, XU Guangshen. Visual measurement of key geometric parameters of droplet in circuit jet printing on fabric surface [J]. Journal of Textile Research, 2021, 42(07): 137-143.
[13] XIA Xuwen, MENG Shuo, PAN Ruru, GAO Weidong. On-line detection of warp collision and reed embedding based on improved inter-frame difference method [J]. Journal of Textile Research, 2021, 42(06): 91-96.
[14] JIANG Yanting, YAN Qingshuai, XIN Binjie, GAO Cong, SHI Meiwu. Comparative study on testing methods for unidirectional water transport in fabrics [J]. Journal of Textile Research, 2021, 42(05): 51-58.
[15] LI Dongjie, GUO Shuai, YANG Liu. Yarn defect detection based on improved image threshold segmentation algorithm [J]. Journal of Textile Research, 2021, 42(03): 82-88.
Viewed
Full text


Abstract

Cited

  Shared   
  Discussed   
No Suggested Reading articles found!