Journal of Textile Research ›› 2024, Vol. 45 ›› Issue (10): 95-102.doi: 10.13475/j.fzxb.20230901601

• Textile Engineering • Previous Articles     Next Articles

Three-dimensional simulation of weft-knitted tubular seamless fabric based on welt tucks

CHEN Yushan1,2, JIANG Gaoming1(), LI Bingxian1   

  1. 1. Engineering Research Center for Knitting Technology, Ministry of Education, Jiangnan University, Wuxi, Jiangsu 214122, China
    2. Textile School, Guangdong Polytechnic, Foshan, Guangdong 528041, China
  • Received:2023-09-08 Revised:2024-05-21 Online:2024-10-15 Published:2024-10-15
  • Contact: JIANG Gaoming E-mail:jgm@jiangnan.edu.cn

Abstract:

Objective Due to their snug fit, versatile fabric functionalities and other characteristics, seamless warp-knitted products are gaining gradual applications across various fields such as apparel, healthcare, and interior decoration. With the improvement of computer-assisted technology, the demand for online design and real-time simulation of seamless fabrics is becoming increasingly significant. This research mainly explores the knitting principle of seamless warp-knitted fabrics, discusses the special loop structure at the welt stitch locations, and focuses on the simulation research of simple seamless fabrics with double welt stitches.

Method Based on the principle of welt knitting in weft-knitted fabrics, the structure of double-layer welt was analyzed, and a knitting diagram model was established. To deal with the opposite directions of double-layer loops, a top-down grid division and a bottom-up grid division were proposed, and the corresponding loop grid model was established based on the relationship between model points and grid points. Combining the corresponding yarn parameters in the threading model, the three-dimensional loop structure was drawn using WebGL technology.

Results Based on an in-depth study of the loop structure of weft-knitted tubular seamless products a loop geometric model, an upper tuck loop geometric model and a lower welt loop geometric model have been established based on the classic Pierce loop model and the actual shape of the loops. Considering the unique double-layer loop structure of the welt in weft-knitted tubular seamless products two loop mesh models of the same size but opposite directions and a welt loop mesh model were constructed. By combining the loop geometric models, the mathematical relationship between the type value points and the mesh points was constructed to obtain the loop mesh parameters, and the z-direction of the special transverse row loop type value points was adjusted.

An upper welt knitting pattern model, a garment body knitting pattern model, and a lower welt knitting pattern model were established. Through the process, the corresponding loop mesh model was determined using an algorithm, where the direction of loops in the front half of the lower welt and the back half of the upper welt runs from top to bottom, utilizing the welt loop mesh model. For the garment body and the back half of the lower welt and the front half of the upper tuck, the direction of loops runs from bottom to top, using the gridf loop mesh model. By integrating the yarn parameters from the threading model, the three-dimensional loop structure was rendered using WebGL technology.

Examples were presented to demonstrate the simulation effects of typical weft-knitted seamless products in both tubular and flat unfolded forms, clearly showing the interlocking relationship of loops and the double-layer structure characteristics at the welt stitch areas. Examples also showcased the effect of the garment on a human body, with the simulation image of a tube top closely fitting the surface curves of the body, hiding the back welt stitch structure in a way consistent with the actual fabric.

Conclusion The implementation of three-dimensional simulation for seamless warp-knitted products bypasses processes such as machine trials, directly obtaining the finished fabric effect from the pattern design, reducing product development steps, and improving product development efficiency. By comparing the simulation results with the actual fabric, it is demonstrated that using this method to simulate seamless warp-knitted products with double welt stitches is scientifically feasible. It can perform three-dimensional planar, cylindrical, and curved simulations for simple seamless warp-knitted tube tops, laying a foundation for further research into the simulation of complex seamless warp-knitted products.

Key words: welt structure design, loop geometry model, loop grid-based model, weft knitted seamless underwear, three-dimensional structure simulation

CLC Number: 

  • TS186.3

Fig.1

Opening process. (a) First knit action; (b) Second knit action; (c) Third way knit action; (d) Fourth way knit action"

Fig.2

Welt knit"

Fig.3

Structure of lower welt. (a)Lower welt loop; (b)Upper welt loop"

Fig.4

Basic loop. (a)Actual fabric loop; (b)Geometric model"

Fig.5

Actual fabric hanging arc loop. (a)Lower welt loop; (b)Upper welt loop"

Fig.6

Welting loop geometric model. (a) Lower welt loop; (b) Upper welt loop"

Fig.7

Loop grid model. (a)3-D form; (b)2-D projection"

Fig.8

Welt loop grid model. (a) 3-D form; (b)2-D projection"

Fig.9

Welt loop mesh model. (a) Lower welt loop mesh model; (b) Upper welt loop mesh model"

Tab.1

Loop grid model parameters"

型值点 bm,1 bm,2 bm,3 bm,4 Rz Pz
P0/R0 0.577 0.163 0.203 0.057 -N×r-Tn -N×r
P1/R1 0.246 0.181 0.329 0.244 -(1.N×3)×
r-Tn
r-N×
1.r
P2/R2 0.593 0.060 0.315 0.032 -(1.N×3)×
r-Tn
r-N×
1.r
P3/R3 0.190 0.077 0.520 0.213 -N×r-Tn -N×r
P4/R4 0.077 0.190 0.213 0.520 -N×r-Tn -N×r
P5/R5 0.060 0.593 0.032 0.315 -(1.N×3)×
r-Tn
r-N×
1.r
P6/R6 0.181 0.246 0.244 0.329 -(1.N×3)×
r-Tn
r-N×
1.r
P7/R7 0.163 0.577 0.057 0.203 -N×r-Tn -N×r

Fig.10

Side structure welt and corresponding model adjustment results. (a)1 + 1 false rib lower welt; (b)1 + 3 false rib upper welt"

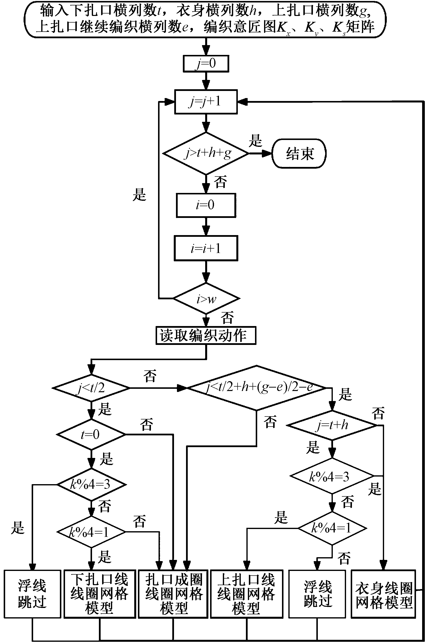
Fig.11

Simulation flow chart"

Fig.12

Cylindrical simulation diagram of double welt flat-needle yarn-added fabric. (a)Lower welt loop; (b)Upper welt loop"

Fig.13

Three-dimensional simulation of flat plate. (a) Fabric front; (b)Fabric back"

Fig.14

Wearing effect display of breast products"

[1] 龙海如, 瞿静, 刘夙. 纬编成形技术与产品发展趋势[J]. 针织工业, 2018(7): 1-4.
LONG Hairu, QU Jing, LIU Su. Weft knitting fully fashioned technology and development trend of the product[J]. Knitting Industries, 2018(7): 1-4.
[2] 陈林云, 宋广礼. 无缝针织技术的发展[J]. 针织工业, 2007(9): 70-71.
CHEN Linyun, SONG Guangli. The development of seamless knitting technology[J]. Knitting Industries, 2007 (9): 70-71.
[3] 董智佳, 孙菲, 丛洪莲, 等. 低损耗纬编成形女士背心的结构设计与建模[J]. 纺织学报, 2022, 43(7): 129-134.
DONG Zhijia, SUN Fei, CONG Honglian, et al. Structural design and modeling of lowwaste weft knitting fully fashioned female vests[J]. Journal of Textile Research, 2022, 43(7): 129-134.
[4] 王伟荣, 丛洪莲. 基于下肢运动特征的纬编无缝瑜伽裤结构设计[J]. 纺织学报, 2021, 46(2): 140-141.
WANG Weirong, CONG Honglian. Structural design of weft-knitted seamless yoga pants based on leg motion characteristics[J]. Journal of Textile Research, 2021, 46(2): 140-141.
[5] 张玉红, 陈绍芳. 应用母型法的无缝内衣工艺样板设计[J]. 纺织学报, 2015, 36(7): 100-103.
ZHANG Yuhong, CHEN Shaofang. Design on technological pattern for seamless underwear by mother type method[J]. Journal of Textile Research, 2015, 36(7): 100-103.
[6] 周晶晶. 年轻女性胸型分析及无缝抹胸压力舒适性研究[D]. 杭州: 浙江理工大学, 2011: 54-58.
ZHOU Jingjing. Analysis of young women's chest shape and study on pressure comfort of seamless breast[D]. Hangzhou: Zhejiang University of Technology, 2011: 54-58.
[7] 陈雁. 服装设计与工程学科发展趋势与关键议题[J]. 纺织学报, 2019, 40(1): 184-185.
CHEN Yan. Trends and key subjects of apparel design and engineering[J]. Journal of Textile Research, 2019, 40(1): 184-185.
[8] 汝欣, 史伟民, 彭来湖, 等. 无缝针织内衣机的花型准备系统及数据安全[J]. 纺织学报, 2016, 37(11): 130-135.
RU Xin, SHI Weimin, PENG Laihu, et al. Pattern preparation system of seamless underwear knitting machine and data security[J]. Journal of Textile Research, 2016, 37(11): 130-135.
[9] 刘雪艳, 蒋高明. 纬编运动压力袜的设计与制备[J]. 针织工业, 2022(10): 1-4.
LIU Xueyan, JIANG Gaoming. Design and preparation of weft knitted compressive sports socks[J]. Knitting Industries, 2022(10): 1-4.
[10] PEIRCE F. Geometrical principles applicable to the design of functional fabrics[J]. Textile Research Journal, 1947, 17(3): 123-147.
[1] SHI Chu, LI Jun, WANG Yunyi. Research progress on smart footwear for monitoring temperature in diabetic foot [J]. Journal of Textile Research, 2024, 45(07): 240-247.
[2] ZHAO Ziyu, YANG Tong, ZHANG Fa, MA Pibo. Failure damage mode analysis and experimental study of large-size carbon fibers C-beam under bending shear coupling load [J]. Journal of Textile Research, 2024, 45(02): 93-100.
[3] YANG Meiling, JIANG Gaoming, WANG Ting, LI Bingxian. Three-dimensional simulation of single jacquard warp knitted shoe fabrics based on spring-mass model [J]. Journal of Textile Research, 2023, 44(11): 113-119.
[4] YANG Meiling, JIANG Gaoming, WANG Ting, LI Bingxian. Design and three-dimensional simulation of warp knitted spacer fabrics for shoes [J]. Journal of Textile Research, 2023, 44(08): 96-102.
[5] LAI Anqi, JIANG Gaoming, LI Bingxian. Three-dimensional simulation of whole garment with fancy structures [J]. Journal of Textile Research, 2023, 44(02): 103-110.
[6] XU Yanhua, YUAN Xinlin. Application of paper pattern technology in knitting process of fully formed inclined skirt [J]. Journal of Textile Research, 2022, 43(10): 141-147.
[7] XU Yanhua, YUAN Xinlin. Pattern forming method of flat-knitted socks with section-dyed yarn [J]. Journal of Textile Research, 2020, 41(10): 52-57.
[8] . Computer-aided design and simulation of warp knitted jacquard seamless shaping fabric [J]. JOURNAL OF TEXTILE RESEARCH, 2013, 34(1): 138-142.
Viewed
Full text


Abstract

Cited

  Shared   
  Discussed   
No Suggested Reading articles found!