纺织学报 ›› 2019, Vol. 40 ›› Issue (8): 40-47.doi: 10.13475/j.fzxb.20180300308

• 纺织工程 • 上一篇    下一篇

亚麻/有色涤纶长丝包缠复合纱的外观与性能

敖利民1(), 唐雯2, 王爱林3   

  1. 1.嘉兴学院 材料与纺织工程学院, 浙江 嘉兴 314001
    2.嘉兴学院 商学院,浙江 嘉兴 314001
    3.嘉兴市本色亚麻纺织有限公司, 浙江 嘉兴 314000
  • 收稿日期:2018-03-01 修回日期:2019-05-10 出版日期:2019-08-15 发布日期:2019-08-16
  • 作者简介:敖利民(1969—),男,教授,博士。主要研究方向为纺织新工艺、新技术与新产品。E-mail: aolimin@126.com
  • 基金资助:
    嘉兴市科技计划项目(2017C11110)

Appearance and performance of linen/colored polyester wrapping composite yarn

AO Limin1(), TANG Wen2, WANG Ailin3   

  1. 1. College of Material and Textile Engineering, Jiaxing University, Jiaxing, Zhejiang 314001, China
    2. College of Business, Jiaxing University, Jiaxing, Zhejiang 314001, China
    3. Jiaxing Benseyama Co., Ltd., Jiaxing, Zhejiang 314000, China
  • Received:2018-03-01 Revised:2019-05-10 Online:2019-08-15 Published:2019-08-16

摘要:

为探讨亚麻/有色涤纶丝包缠复合纱的混色特征,以及包缠捻度对混色效果及复合纱性能的影响,以有色涤纶网络丝为外包缠纱,亚麻漂白纱为芯纱,纺制不同颜色和捻度的包缠复合纱;分析了复合纱的外观特征,测试了纱线的拉伸性能、条干、纱疵和毛羽。结果表明:复合纱具有麻彩外观,芯纱粗节处包缠捻度大呈色浅,细节处捻度小呈色深,复合纱沿长度方向有弱段彩效果;改变外包缠纱的包缠捻度,可改变复合纱的混色质地和颜色深度;包缠复合可提高亚麻纱的断裂强力和断裂伸长率,改善纱线条干,减少纱疵和毛羽;包缠复合纱受到拉伸作用会发生芯纱和外包缠纱不同时断裂现象,但随着包缠捻度的增大,不同时断裂的发生比率会降低。

关键词: 亚麻/涤纶包缠复合纱, 包缠捻度, 混色效果, 复合纱性能, 弱段彩, 不同时断裂

Abstract:

In order to investigate the color mixing characteristics of linen/colored polyester wrapping composite yarn and the influence of wrapping twist on color mixing effect and composite yarn properties, using colored polyester interlaced yarns as the outer wrapping yarns and the linen bleached yarn as the core yarns, composite yarns with different colors and wrapping twists were spun. The appearance characteristics of the composite yarns were analyzed, and the tensile properties, unevenness, yarn faults and hairiness of the composite yarns were tested and comparative analyzed. The results show that the composite yarns have the characteristics of bast color, wrapping twists are great at the slubs, presenting a light color, and twists are small at the thin places of core linen yarn, presenting a deep color, the composite yarn shows weak segment-colored effect along the longitudinal direction of the composite yarn. The color mixing texture and color depth of the composite yarn can be changed by changing the wrapping twist. The wrapping combination can improve the breaking strength and elongation of linen yarn, enhance yarn unevenness and reduce yarn defects and hairiness. When the wrapping composite yarn is stretched, non-simultaneous fracture may happen between the core yarn and the outer wrapping yarn, but the probability of occurrence will decrease as the wrapping twist increases.

Key words: linen/polyester wrapping composite yarn, wrapping twist, color mixing effect, composite yarn property, weak segment-colored, non-simultaneous fracture

中图分类号: 

  • TS104.7

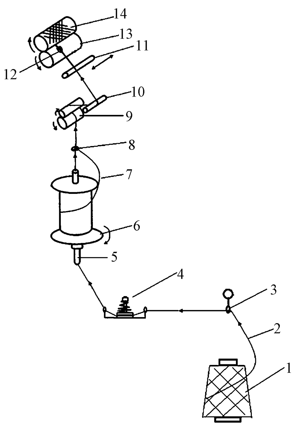
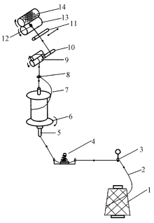
图1

成纱过程示意图 1—筒子;2—亚麻纱;3—导纱钩;4—弹簧式张力器;5—空心锭;6—铝锭管;7—外包缠纱气圈;8—会合导纱钩;9—引纱辊;10—导纱杆;11—横动导纱杆;12—导纱瓷眼;13—卷绕辊;14—筒管。"

图2

彩色涤纶丝及其双色包缠复合纱外观"

图3

亚麻纱和3种彩色复合纱黑板(局部)照片"

图4

不同捻度麻灰包缠纱黑板(局部)"

图5

典型不同时断裂拉伸断裂曲线"

图6

芯纱断裂后外包缠纱的断裂过程"

表1

拉伸断裂性能测试结果"

包缠
捻度/
(捻·m-1)
断裂
强力/
cN
断裂
伸长/
mm
不同时断
裂百分
比/%
第2次断
裂强力/
cN
第2次断
裂伸长/
mm
368 744.52 9.84 88 193.80 43.80
532 748.16 9.50 28 193.58 33.39
611 699.68 9.81 24 197.04 32.36
718 669.58 10.08 8 199.18 28.27
涤纶丝 197.32 155.59
亚麻纱 624.14 8.48

表2

条干与纱疵及毛羽测试结果"

包缠
捻度/
(捻·m-1)
条干
CVm/
%
疵点/(个·km-1) 毛羽值
H/
(mm·cm-1)
细节
(-50%)
粗节
(+50%)
粗节
(+100%)
棉结
(+400%)
368 29.92 1 268.3 2 106.7 390.0 110.0 1.69
532 29.20 1 066.7 1 896.7 365.0 78.3 1.55
611 29.79 1 075.0 1 755.0 362.5 95.0 1.44
718 27.27 845.0 1 395.0 197.5 27.5 1.21
亚麻纱 35.65 3 791.7 2 966.7 656.7 140.0 2.45
[1] 崔平军 . 空心锭子纺纱方式分析[J]. 江苏纺织, 2010(4):58-60.
CUI Pingjun . Analysis of hollow spindle spinning method[J]. Jiangsu Textile, 2010(4):58-60.
[2] 敖利民, 江魁, 郁崇文 , 等. 包缠法控制苎麻纱毛羽的研究[C]// 第十七届全国新型纺纱学术会论文集.北京:中国纺织工程学会, 2014: 225-232.
AO Limin, JIANG Kui, YU Chongwen , et al. Study on controlling hairiness of ramie yarn by wrapping method[C]// Proceedings of the 17th National Conference on New Spinning. Beijing: China Textile Engineering Society, 2014: 225-232.
[3] 潘杰, 高福坤 . 一种免刺痒麻芯包覆纱及其加工方法:103382603A[P]. 2013-11-06.
PAN Jie, GAO Fukun . A prickle-free ramie core covered yarn and its processing method: 103382603A[P]. 2013-11-06.
[4] 潘杰, 高福坤, 敖利民 . 一种双包结构混色纱:204401204U[P]. 2015-06-17.
PAN Jie, GAO Fukun, AO Limin . A mixed color yarn with twice wrapped structure: 204401204U[P]. 2015-06-17.
[5] 潘杰, 高福坤, 敖利民 . 一种双包结构麻灰纱:204401209U[P]. 2015-06-17.
PAN Jie, GAO Fukun, AO Limin . A hemp grey yarn with twice wrapped structure: 204401209U[P]. 2015-06-17.
[6] 宋敏芳, 郭嫣, 崔威威 , 等. 超声波在亚麻织物染色工艺中的应用[J]. 毛纺科技, 2016,44(1):51-54.
SONG Minfang, GUO Yan, CUI Weiwei , et al. Study on ultrasonic in dyeing process of flax fabric[J]. Wool Textile Journal, 2016,44(1):51-54.
[7] 王辉, 郁崇文, 敖利民 . 包缠捻度对苎麻包缠纱性能的影响[J]. 上海纺织科技, 2016,44(7):51-53,57.
WANG Hui, YU Chongwen, AO Limin . Effect of twist on the properties of wrapped ramie yarn[J]. Shanghai Textile Science & Technology, 2016,44(7):51-53, 57.
[8] 敖利民, 及二丽, 莫晓璇 , 等. 空气网络弹力包覆纱中氨纶丝实际预牵伸倍数测试[J]. 纺织学报, 2017,38(11):36-40.
AO Limin, JI Erli, MO Xiaoxuan , et al. Test of actual pre-draft ratio of spandex filament in air covered elastic yarn[J]. Journal of Textile Research, 2017,38(11):36-40.
doi: 10.1177/004051756803800105
[9] 黄伟, 汪军 . 复合纱线结构对单纱强力利用率的影响与分析[J]. 纺织学报, 2017,38(2):99-105.
HUANG Wei, WANG Jun . Influence of composite yarn's structures on yarn strength efficiency[J]. Journal of Textile Research, 2017,38(2):99-105.
[10] XIE Y, OXENHAM W, GROSBERG P . A study of the strength of wrapped yarns: part Ⅲ: the relationship between structural parameters and strength[J]. The Journal of The Textile Institute, 1986,77(5):314-326.
[1] 徐亚亚 杨瑞华 韩瑞叶 薛元 高卫东. 应用Kubelka-Munk双常数理论的数码转杯纱混色效果预测[J]. 纺织学报, 2018, 39(06): 36-41.
[2] 言宏元;翁毅;于修业. 喷气纺纱包缠捻度机理的探讨[J]. 纺织学报, 2002, 23(05): 5-6.
Viewed
Full text


Abstract

Cited

  Shared   
  Discussed   
[1] 薛元;曹建达;孙明宝;孙世元. 芯鞘型长丝/短纤包芯纱织物悬垂特性的研究[J]. 纺织学报, 2004, 25(03): 19 -20 .
[2] 郭秉臣. 毛纺直型精梳机圆梳的梳理速度及梳理效能的分析[J]. 纺织学报, 1984, 5(09): 30 -32 .
[3] 李伟锋. 基于RS-485总线的土工膜水力性能测试仪研制[J]. 纺织学报, 2005, 26(1): 107 -109 .
[4] 金大滨;李良才. 环锭纱动态捻度测定仪[J]. 纺织学报, 1982, 3(10): 19 -20 .
[5] 张寿欣. 两级分布式布机监测系统通过鉴定[J]. 纺织学报, 1986, 7(05): 27 .
[6] 李红;郑来久. 改性亚麻染色性能的研究[J]. 纺织学报, 2002, 23(06): 10 -11 .
[7] 吕家华;陈水林;华载文. 合成纤维织物的抗静电整理[J]. 纺织学报, 1995, 16(06): 59 -61 .
[8] 王爱凤;谢梅娣. 针织色纱上蜡效果的探讨[J]. 纺织学报, 1990, 11(06): 39 -42 .
[9] 周琦. 河南省发展装饰织物[J]. 纺织学报, 1983, 4(12): 31 .
[10] 张伯钧;邱薇华;邵世煌. 计算机辅助服装设计的几何模型研究[J]. 纺织学报, 1989, 10(09): 28 -31 .