纺织学报 ›› 2019, Vol. 40 ›› Issue (05): 157-162.doi: 10.13475/j.fzxb.20180606406

• 管理与信息化 • 上一篇    下一篇

基于机器视觉的玻璃纤维管纱毛羽检测

景军锋(), 张星星   

  1. 西安工程大学 电子信息学院, 陕西 西安 710048
  • 收稿日期:2018-06-20 修回日期:2019-02-01 出版日期:2019-05-15 发布日期:2019-05-21
  • 作者简介:景军锋(1978—),男,教授,博士。主要研究方向为机器视觉与图像处理。E-mail: 413066458@qq.com
  • 基金资助:
    陕西省重点研发计划项目(2017GY-003)

Fiber glass bobbin yarn hairiness detection based on machine vision

JING Junfeng(), ZHANG Xingxing   

  1. School of Electronics and Information, Xi'an Polytechnic University, Xi'an, Shaanxi 710048, China
  • Received:2018-06-20 Revised:2019-02-01 Online:2019-05-15 Published:2019-05-21

摘要:

为实现玻璃纤维管纱毛羽检测的自动化,设计了基于机器视觉的玻璃纤维管纱毛羽检测系统。使用光源、相机、电机等搭建图像获取平台得到毛羽图像;利用Blob连通域分析法进行毛羽区域提取,计算毛羽轮廓矩特征与毛羽区域特征,并结合支持向量机实现毛羽分类;根据毛羽分类结果以及前后2帧图像中毛羽位置坐标差值,对不同类型的毛羽数量进行统计;通过毛羽的最小外接矩形,得到每帧图像中的毛羽长度数据,并取每个毛羽长度数据的最大值作为相应的毛羽长度。结果表明:该系统能够代替人工完成管纱毛羽的有效检测,且单个管纱的检测耗时在10 s以内,能够满足实际的工业需要。

关键词: 玻璃纤维, 机器视觉, 管纱, 毛羽检测, 毛羽分类

Abstract:

In order to realize the automation detection of fiber glass bobbin yarn hairiness,a fiber glass bobbin yarn hairiness detect system based on machine vision was designed. First,image acquisition platform was built to obtain the hairiness images by applying the light source,camera,motor,et al. Then,the region of hairiness was extracted by the Binary large object analysis method,then the moment features of contours and the region features were calculated,and the hairiness classification was performed by combining these features and the support vector machine. Finally,the numbers of different types hairiness were obtained according to the results of classification and the difference of the coordinates between the previous and latter frames. At the same time,the data of the hairiness length in each frame was obtained by the minimum bounding rectangle of the hairiness,and the maximum value was regarded as the corresponding hairiness length. The experimental results show that the system can replace the manual detection of the bobbin yarn hairiness effectively,and the detection of a single bobbin yarn takes less than ten seconds,which can meet the industrial demand.

Key words: fiber glass, machine vision, bobbin yarn, hairiness detection, hairiness classification

中图分类号: 

  • TP391.4

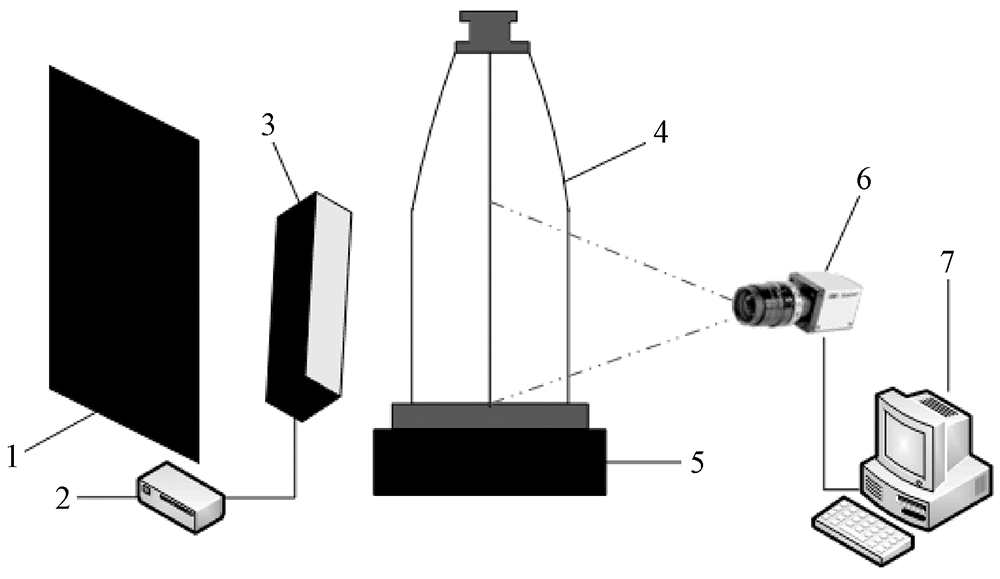
图1

系统示意图 1─黑色背景板;2─光源控制器;3─线形光源;4─管纱;5─步进电动机;6─工业相机;7─计算机。"

图2

毛羽图像"

图3

毛羽检测流程图"

图4

毛羽提取图像"

图5

轮廓最小外接矩形图"

表1

毛羽分类结果"

类别 数量 错分类数 准确率/%
端毛羽 255 16 93.73
毛圈 113 11 90.27
毛夹 48 1 97.92
总数 416 28 93.27

图6

分类结果图 注:a1~a10为10种端毛羽分类结果图;b1~b10为10种毛圈分类结果图;c1~c10为10种毛夹分类结果图。"

图7

错分类图像 注:a1~a3为3种端毛羽错分类为毛圈图像;b1~b3为3种毛圈错分类为端毛羽图像;c1~c3为3种亮度不均匀图像。"

表2

毛羽长度测量结果"

毛羽
类型
长度/mm 误差/mm
人工测量 外接矩形法
端毛羽样本1 13.3 13.0 0.3
端毛羽样本2 32.5 30.6 1.9
端毛羽样本3 4.2 4.2 0
端毛羽样本4 10.8 10.6 0.2
毛圈样本1 3.5 3.2 0.3
毛圈样本2 11.2 10.7 0.5
毛圈样本3 13.6 13.3 0.3
毛夹样本1 5.7 5.7 0
毛夹样本2 23.4 22.8 0.6
毛夹样本3 7.9 7.8 0.1
平均误差 0.42

表3

毛羽检测结果"

管纱
编号
毛羽数量/根 运行
时间/s
人工检测 本文算法
端毛羽 毛圈 毛夹 端毛羽 毛圈 毛夹
1# 4 0 0 4 0 0 4.12
2# 2 0 0 2 1 0 4.08
3# 0 0 0 0 0 0 4.05
4# 6 2 1 7 2 1 5.83
5# 3 1 0 3 1 0 4.67
6# 0 1 0 0 1 0 4.15
7# 2 0 0 3 0 0 4.64
8# 4 2 0 5 1 0 5.11
9# 9 0 0 9 0 0 5.79
10# 2 1 0 2 1 0 4.98
[1] 孔静. 玻璃纤维产品的应用[J].纺织科技进展, 2015(3):13-14,40.
KONG Jing. Application of glass fiber products[J]. Progress in Textile Science & Technology, 2015(3):13-14,40.
[2] 张娟. 玻纤生产中毛丝产生的原因及控制[J].玻璃纤维, 2009(4):1-6,15.
ZHANG Juan. Causes and control of fuzz formation in glass fiber production[J]. Fiber Glass, 2009(4):1-6,15.
[3] 牟新刚, 蔡逸超, 周晓, 等. 基于机器视觉的筒子纱缺陷在线检测系统[J]. 纺织学报, 2018,39(1):139-145.
MOU Xin'gang, CAI Yichao, ZHOU Xiao, et al. On-line yarn cone defects detection system based on machine vision[J]. Journal of Textile Research, 2018,39(1):139-145.
[4] 范荻, 金守峰, 陈蓉, 等. 面向装配机器人的零件视觉识别与定位方法[J]. 西安工程大学学报, 2018,32(1):114-120.
FAN Di, JIN Shoufeng, CHEN Rong, et al. Component oriented visual recognition and positioning method for assembly robots[J]. Journal of Xi'an Polytechnic University, 2018,32(1):114-120.
[5] 孙银银, 潘如如, 高卫东. 基于数字图像处理的纱线毛羽检测[J]. 纺织学报, 2013,34(6):102-106.
SUN Yinyin, PAN Ruru, GAO Weidong. Detection of yarn hairiness based on digital image processing[J]. Journal of Textile Research, 2013,34(6):102-106.
[6] JING J, HUANG M, LI P, et al. Automatic measurement of yarn hairiness based on the improved MRMRF segmentation algorithm[J]. The Journal of The Textile Institute, 2018,109(6):740-749.
[7] LI Z, PAN R, WANG J, et al. Real-time segmentation of yarn images based on an FCM algorithm and intensity gradient analysis[J]. Fibres & Textiles in Eastern Europe, 2016,4(118):45-50.
[8] 张冬娟, 唐万有. 基于Blob算法的烫印缺陷在线检测的研究[J]. 包装工程, 2013,34(17):16-19.
ZHANG Dongjuan, TANG Wanyou. Hot stamping defect on-line detection based on blob algorithm[J]. Packaging Engineering, 2013,34(17):16-19.
[9] SUZUKI S. Topological structural analysis of digitized binary images by border following[J]. Computer Vision,Graphics,and Image Processing, 1985,30(1):32-46.
[10] MATAS J, GALAMBOS C, KITTLER J. Robust detection of lines using the progressive probabilistic Hough trans-form[J]. Computer Vision and Image Understanding, 2000,78(1):119-137.
[11] 吴健健, 陈玮. 基于多特征融合与支持向量机的手势识别[J]. 电子科技, 2015,28(5):127-131.
WU Jianjian, CHEN Wei. Hand gesture recognition based on multi-feature fusion and support vector machines[J]. Electronic Science and Technology, 2015,28(5):127-131.
[12] ZHANG Y, WANG S, SUN P, et al. Pathological brain detection based on wavelet entropy and Hu moment invariants[J]. Bio-medical Materials and Engineering, 2015,26(1):1283-1290.
[13] FLUSSER J. On the independence of rotation moment invariants[J]. Pattern Recognition, 2000,33(9):1405-1410.
[14] 景军锋, 谢佳, 李鹏飞, 等. 应用机器视觉的鞋面数量统计与尺寸测量[J]. 纺织学报, 2017,38(11):156-161.
JING Junfeng, XIE Jia, LI Pengfei, et al. Quantity statistics and sizemeasurement of vamps based on machine vision[J]. Journal of Textile Research, 2017,38(11):156-161.
[1] 朱世根, 杨宏贤, 白云峰, 丁浩, 朱巧莲. 长条状细薄带钩零件变形自动检测系统[J]. 纺织学报, 2020, 41(10): 158-163.
[2] 张建新, 李琦. 基于机器视觉的筒子纱密度在线检测系统[J]. 纺织学报, 2020, 41(06): 141-146.
[3] 李鹏, 万振凯, 贾敏瑞. 基于碳纳米管纱线扭电能的复合材料损伤监测[J]. 纺织学报, 2020, 41(04): 58-63.
[4] 路浩, 陈原. 基于机器视觉的碳纤维预浸料表面缺陷检测方法[J]. 纺织学报, 2020, 41(04): 51-57.
[5] 王文胜, 李天剑, 冉宇辰, 卢影, 黄民. 筒子纱纱笼纱杆的定位检测方法[J]. 纺织学报, 2020, 41(03): 160-167.
[6] 金守峰, 林强强, 马秋瑞, 张浩. 基于BP 神经网络的织物表面绒毛质量的检测方法[J]. 纺织学报, 2020, 41(02): 69-76.
[7] 景军锋, 张君扬, 张缓缓, 苏泽斌. 梯度空间下的丝饼表面缺陷检测[J]. 纺织学报, 2020, 41(02): 44-51.
[8] 孙卫红, 阮棉奖, 邵铁锋, 梁曼. 基于机器视觉的生丝抱合性能检测方法[J]. 纺织学报, 2019, 40(08): 164-168.
[9] 李鹏飞, 严凯, 张缓缓, 景军锋. 基于最大熵与密度聚类相融合的毛羽检测[J]. 纺织学报, 2019, 40(07): 158-162.
[10] 曹海建, 陈红霞, 黄晓梅. 玻璃纤维/环氧树脂基夹芯材料侧压性能数值模拟[J]. 纺织学报, 2019, 40(05): 59-63.
[11] 董卫国. 玻璃纤维/聚丙烯纤维增强热塑复合材料的制备及其性能[J]. 纺织学报, 2019, 40(03): 71-75.
[12] 徐洋, 朱治潮, 盛晓伟, 余智祺, 孙以泽. 基于机器视觉的鞋面特征点自动识别改进方法[J]. 纺织学报, 2019, 40(03): 168-174.
[13] 景军锋, 郭根. 基于机器视觉的丝饼毛羽检测[J]. 纺织学报, 2019, 40(01): 147-152.
[14] 杨文权 蒋金华 陈南梁. 玻璃纤维织物在剪切变形作用下的渗透率[J]. 纺织学报, 2018, 39(08): 58-62.
[15] 万振凯 李鹏 贾敏瑞 包玮琛 裘旭光. 智能复合材料中碳纳米管纱线参数设计及其变化特征[J]. 纺织学报, 2018, 39(06): 58-63.
Viewed
Full text


Abstract

Cited

  Shared   
  Discussed   
No Suggested Reading articles found!