纺织学报 ›› 2019, Vol. 40 ›› Issue (12): 27-31.doi: 10.13475/j.fzxb.20181205305

• 纤维材料 • 上一篇    下一篇

压力对聚对苯二甲酸乙二醇酯-聚酰胺6共聚物/聚酰胺6共混物流变性能的影响

郭增革1, 姜兆辉1(), 贾曌1, 蒲丛丛1, 李鑫2, 程博闻3   

  1. 1.山东理工大学 鲁泰纺织服装学院, 山东 淄博 255000
    2.中国纺织科学研究院有限公司 生物源纤维制造技术国家重点实验室, 北京 100025
    3.天津工业大学 中空纤维膜材料与膜过程省部共建国家重点实验室, 天津 300387
  • 收稿日期:2018-12-25 修回日期:2019-08-15 出版日期:2019-12-15 发布日期:2019-12-18
  • 通讯作者: 姜兆辉
  • 作者简介:郭增革(1986—),男,讲师,博士。主要研究方向为功能纤维的结构与性能。
  • 基金资助:
    国家重点研发计划项目(2016YFB0302800);山东省高等学校科技计划项目(J17KB011);淄博市校城融合发展计划项目(2018ZBXC474);生态纺织教育部重点实验室(江南大学)课题(KLET1603)

Influence of pressure on rheological behavior of polyethylene terephthalate-polyamide 6 copolymer/polyamide 6 blends

GUO Zengge1, JIANG Zhaohui1(), JIA Zhao1, PU Congcong1, LI Xin2, CHENG Bowen3   

  1. 1. Lutai School of Textile and Apparel, Shandong University of Technology, Zibo, Shandong 255000
    2. State Key Laboratory of Biobased Fiber Manufacturing Technology, China Textile Academy, Beijing 100025, China
    3. State Key Laboratory of Separation Membranes and Membrane Processes, Tiangong University, Tianjin 300387, China
  • Received:2018-12-25 Revised:2019-08-15 Online:2019-12-15 Published:2019-12-18
  • Contact: JIANG Zhaohui

摘要:

为研究高压条件下聚合物的流变性能,以熔融共混挤出的方法制备聚对苯二甲酸乙二醇酯-聚酰胺6嵌段共聚物(PET-PA6)与聚酰胺6(PA6)共混物,利用安装在反向压力腔末端的旋塞控制毛细管出口压力,研究该共混物在出口压力为5~50 MPa条件下,剪切速率和温度对PET-PA6/PA6共混物流变行为的影响。结果表明:PET-PA6/PA6共混物的剪切黏度随压力的变化规律符合Barus方程;在恒定剪切速率下,随着毛细管内平均压力的增加,剪切黏度逐渐增大;当剪切速率从108 s-1增加到1 080 s-1时,压力系数减小19.24%,当温度从265 ℃增加到 290 ℃ 时,压力系数减小32.33%,共混物熔体剪切黏度对压力的依赖性随剪切速率和温度的增加逐渐减小。

关键词: 聚对苯二甲酸乙二醇酯-聚酰胺6共聚物, 聚酰胺6, 剪切黏度, 流变行为, 压力系数

Abstract:

In order to study the rheological properties of polymers under high pressure, blends of polyethylene terephthalate-polyamide 6 copolymer (PET-PA6) and polyamide 6(PA6) were prepared by melt blending and co-extruding. The influence of pressure, shear rate and temperature on the rheological behavior of PET-PA6/PA6 blends were studied under the conditions of the outlet pressure of the capillary tube of 5-50 MPa controlled by a cock mounted at the end of the reverse pressure chamber. The results indicate that the shear viscosity of PET-PA6/PA6 blends conforms to the Barus equation with the change of pressure. At a constant shear rate, the shear viscosity of PET-PA6/PA6 blends increases gradually with the capillary pressure. When the shear rate is increased from 108 s-1 to 1 080 s-1, the pressure coefficient decreases by 19.24%, and when the temperature is increased from 265 to 290 ℃, the pressure coefficient decreases by 32.33%. The dependence of shear viscosity of PET-PA6/PA6 blends on pressure decreases with the shear rate and the temperature.

Key words: polyethylene terephthalate-polyamide 6 copolymer, polyamide 6, shear viscosity, rheological behavior, pressure coefficient

中图分类号: 

  • TQ311

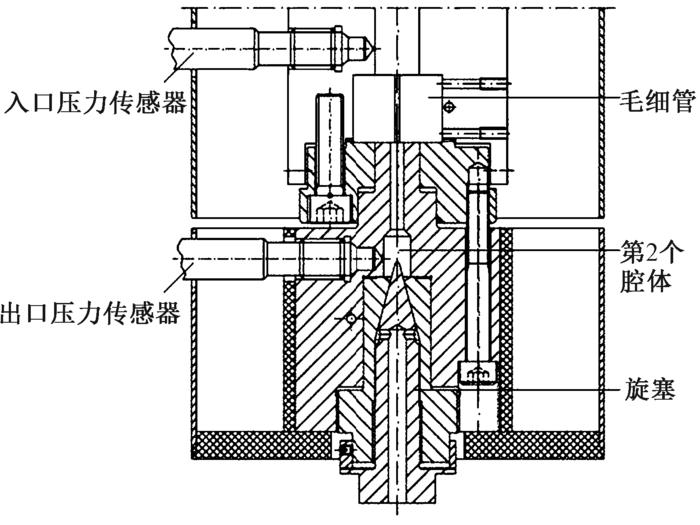
图1

反向压力腔结构示意图"

图2

不同温度时共混物剪切黏度与压力的关系"

表1

不同温度和剪切速率条件下共混物剪切黏度改变量"

γ·a/
s-1
Δη/(Pa·s)
265 ℃ 270 ℃ 275 ℃ 280 ℃ 285 ℃ 290 ℃
108 194.67 187.67 115.85 99.87 93.87 91.87
216 168.98 182.97 109.13 94.95 86.90 85.92
432 164.85 156.94 99.81 86.21 84.34 83.34
648 140.19 130.19 90.06 80.30 77.30 76.30
864 114.49 111.49 79.91 74.09 73.09 69.09
1 080 94.81 88.81 69.14 66.14 63.79 63.14

图3

共混物剪切黏度与压力的关系"

表2

不同剪切速率和温度下压力系数平均值"

γ·a 108 s-1 216 s-1 432 s-1 648 s-1 864 s-1 1 080 s-1
β 15.95 15.30 14.36 13.52 13.00 12.88
T 265 ℃ 270 ℃ 275 ℃ 280 ℃ 285 ℃ 290 ℃
β 16.92 16.05 14.83 13.42 12.34 11.45
[1] HARIFI T, MONTAZER M. Free carrier dyeing of polyester fabric using nano TiO2[J]. Dyes and Pigments, 2013,97(3):440-445.
[2] ALBITRES G A V, MENDES L C, CESTARI S P. Polymer blends of polyamide-6/spandex fabric scraps and recycled poly (ethylene terephthalate)[J]. Journal of Thermal Analysis and Calorimetry, 2017,129(3):1505-1515.
[3] JI X, XU Y, ZHANG W, et al. Review of functionalization, structure and properties of graphene/polymer composite fibers[J]. Composites Part A: Applied Science and Manufacturing, 2016,87:29-45.
[4] LIU X, XIE M, LI Y, et al. Study on the reduction properties of thiourea dioxide and its application in discharge printing of polyester fabrics[J]. Fibers and Polymers, 2018,19(6):1237-1244.
[5] HUSSAIN T, TAUSIF M, ASHRAF M. A review of progress in the dyeing of eco-friendly aliphatic polyester-based polylactic acid fabrics[J]. Journal of Cleaner Production, 2015,108:476-483.
[6] 柳毅琨, 邱志成, 金剑. PET-PA/PA6共混纤维的酸性染料染色性能[J]. 合成纤维工业, 2015,38(1):29-32.
LIU Yikun, QIU Zhicheng, JIN Jian. Dyeing behavior of acid dyes on PET-PA/PA6 blend fiber[J]. China Synthetic Fiber Industry, 2015,38(1):29-32.
[7] KIM K, RAHIMI S K, ALAM T M, et al. Unexpected effects of inorganic phosphate glass on crystallization and thermo-rheological behavior of polyethylene terephtha-late[J]. Polymer, 2018,154:135-147.
[8] NADOOSHAN A A, ESHGARF H, AFRAND M. Evaluating the effects of different parameters on rheological behavior of nanofluids: a comprehensive review[J]. Powder Technology, 2018,338:342-353.
[9] NUMMAN D, WEIZMAN O, AMIR E, et al. Development and characterization of expanded graphite filled-PET/PVDF blend: thermodynamic and kinetic effects[J]. Polymers for Advanced Technologies, 2017,28(5):590-599.
[10] RIZVI A, ANDALIB Z K M, PARK C B. Fiber-spun polypropylene/polyethylene terephthalate microfibrillar composites with enhanced tensile and rheological properties and foaming ability[J]. Polymer, 2017,110:139-148.
[11] SULYMAN M, HAPONIUK J, FORMELA K. Utilization of recycled polyethylene terephthalate (PET) in engineering materials: a review[J]. International Journal of Environmental Science and Development, 2016,7(2):100-108.
[12] COUCH M A, BINDING D M. High pressure capillary rheometry of polymeric fluids[J]. Polymer, 2000,41:6323-6334.
[13] CHREMOS A, JEONG C, DOUGLAS J F. Influence of polymer architectures on diffusion in unentangled polymer melts[J]. Soft Matter, 2017,13(34):5778-5784.
doi: 10.1039/c7sm01018d pmid: 28766667
[14] JING C, ZUOWEI W. Microscopic picture of constraint release effects in entangled star polymer melts[J]. Macromolecules, 2016,49(15):5677-5691.
[15] XIAN W, SONG L, LIU B, et al. Rheological and mechanical properties of thermoplastic polyurethane elastomer derived from CO2 copolymer diol[J]. Journal of Applied Polymer Science, 2018,135(11):45974.
doi: 10.1002/app.45974
[1] 朵永超, 钱晓明, 赵宝宝, 钱幺, 邹志伟. 超细纤维合成革基布的制备及其性能[J]. 纺织学报, 2020, 41(09): 81-87.
[2] 张娇, 高雪峰, 王玉周, 刘海辉, 张兴祥. 聚酰胺66/氨基化多壁碳纳米管纤维制备及其性能[J]. 纺织学报, 2019, 40(11): 1-8.
[3] 潘伟楠, 相恒学, 翟功勋, 倪明达, 沈家广, 朱美芳. 共聚酰胺6/66相对分子质量对其结晶和流变性能的影响[J]. 纺织学报, 2019, 40(09): 8-14.
[4] 刘婷 张安莹 王锐 董振峰 朱志国 王照颖. 季戊四醇磷酸酯/二乙基次磷酸锌协同阻燃聚酰胺6的制备及其性能 [J]. 纺织学报, 2018, 39(09): 8-14.
[5] 夏维 陈立军 赵杰 相恒学 陈文萍 郭楷圣 陈伟 张杨凯 朱美芳. 皮芯型复合储能调温聚酰胺6纤维的制备与表征[J]. 纺织学报, 2018, 39(04): 1-8.
[6] 陈美玉 来悦 孙润军 陈欣 庄浩. 生物基聚酰胺56纤维的结晶行为[J]. 纺织学报, 2017, 38(12): 7-13.
[7] 赵伟伟 汪滨 王娇娜 裴广玲 李从举. 静电纺聚酰胺6纳米纤维膜的制备及其性能[J]. 纺织学报, 2017, 38(03): 6-12.
[8] 唐兵兵 李健 郭增革 甘丽华 李鑫. 压力对不同特性黏度聚酯流变行为的影响[J]. 纺织学报, 2015, 36(06): 13-17.
[9] 张国兵 王曙东 何远方 范莹莹 张红. 聚酰胺6/聚乙二醇相变调温纳米纤维的结构与性能[J]. 纺织学报, 2014, 35(7): 30-0.
[10] 闫彦红 葛明桥. 颜料对彩色夜光纤维光谱性能的影响[J]. 纺织学报, 2013, 34(2): 40-44.
[11] 张斌, 李健, 安树林, 李鑫. 压力对聚对苯二甲酸乙二醇酯熔体剪切黏度的影响[J]. 纺织学报, 2012, 33(3): 1-4.
[12] 徐安长;张露;潘志娟. 醇处理对静电纺MWNTs/丝素/聚酰胺复合纤维的影响[J]. 纺织学报, 2010, 31(7): 1-5.
[13] 高晓艳;张露;潘志娟. 静电纺聚酰胺6纤维复合材料的孔隙特征及其过滤性能[J]. 纺织学报, 2010, 31(1): 5-10.
[14] 项晓飞;潘志娟;刘红波. 静电纺聚酰胺6纳米纤维纱的形态和力学性能[J]. 纺织学报, 2009, 30(10): 10-14.
[15] 齐庆莹;陈文兴;秦伟明;凌荣根;孙福. 水溶性聚酯的流变行为[J]. 纺织学报, 2008, 29(8): 11-14.
Viewed
Full text


Abstract

Cited

  Shared   
  Discussed   
No Suggested Reading articles found!