纺织学报 ›› 2023, Vol. 44 ›› Issue (01): 188-193.doi: 10.13475/j.fzxb.20211006906

• 机械与器材 • 上一篇    下一篇

凹槽形状对气流槽聚纺纱集聚区流场及成纱性能的影响

吕金丹1,2, 程隆棣1,2()   

  1. 1.东华大学 纺织学院, 上海 201620
    2.东华大学 纺织面料技术教育部重点实验室, 上海 201620
  • 收稿日期:2021-10-26 修回日期:2022-09-28 出版日期:2023-01-15 发布日期:2023-02-16
  • 通讯作者: 程隆棣(1959—),男,教授,博士。主要研究方向为纺织工程。E-mail:ldch@dhu.edu.cn
  • 作者简介:吕金丹(1991—),女,博士生。主要研究方向为集聚纺纱。

Influence of groove shape on flow field and yarn properties of compact spinning

LÜ Jindan1,2, CHENG Longdi1,2()   

  1. 1. College of Textiles, Donghua University, Shanghai 201620, China
    2. Key Laboratory of Textile Science & Technology, Ministry of Education, Donghua University, Shanghai 201620, China
  • Received:2021-10-26 Revised:2022-09-28 Published:2023-01-15 Online:2023-02-16

摘要:

针对气流槽聚纺纱不同集聚凹槽形状对成纱性能的影响,建立集聚区域三维模型,利用Fluent软件模拟不同凹槽结构的气流槽聚装置集聚区域的流场分布,比较其气流流场的特点。模拟结果表明:在相同负压条件下,非对称凹槽气流槽聚装置的气流利用率高,负压气流方向和集聚方向的速度分别为48.3、24.5 m/s,可有效握持和集聚纤维束,使得输出的须条能够最大程度地集聚,纤维也尽可能多地集中成为主体纤维束,有利于减少毛羽。通过测试所纺27.78 tex苎麻纱的成纱性能,验证非对称凹槽的集聚性能以及集聚气流对成纱性的影响。实验结果表明:采用非对称凹槽集聚装置纺制的纱线毛羽比环锭纺减少了77.58%,成纱强力比环锭纺提高了14.32%,成纱性能显著提高。

关键词: 集聚纺纱, 集聚凹槽, 气流流场, 成纱性能, 气流速度

Abstract:

Objective Ring spinning produces a wide range of yarn varieties and yarn fineness with great variety of raw materials, and with simple and easy maintenance of spinning machine. These advantages determine its popular use in producing yarns. However, because of the existence of the twisting triangle area associated to ring spinning, it is difficult to further improve the yarn quality. Also the fact that it integrates twisting and winding together, resulting in the incapability of greatly improving the spinning speed and the reduction in production efficiency. Especially in long fiber spinning, harmful hairiness is an important factor affecting yarn quality. How to reduce harmful hairiness and improve yarn quality is a problem to be solved in spinning. This research was devoted to the reduction of harmful hairiness of long fibers to improve the spinning performance for long fibers.
Method In this research, a three-dimensional model of the agglomeration area was established, and the fluid flow in the agglomeration area was simulated by using the Fluent module of ANSYS software. Computational fluid dynamics (CFD) was adopted to simulate the flow field in the gathering area with different groove structures of compact spinning to analyze and compare the characteristics of different groove shapes of the compact spinning device. Finite element method (FEM) was adopted to simulate the CFD models and mathematical statistics methods were employed in processing the experimental data.
Results 27.78 tex ramie yarn was spun and yarn properties were tested to verify the gathering performance of asymmetric grooves and the influence of gathering airflow on yarn formation. Comparing the final yarn results of asymmetric groove, symmetric groove and ring spinning, the yarn hairiness (77.58%) spun by asymmetric groove gathering device was lower than that of ring spinning, and the yarn strength was 14.32% higher than that of ring spinning. Yarn evenness analysis revealed that the evenness CV values of the two compact spinning devices were not greatly improved compared to ring spinning. The results of this experimental hairiness tests were consistent with the aforementioned theoretical results. The asymmetric groove air flow groove gathering device combine airflow and mechanical action for better fiber gathering and can effectively utilize the gathering air flow. Under the action of the higher gathering air flow, the gathering effect of the fiber whiskers was better and the yarn strength became higher, significantly improving the yarn forming performance.
Conclusion Under the same negative pressure condition, different groove shapes affect the transmission effect of negative pressure. Among the two different groove gathering devices used in this research, the asymmetric gathering device showed the highest speed in the gathering direction of the gathering area. It can gather fibers to a greater extent, hence reduce yarn hairiness and improve yarn strength. The experimental results show that the yarn hairiness of the yarn with different air flow grooves is greatly reduced compared with that of the ring spun yarn, and in the final yarn of the asymmetric groove gathering device, the hairiness above 3 mm decreases the most, and the strength increases, which improves the yarn quality and performance. For the air-flow groove with the groove shape used in the asymmetric condensing device, it needs to be further improved theoretically and experimentally, facilitating the industrialization of the ramie spinning device in the future.

Key words: compact spinning, gathering groove, airflow field, yarn property, airflow velocity

中图分类号: 

  • TS104.1

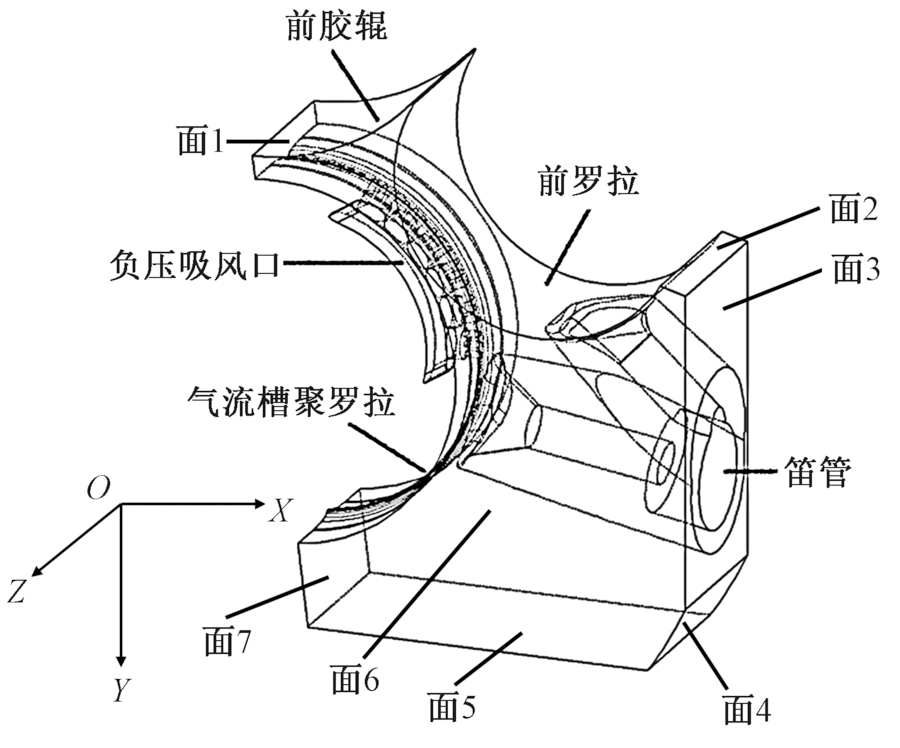
图1

气流槽聚型集聚装置简图"

图2

侧入式气流槽聚罗拉正视图"

图3

不同凹槽形状的集聚装置示意图"

图4

集聚区域流体动力学模型"

图5

网格划分示意图"

图6

ZY平面X轴向速度对比"

图7

ZY平面Z轴向速度对比"

图8

纺纱试纺"

表1

成纱性能测试结果"

成纱系统 3 mm以上毛羽/
(根·(10 m)-1)
断裂强力/
cN
强力CV值/
%
断裂伸长率/
%
断裂强度/
(cN·tex-1)
条干CV值/
%
纱疵/(个·km-1)
细节(-50%) 粗节(+50%) 麻粒
非对称凹槽 79.9 731.2 9.2 2.9 26.3 18.25 123 183 195
对称凹槽 92.0 705.3 11.0 3.3 25.4 18.39 127 188 201
环锭纺纱 356.3 639.6 12.4 3.1 22.9 18.37 122 176 205

图9

不同成纱系统纱线毛羽外观"

[1] 郭臻, 李新荣, 王楠, 等. 环锭纺纱新技术的对比分析[J]. 纺织器材, 2019, 46(5):56-60.
GUO Zhen, LI Xinrong, WANG Nan, et al. Comparative analysis of new technology of ring spinning[J]. Textile Accessories, 2019, 46(5):56-60.
[2] YIN R, LING Y L, FISHER R, et al. Viable approaches to increase the throughput of ring spinning: a critical review[J]. Journal of Cleaner Production, 2021. DOI: 10.1016/j.jclepro.2021.129116.
doi: 10.1016/j.jclepro.2021.129116
[3] 韩晨晨, 罗彩鸿, 高卫东. 两种新型纺纱技术的发展现状[J]. 棉纺织技术, 2021, 49(11): 1-4.
HAN Chenchen, LUO Caihong, GAO Weidong. The development status of two new spinning technologies[J]. Cotton Textile Technology, 2021, 49(11): 1-4.
[4] 邹专勇. 基于流场模拟的喷气涡流纺成纱工艺与纱线结构的相关性研究[D]. 上海: 东华大学, 2010: 24-29.
ZOU Zhuanyong. Study on the correlation between the yarn formation process and tis structure based on flow field simulation in air-jet vortex spinning[D]. Shanghai: Donghua University, 2010: 24-29.
[5] W Kampen, 陈廷, 李毓陵. 聚集纺纱的优点[J]. 国际纺织导报, 2000(3):11-14.
KAMPEN W, CHEN Ting, LI Yuling. Advantages of compact spinning[J]. Melliand China, 2000(3):11-14.
[6] 程隆棣, 王静, 薛文良, 等. 吸气槽聚型集聚纺纱技术初探[J]. 上海纺织科技, 2004(1):13-14.
CHENG Longdi, WANG Jing, XUE Wenliang, et al. Study on compact spinning with inspiratory trough-like roller[J]. Shanghai Textile Science & Technology, 2004(1):13-14.
[7] ALMETWALLY A A, MOURAD M M, HEBEISH A A, et al. Comparison between physical properties of ring-spun yarn and compact yarns spun from different pneumatic compacting systems[J]. Indian Journal of Fibre & Textile Research, 2015, 40(1):43-50.
[8] SU X Z, LIU X, LIU X Y. Numerical simulation of flow field in the pneumatic compact spinning systems using Finite Element Method[J]. International Journal of Clothing Science and Technology, 2018, 30(3):363-379.
doi: 10.1108/IJCST-11-2017-0180
[9] 竺韵德, 俞建勇, 许强, 等. 钻孔皮圈集聚纺纱系统三维流场的模拟与分析[J]. 纺织学报, 2009, 30(4):111-116.
ZHU Yunde, YU Jianyong, XU Qiang, et al. Simulation and analysis of three-dimensional flow field in punched apron compact spinning[J]. Journal of Textile Research, 2009, 30(4):111-116.
[10] 邹专勇, 汪燕, 俞建勇, 等. 网格圈集聚纺纱系统三维流场表征与分析[J]. 纺织学报, 2009, 30(6):24-28.
ZOU Zhuanyong, WANG Yan, YU Jianyong, et al. Characterization and analysis of three-dimensional flow field in compact spinning with lattice apron[J]. Journal of Textile Research, 2009, 30(6):24-28.
[11] LIU X J, ZHANG H, SU X Z. Comparative analysis on pneumatic compact spinning systems[J]. International Journal of Clothing Science and Technology, 2016, 28(4): 400-419.
doi: 10.1108/IJCST-09-2015-0104
[12] XUE W L, WEI M Y, WANG Y, et al. Comparison of flow field distribution and characteristic on different compact spinning systems[J]. Journal of Donghua University(English Edition), 2011, 28(3):326-330.
[13] 苏旭中, 杨世奎, 谢春萍, 等. 集聚槽倾角对紧密纱质量的影响[J]. 棉纺织技术, 2010, 38(1):15-17.
SU Xuzhong, YANG Shikui, XIE Chunping, et al. Effect of condensing groove angle on compact yarn quality[J]. Cotton Textile Technology, 2010, 38(1): 15-17.
[14] 薛文良. 气流作用下紧密纺纱线的成形机理及结构研究[D]. 上海: 东华大学, 2012: 39-48.
XUE Wenliang. Study on compact spinning principle and yarn structure in airflow[D]. Shanghai: Donghua University, 2012: 39-48.
[15] 程隆棣, 顾肇文, 裘永清, 等. 集聚纺纱技术研究[J]. 上海纺织科技, 2005(2):15-17,24.
CHENG Longdi, GU Zhaowen, QIU Yongqing, et al. Technology research on compact spinning[J]. Shanghai Textile Science & Technology, 2005(2):15-17,24.
[16] 黄梦岚, 程隆棣, 俞建勇, 等. 两种气流槽聚式集聚纺纱集聚区气流场的数值模拟[J]. 东华大学学报(自然科学版), 2016, 42(3):370-373.
HUANG Menglan, CHENG Longdi, YU Jianyong, et al. Numerical simulation of flow field in condensing zone of two compact spinning systems with inspiratory groove[J]. Journal of Donghua University (Nature Science), 2016, 42(3):370-373.
[17] 陆世麟, 马洪才, 程隆棣. 气流槽聚型长纤维紧密集聚纺纱系统流场模拟与分析[J]. 东华大学学报(自然科学版), 2012, 38(1):16-20.
LU Shilin, MA Hongcai, CHENG Longdi. Simulation and analysis of flow field in compact spinning system with inspiratory groove of long staple[J]. Journal of Donghua University (Nature Science), 2012, 38(1):16-20.
[18] GAO J X, ZOU Z Y, CHENG L D. Study on airflow field of condensing zone in compact spinning system with perforated drum[J]. Journal of Donghua University(English Edition), 2010, 27(5):606-609.
[1] 史倩倩, 高备, 林惠婷, 张玉泽, 汪军. 传统型与双喂给转杯纺纺纱器及其成纱性能对比[J]. 纺织学报, 2019, 40(02): 63-68.
[2] 韩晨晨 程隆棣 高卫东 薛元 薛文良 杨瑞华 . 传统型与自捻型喷气涡流纺的对比[J]. 纺织学报, 2018, 39(01): 25-31.
[3] 马小路 李好义 谭晶 阎华 张莉彦. 硬脂酸及辅助气流对熔体微分静电纺的影响[J]. 纺织学报, 2016, 37(10): 8-12.
[4] 包西平 刘宜胜 吴震宇. 折入孔位置对纯气动毛边折入装置流场的影响[J]. 纺织学报, 2016, 37(08): 125-131.
[5] 付江;于伟东. 假捻集聚纺纱方法中基本工艺参数的作用分析[J]. 纺织学报, 2011, 32(5): 38-42.
Viewed
Full text


Abstract

Cited

  Shared   
  Discussed   
No Suggested Reading articles found!