纺织学报 ›› 2023, Vol. 44 ›› Issue (04): 194-203.doi: 10.13475/j.fzxb.20211107810

• 机械与器材 • 上一篇    下一篇

动态恒张力氨纶输送控制研究

彭来湖1, 罗昌1, 戴宁1,2(), 胡旭东1, 牛冲3   

  1. 1.浙江理工大学 现代纺织装备技术教育部工程研究中心, 浙江 杭州 310018
    2.浙江理工大学 纺织科学与工程学院(国际丝绸学院), 浙江 杭州 310018
    3.杭州旭仁自动化有限公司, 浙江 杭州 310018
  • 收稿日期:2021-11-17 修回日期:2022-12-28 出版日期:2023-04-15 发布日期:2023-05-12
  • 通讯作者: 戴宁(1991—),男,讲师,博士。主要研究方向为针织装备控制技术。E-mail:990713260@qq.com
  • 作者简介:彭来湖(1980—),男,副教授,博士。主要研究方向为针织装备技术。
  • 基金资助:
    浙江省博士后科研项目择优资助一等资助项目(ZJ2021038);浙江省博士后科研项目特别资助项目(ZJ2020004)

Control on dynamic delivery of spandex yarns in knitting under constant tension

PENG Laihu1, LUO Chang1, DAI Ning1,2(), HU Xudong1, NIU Chong3   

  1. 1. The Center for Engineering Technology of Modern Textile Machinery & Technology of Ministry of Education, Zhejiang Sci-Tech University, Hangzhou, Zhejiang 310018, China
    2. College of Textile Science and Engineering ( International Institute of Silk), Zhejiang Sci-Tech University, Hangzhou, Zhejiang 310018, China
    3. Hangzhou Xu Ren Automation Co.,Ltd., Hangzhou, Zhejiang 310018, China
  • Received:2021-11-17 Revised:2022-12-28 Published:2023-04-15 Online:2023-05-12

摘要:

针对针织生产过程中氨纶与导纱嘴摩擦力及编织成圈喂纱量变化导致氨纶输送张力不均匀的问题,深入分析摩擦机制及氨纶输送流程特性,提出了一种基于速度和张力双闭环方式的恒张力氨纶输送控制方案。分析了氨纶输送相关工艺,构建了氨纶张力模型和混合式步进电动机数学模型,提出了张力模糊 PID 控制策略,进行了 Simulink仿真及Recurdyn/Colink 机电联合仿真,阐述了恒张力氨纶输纱控制算法实现。仿真结果表明,采用该控制方案可提高氨纶纱线输送的抗扰动能力、抑制纱线的振动以及减小氨纶输送张力的波动,同时模糊PID进行氨纶张力控制拥有更好的性能,响应时间更快,抗干扰能力更强。实验验证了本控制策略的适应性和优越性,动态恒张力氨纶输送控制方案具有工程应用价值。

关键词: 机电联合仿真, 恒张力, 模糊控制, 氨纶输送, 针织技术

Abstract:

Objective Due to the friction between spandex yarn and guide nozzle and the variation of knit loop feeding length in knitting production process, the conveying tension of spandex yarn is uneven, often resulting in fabric horizontal strips, uneven elasticity, and even yarn breakage, wire turning and other phenomena. At present, the use of dynamic constant tension method for the transport control of spandex yarns is a new trend. In this paper, the friction mechanism and spandex conveying process characteristics are analyzed in depth, and a constant tension spandex conveying control scheme based on the double closed-loop method of speed and tension is proposed.
Method Based on the analysis of spandex conveying related processes, spandex tension model and hybrid stepper motor mathematical model were constructed with the proposed tension fuzzy PID control strategy. Simulink simulation and Recurdyn/Colink electromechanical joint simulation as carried out, and the implementation of constant tension spandex yarn transmission algorithm was elaborated.
Results The single-phase excitation transfer function of the two-phase hybrid stepper motor was calculated from the relevant parameters of the stepper motor, the syringe speed was set to 558.292 r/min, and the preset tension value was calculated according to the difference between the syringe speed and the spandex yarn conveyor. Setting the step signal input as 0.32 and a unit step disturbance at the 10th second to obtain the tension control step response curve(Fig. 12), it was found that spandex tension control using fuzzy PID had better performance, faster response time, and stronger anti-interference ability. In this paper, 30.8 tex spandex bare filament was used as the conveying object, the basic parameters were obtained by consulting the relevant reference manuals and literature, and the simulation parameters were set and the simulation was run. The overall tension fluctuation of spandex yarn using constant tension conveying control was small, and the vibration of spandex yarn was significantly suppressed during simulation, and the spandex yarn without constant tension conveying control (only let the spandex yarn conveyor follow the movement of the syringe barrel at a certain rotational ratio) showed large tension fluctuations as a whole, and the vibration of spandex yarn was obvious during simulation. Through the analysis, it can be seen that the spandex yarn controlled by the constant tension spandex conveying control in this paper was more stable, and the yarn vibration was suppressed to a certain extent, which has better performance. In order to further verify the reliability of the simulation and the feasibility of this scheme, an experimental platform was built for verification, as shown in Fig. 14 where the tension fluctuation of the control force without constant tension transmission was large and cannot be restored to the preset tension when encountering external disturbances (change of friction, touch of the adjustment master's hand). Using constant tension conveying control, the spandex tension basically fluctuates around 3 g, and can return to the preset tension in a short time when encountering external disturbances. Through experimental verification analysis, the reliability of the simulation and the feasibility of this scheme were proved.
Conclusion The tension control device has been installed on the RFSM20 seamless underwear machine of a manufacturer, and after several debugging, the spandex conveying control system operates correctly, and the spandex elastic fabric can be knitted normally. The woven spandex elastic fabric has excellent elasticity and the elasticity of each part is basically the same, and the cloth surface is flat and meets the elastic fabric standard. Experiments verify the adaptability and superiority of the control strategy, and the dynamic constant tension spandex transport control scheme has engineering application value.

Key words: electromechanical co-simulation, constant tension, fuzzy control, spandex conveying

中图分类号: 

  • TS103.7

图1

纱线路径各组成部分实物图"

图2

装置数学模型"

图3

编码器被动跟随方案"

图4

恒张力氨纶输送控制框图"

图5

PID控制原理图"

图6

模糊PID控制原理图"

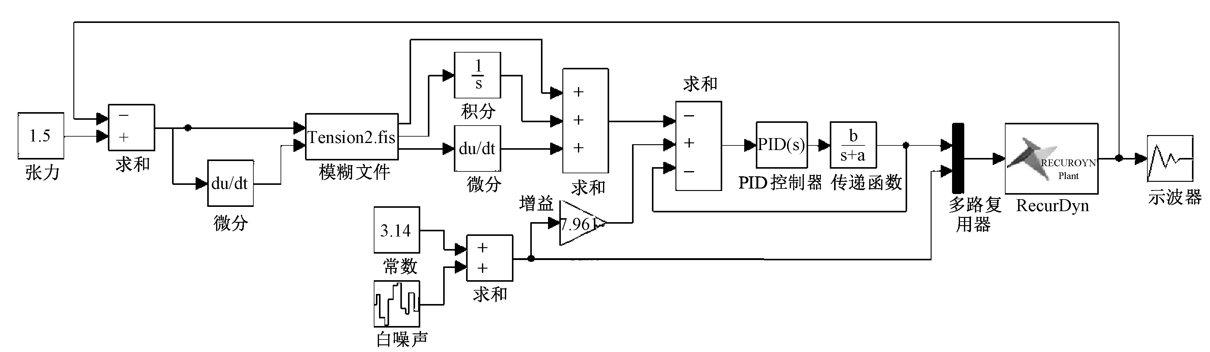
图7

恒张力氨纶输送控制Simulink模型"

图8

氨纶输送系统动力学模型"

图9

Colink控制系统"

图10

转速环算法框图"

图11

张力环算法框图"

表1

步进电动机技术参数"

参数 数值 参数 数值
最大电压/V 75 启动转矩/(N·cm) 5.3
额定相电流/A 2.9 转动惯量/(g·cm2) 124
相电阻/Ω 0.7 相电感/H 0.001 5
单极保持转矩/(N·cm) 52 粘滞系数/(kg·m2·s-1) 0.08
双极保持力矩/(N·cm) 65 转子齿数/个 50

图12

张力控制阶跃响应曲线"

图13

张力传感器输出曲线"

图14

实验平台 1—氨纶;2—开关电源;3—模拟针筒;4—电动机控制板;5—针筒电动机驱动器;6—氨纶输纱器;7—张力传感器;8—氨纶输送控制器;9—张力实时显示界面;10—R422通信模组。"

图15

张力输出曲线"

图16

装机测试"

图17

氨纶弹性织物实物图"

图18

显微镜观察织物效果图"

[1] 刘立军, 李翔龙. 基于模糊PID控制的薄膜分切机恒张力控制系统[J]. 机械工程与自动化, 2020(6):13-15,18.
LIU Lijun, LI Xianglong. Constant tension control system of thin film slitting machine based on fuzzy PID control[J]. Mechanical Engineering & Automation, 2020(6):13-15,18.
[2] 张保家, 杨涛, 张有信, 等. 基于模糊PID的微细金属丝拉拔张力控制研究[J]. 现代制造工程, 2021(10):107-113.
ZHANG Baojia, YANG Tao, ZHANG Youxin, et al. Research on tension control of micro-wire drawing based on fuzzy PID[J]. Modern Manufacturing Engineering, 2021(10):107-113.
[3] 遠藤善道, 山下典男, 川島義隆. 丸編機の給糸張力と糸速の制御[J]. 繊維機械学会誌, 2009,47.
[4] MATTHES AndrÉ, PUSCH Thomas, CHERIF Chokri, et al. Analysis and simulation of yarn feeding at high dynamic circular knitting machines[J]. Melliand International: Worldwide Textile Journal, 2010, 16(5/6): 220-222.
[5] BILLMANN L, ISERMANN R. Leak detection methods for pipelines[J]. Automatica, 1987, 23(3):381-385.
doi: 10.1016/0005-1098(87)90011-2
[6] 顾学东. 基于卡尔曼滤波的张力控制系统研究[D]. 沈阳: 东北大学, 2008:32-37.
GU Xuedong. Research on tension control system based on kalman filter[D]. Shenyang: Northeastern University, 2008:32-37.
[7] 彭翾, 孟婥, 孙以泽. 步进电机基于专家PID的转速控制[J]. 自动化与仪表, 2016, 31(7):54-57.
PENG Xuan, MENG Zhuo, SUN Yize. Speed control of stepper motor based on expert PID[J]. Automation & Instrumentation, 2016, 31(7):54-57.
[8] 陈龙, 吴斌方, 张耀, 等. 基于模糊PID控制的步进驱动系统研究[J]. 组合机床与自动化加工技术, 2020(3): 99-102.
doi: 10.13462/j.cnki.mmtamt.2020.03.023
CHEN Long, WU Binfang, ZHANG Yao, et al. Research on stepping drive system based on fuzzy PID control[J]. Modular Machine Tool & Automatic Manufacturing Technique, 2020(3):99-102.
[9] 黄月祥. 模糊PID及其在磨床数控系统中的应用综述[C]// 《IT时代周刊》论文专版(第296期). 广州: 广东省电子学会, 2014:5.
HUANG Yuexiang. Summary of fuzzy PID and its application in grinding machine numerical control system[C]// IT Times Weekly Special Edition (Issue 296). Guangzhou: Guangdong Electronics Association, 2014:5.
[10] ALAM S M M, ISLAM S, AKTER S. Reviewing the production process, physical and chemical properties of spandex fibers[J]. Adv Res Text Eng, 2020, 5(2): 1051.
[11] SANBORN B, SONG B. Poisson's ratio of a hyperelastic foam under quasi-static and dynamic loading[J]. International Journal of Impact Engineering, 2018, 123:48-55.
doi: 10.1016/j.ijimpeng.2018.06.001
[1] 牛丽, 刘青, 陈超余, 蒋高明, 马丕波. 仿生鳞片针织结构自供能传感织物的制备及其性能[J]. 纺织学报, 2023, 44(02): 135-142.
[2] 宋洁心, 付天宇, 李凤鸣, 宋锐, 李贻斌. 基于延展性的机器人面料缝制张力预测方法[J]. 纺织学报, 2022, 43(12): 173-180.
[3] 蒋高明, 程碧莲, 万爱兰, 李炳贤. 短纤纱经编织物生产关键技术研究进展[J]. 纺织学报, 2022, 43(05): 7-11.
[4] 蒋高明, 周濛濛, 郑宝平, 郑培晓, 刘海桑. 绿色低碳针织技术研究进展[J]. 纺织学报, 2022, 43(01): 67-73.
[5] 彭来湖, 罗昌, 牛冲, 吕永法, 胡旭东, 戴宁. 针织纬编氨纶输送控制技术[J]. 纺织学报, 2021, 42(04): 162-169.
[6] 王盼, 吴志明. 全成形毛衫横向编织方式及其成形工艺[J]. 纺织学报, 2019, 40(10): 73-78.
[7] 彭来湖 吴英刚 王罗俊 胡旭东. 针织圆纬机牵拉张力闭环控制技术[J]. 纺织学报, 2018, 39(10): 125-130.
[8] 蒋高明 高哲. 针织新技术发展现状与趋势[J]. 纺织学报, 2017, 38(12): 169-176.
[9] 罗璇 蒋高明 丛洪莲. 采用局部编织技术的毛衫特殊结构工艺与设计[J]. 纺织学报, 2016, 37(2): 55-60.
[10] 鲁喜 杨建成. 用于碳纤维织物的多层织机经纱张力检测方法[J]. 纺织学报, 2016, 37(07): 137-141.
[11] 姜磊. 卷染机自动控制系统的改造设计[J]. 纺织学报, 2015, 36(03): 121-127.
[12] 楼彦华;孙云云;任军军;郭吉丰. 一种低成本直驱工业平缝机控制系统[J]. 纺织学报, 2009, 30(10): 134-138.
[13] 王红凯;张森林. 基于Linux嵌入式全自动横机软件系统设计[J]. 纺织学报, 2008, 29(2): 101-105.
[14] 杨建成;蒋秀明;周国庆;吴冬凤;何辉. 织机经纱张力Fuzzy-PID控制及其检测方法[J]. 纺织学报, 2008, 29(10): 105-108.
[15] 李革;梅靖;赵匀;潘海鹏. 复贴机张力的模糊自整定PID控制[J]. 纺织学报, 2006, 27(6): 41-43.
Viewed
Full text


Abstract

Cited

  Shared   
  Discussed   
No Suggested Reading articles found!