纺织学报 ›› 2023, Vol. 44 ›› Issue (02): 96-102.doi: 10.13475/j.fzxb.20220104307

• 纺织工程 • 上一篇    下一篇

柔性电子织物的构筑及其压力传感性能

李港华, 王航, 史宝会, 曲丽君, 田明伟()   

  1. 青岛大学 纺织服装学院, 山东 青岛 266071
  • 收稿日期:2022-01-18 修回日期:2022-06-30 出版日期:2023-02-15 发布日期:2023-03-07
  • 通讯作者: 田明伟(1987—),男,教授,博士。主要研究方向为纤维新材料及智能纺织品的机制研究及产品应用。E-mail:mwtian@qdu.edu.cn。
  • 作者简介:李港华(1997—),女,硕士生。主要研究方向为智能纺织品及可穿戴技术。
  • 基金资助:
    国家重点研发计划项目(2022YFB3805801);国家重点研发计划项目(2022YFB3805802);泰山学者工程专项(TSQN-202200XX);山东省重大科技创新工程项目(2019JZZY010335);山东省重大科技创新工程项目(2019JZZY010340);山东省青创科技创新团队项目(2020KJA013);国家自然科学基金项目(22208178);山东省自然科学基金项目(ZR2020QE074);纺织行业智能纺织服装柔性器件重点实验室开放课题(SDHY2223)

Construction of flexible electronic fabric and its pressure sensing performance

LI Ganghua, WANG Hang, SHI Baohui, QU Lijun, TIAN Mingwei()   

  1. College of Textiles & Clothing, Qingdao University, Qingdao, Shandong 266071, China
  • Received:2022-01-18 Revised:2022-06-30 Published:2023-02-15 Online:2023-03-07

摘要:

针对薄膜基、凝胶基柔性传感器的透气透湿性差、穿着舒适性低等问题,提出一种基于压阻效应的柔性电子织物制备策略,构筑以1+1罗纹导电织物电极层、MXene改性棉织物中间导电层为基础的结构模型,缝纫复合各功能层形成三明治结构柔性电子织物,研究其可穿戴舒适性能及传感性能,阐述其未来工业化生产的潜力。结果表明:全纺织基柔性电子织物在低压力范围(0~3 kPa)内的灵敏度约为0.409 5 kPa-1,具有较好的线性度;2 g砝码可使其电阻变化率超过3%,具有较好的低压监测性能;响应时间小于50 ms,足以用于人体运动信号监测;在 8 000次施压循环后仍保持稳定的电阻变化,表现出优异的耐久性;此外,兼有较佳的热湿舒适性,其透气率为270.49 mm/s,透湿率为3 420 g/(m2·24 h)。柔性电子织物对人体动态信号有优异的识别能力,在运动训练、医疗保健及军事防护等领域具有广阔的应用前景。

关键词: 全纺织基, 柔性压阻式传感器, 电子织物, 传感性能, MXene

Abstract:

Objective With the development of artificial intelligence, wearable technology has become a research hotspot, driving the rapid development of all types of sensors. Sensors used in wearable devices should not only have sensitive and stable sensing performance, but should also have excellent flexibility, air permeability, and integration with textiles. Polymer based flexible pressure sensors have significant advantages in flexibility and integration with textiles, and have been developed rapidly. However, most of these sensors are thin films or gel shaped, which seriously affects their breathability and wearing comfort.
Method Aiming at the problems of poor air permeability, poor moisture permeability and low wearing comfort of film-based and gel-based flexible sensors, a preparation strategy of all-textile-based flexible electronic fabrics based on piezoresistive effect was proposed. A structural model was constructed based on the electrode layer of 1+1 rib conductive fabric and the middle conductive layer of MXene modified cotton fabric (as shown in Fig. 1-3). The flexible electronic fabric with sandwich structure was formed by sewing and compounding various functional layers, and its wearing comfort and sensing performance were studied. Furthermore, its potential for industrial production in the future was expounded.
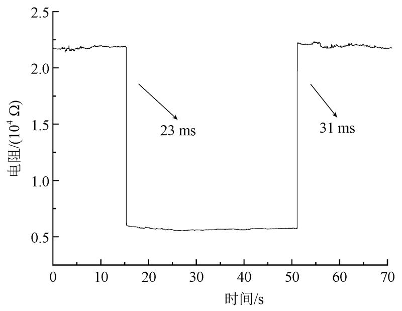
Results The sensitivity of the flexible electronic fabric in the low pressure range (0-3 kPa) is about 0.409 5 kPa-1 (as shown in Fig. 4), which is caused by the working mechanism of the piezoresistive flexible sensor. A 2 g weight can make resistance change rate of the flexible electronic fabric exceed 3% (as shown in Fig. 6), which is mainly due to the excellent mechanical properties of the 1+1 ribbed conductive fabric. This enables the flexible electronic fabric to achieve large deformation under small external forces, resulting in rapid changes in resistance values to achieve excellent responsiveness. In addition, the MXene modification of cotton fabrics also gives the flexible electronic fabric a lower minimum pressure detection limit and better low-pressure monitoring performance. The response time of the flexible electronic fabric is less than 50 ms as Fig. 5 shows, sufficient for human motion signal monitoring. The stable resistance changes were maintained after 8 000 pressure cycles, indicating that the flexible electronic fabric maintains good resilience and conductive material wear resis-tance(Fig. 8). In addition, thanks to the full textile configuration of the flexible electronic fabric, it has better air permeability of 270.49 mm/s and moisture permeability of 3 420 g/(m2·24 h), representing better comfort. The flexible electronic fabric can realize the dynamic monitoring of the object, and it is convenient to predict the size and weight of the object qualitatively according to the image size and color depth as illustrated in Fig. 11. The flexible electronic fabric has excellent recognition ability for human body dynamic signals (as shown in Fig.12).
Conclusion This paper introduces a flexible electronic fabric with piezoresistive effect, which is composed of 1+1 ribbed conductive fabric and MXene modified cotton fabric. It has high sensitivity, fast response and excellent cycle durability. It is able to sense, record and distinguish the pressure of human movement, and achieve dynamic monitoring. On the basis of meeting the sensing requirements, the composition of the whole fabric can meet the needs of thermal-moist comfort and contact comfort of the human body. It has the potential to achieve large-scale industrial production due to its easy preparation process and stable performance, and has broad application prospects in the fields of sports training, medical care and military protection. In the future, the accuracy, sustainability, interactivity and data analysis and feedback of intelligent textiles need be further studied to meet the needs of the end-users with improved behavior.

Key words: all-textile-based, flexible piezoresistive sensor, electronic fabric, sensing performance, MXene

中图分类号: 

  • TM242

图1

柔性电子织物结构示意图"

图2

MXene改性前后棉织物的扫描电镜照片"

图3

MXene改性棉织物的化学元素分布图"

图4

柔性电子织物的灵敏度"

图5

柔性电子织物的响应时间"

图6

柔性电子织物在不同压力下的电阻变化"

图7

柔性电子织物的应力-应变曲线"

图8

柔性电子织物循环耐久性"

图9

柔性电子织物的耐水洗性"

图10

压力监测系统示意图"

图11

砝码施压监测效果图"

图12

手部施压监测效果"

[1] LU L J, YANG B, ZHAI Y Q, et al. Electrospinning core-sheath piezoelectric microfibers for self-powered stitchable sensor[J]. Nano Energy, 2020. DOI: 10.1016/j.nanoen.2020.104966.
doi: 10.1016/j.nanoen.2020.104966
[2] CHEN J L, WEN X J, LIU X, et al. Flexible hierarchical helical yarn with broad strain range for self-powered motion signal monitoring and human-machine interactive[J]. Nano Energy, 2021. DOI: 10.1016/j.nanoen.2020.105446.
doi: 10.1016/j.nanoen.2020.105446
[3] YUAN J F, ZHU R, LI G Z. Self-powered electronic skin with multisensory functions based on thermoelectric conversion[J]. Adv Mater Technol, 2020. DOI:10.1002/admt.202000419.
doi: 10.1002/admt.202000419
[4] NING C, DONG K, CHENG R W, et al. Flexible and stretchable fiber-shaped triboelectric nanogenerators for biomechanical monitoring and human-interactive sensing[J]. Adv Funct Mater, 2021. DOI: 10.1002/adfm.202006679.
doi: 10.1002/adfm.202006679
[5] YUAN Z Q, SHEN G Z, PAN C F, et al. Flexible sliding sensor for simultaneous monitoring deformation and displacement on a robotic hand/arm[J]. Nano Energy, 2020. DOI: 10.1016/j.nanoen.2020.104764.
doi: 10.1016/j.nanoen.2020.104764
[6] MA J M, ZHU J Q, MA P, et al. Fish bladder film-based triboelectric nanogenerator for noncontact position monitoring[J]. ACS Energy Lett, 2020, 5(9): 3005-3011.
doi: 10.1021/acsenergylett.0c01062
[7] MA Y L, OUYANG J Y, RAZA T, et al. Flexible all-textile dual tactile-tension sensors for monitoring athletic motion during taekwondo[J]. Nano Energy, 2021. DOI: 10.1016/j.nanoen.2021.105941.
doi: 10.1016/j.nanoen.2021.105941
[8] JIANG D J, SHI B J, OUYANG H, et al. Emerging implantable energy harvesters and self-powered implantable medical electronics[J]. ACS Nano, 2020, 14(6): 6436-6448.
doi: 10.1021/acsnano.9b08268 pmid: 32459086
[9] ZENG X W, HU Y F. Sensation and perception of a bioinspired flexible smart sensor system[J]. ACS Nano, 2021, 15(6): 9238-9243.
doi: 10.1021/acsnano.1c03408 pmid: 34124901
[10] WANG Z M, AN J, NIE J H, et al. A self-powered angle sensor at nanoradian-resolution for robotic arms and personalized medicare[J]. Adv Mater, 2020. DOI: 10.1002/adma.202001466.
doi: 10.1002/adma.202001466
[11] MA L Q, SHUAI X T, HU Y G, et al. A highly sensitive and flexible capacitive pressure sensor based on a micro-arrayed polydimethylsiloxane dielectric layer[J]. J Mater Chem C, 2018, 6(48): 13232-13240.
doi: 10.1039/C8TC04297G
[12] LI W, JIN X, HAN X, et al. Synergy of porous structure and microstructure in piezoresistive material for high-performance and flexible pressure sensors[J]. ACS Appl Mater Interfaces, 2021, 13(16): 19211-19220.
doi: 10.1021/acsami.0c22938
[13] JAEGYU K, SEOUNGWOO B, SANGRYUN L, et al. Cost-effective and strongly integrated fabric-based wearable piezoelectric energy harvester[J]. Nano Energy, 2020. DOI: 10.1016/j.nanoen.2020.104992.
doi: 10.1016/j.nanoen.2020.104992
[14] ZOU J D, ZHANG M, HUANG J R, et al. Coupled supercapacitor and triboelectric nanogenerator boost biomimetic pressure sensor[J]. Adv Energy Mater, 2018. DOI: 10.1002/aenm.201702671.
doi: 10.1002/aenm.201702671
[1] 闫涛, 潘志娟. 轻薄型取向碳纳米纤维膜的应变传感性能[J]. 纺织学报, 2021, 42(07): 62-68.
[2] 王晓菲, 万爱兰, 沈新燕. 基于聚多巴胺修饰的聚吡咯导电织物制备与应变传感性能[J]. 纺织学报, 2021, 42(06): 114-119.
[3] 汤健, 闫涛, 潘志娟. 导电复合纤维基柔性应变传感器的研究进展[J]. 纺织学报, 2021, 42(05): 168-177.
[4] 吴颖欣, 胡铖烨, 周筱雅, 韩潇, 洪剑寒, GIL Ignacio. 柔性可穿戴氨纶/聚苯胺/聚氨酯复合材料的应变传感性能[J]. 纺织学报, 2020, 41(04): 21-25.
[5] 李思明, 吴官正, 胡雨洁, 方镁淇, 贺录祥, 贺燕, 肖学良. 压力分布监测袜的制备及其传感性能[J]. 纺织学报, 2019, 40(07): 138-144.
[6] 李忠健 潘如如 高卫东. 应用纱线序列图像的电子织物构建[J]. 纺织学报, 2016, 37(3): 35-40.
Viewed
Full text


Abstract

Cited

  Shared   
  Discussed   
[1] 曹建达;顾小军;殷联甫. 用BP神经网络预测棉织物的手感[J]. 纺织学报, 2003, 24(06): 35 -36 .
[2] 【作者单位】:中国纺织工程学会秘书处【分类号】:+【DOI】:cnki:ISSN:0-.0.00-0-0【正文快照】:  香港桑麻基金会设立的“桑麻纺织科技奖” 0 0 年提名推荐工作;在纺织方面院士;专家和有关单位的大力支持下;收到了 个单位 (人 )推荐的 位候选人的. 2003年桑麻纺织科技奖获奖名单[J]. 纺织学报, 2003, 24(06): 107 .
[3] 【分类号】:Z【DOI】:cnki:ISSN:0-.0.00-0-0【正文快照】:  一;纺 纱模糊控制纺纱张力的研究周光茜等 ( - )………………原棉含杂与除杂效果评价方法的研究于永玲 ( - )……网络长丝纱免浆免捻功能的结构表征方法李栋高等 ( - )……………. 2003年纺织学报第二十四卷总目次[J]. 纺织学报, 2003, 24(06): 109 -620 .
[4] 朱敏;周翔. 准分子激光对聚合物材料的表面改性处理[J]. 纺织学报, 2004, 25(01): 1 -9 .
[5] 黄立新. Optim纤维及产品的开发与应用[J]. 纺织学报, 2004, 25(02): 101 -102 .
[6] 邓炳耀;晏雄. 热压对芳纶非织造布机械性能的影响[J]. 纺织学报, 2004, 25(02): 103 -104 .
[7] 张治国;尹红;陈志荣. 纤维前处理用精练助剂研究进展[J]. 纺织学报, 2004, 25(02): 105 -107 .
[8] 秦元春. 纺织工业发展方向初探[J]. 纺织学报, 2004, 25(02): 108 -110 .
[9] 高伟江;魏文斌. 纺织业发展的战略取向——从比较优势到竞争优势[J]. 纺织学报, 2004, 25(02): 111 -113 .
[10] 林红;陈宇岳;任煜;仲志锋;王红卫. 经等离子体处理的蚕丝纤维结构与性能[J]. 纺织学报, 2004, 25(03): 9 -10 .