纺织学报 ›› 2024, Vol. 45 ›› Issue (11): 215-225.doi: 10.13475/j.fzxb.20230806101

• 机械与设备 • 上一篇    下一篇

半封闭自由表面式静电纺丝喷头设计与优化

刘健1,2(), 王程皓1, 董守骏1, 刘泳汝2   

  1. 1.天津工业大学 机械工程学院, 天津 300387
    2.天津工业大学 工程教学实习训练中心, 天津 300387
  • 收稿日期:2023-08-28 修回日期:2024-08-15 出版日期:2024-11-15 发布日期:2024-12-30
  • 作者简介:刘健(1985—),高级实验师,博士。主要研究方向为CAD/CAM一体化技术、新型纺织机械设计及自动化。E-mail:liujian3286@126.com
  • 基金资助:
    天津市自然科学基金面上项目(22JCYBJC01470)

Design and optimization of semi-enclosed free-surface electrospinning nozzle

LIU Jian1,2(), WANG Chenghao1, DONG Shoujun1, LIU Yongru2   

  1. 1. School of Mechanical Engineering, Tiangong University, Tianjin 300387, China
    2. Center of Engineering Practice Training, Tiangong University, Tianjin 300387, China
  • Received:2023-08-28 Revised:2024-08-15 Published:2024-11-15 Online:2024-12-30

摘要:

针对静电纺丝技术中毛细针头纺丝产量低、自由表面式静电纺丝溶液体系不稳定等问题,提出一种多叶片半封闭自由表面式静电纺丝喷头。利用MatLab软件对叶片截面曲线进行拟合,基于溶液分配均匀性建立喷头基本结构;借助Fluent流体压力仿真以及神经网络(BP)和模拟退火算法相结合的方法,计算出叶片内外层与中线的合适夹角,分别定为27°和50°;基于张力系数的计算推导出喷头内层和外层对液滴持握时间的理论公式,喷头内外层液滴持握时间分别为21.89 s和17.80 s;最后进行静电纺丝实验,验证该喷头叶片尖端可稳定形成12股射流,纤维薄膜面积可达1 140~1 440 cm2,纤维平均直径为275 nm,变异系数(CV值)为17.49%。研究结果对于开发稳定、高效、可控的静电纺丝纳米纤维制备方法具有一定的参考意义。

关键词: 静电纺丝, 半封闭自由表面, 神经网络, 喷头设计, Fluent仿真, 持握时间, 多射流

Abstract:

Objective In the process of electrospinning, the yield of capillary needle spinning is low and the free-surface electrospinning solution system is unstable. Therefore, it is necessary to design a new type of nozzle to ensure the stability, high efficiency and controllable preparation of electrospinning nanofibers. Aiming at the problems of multi-needle electrospinning and needle-free electrospinning, a multi-blade semi-enclosed free-surface electrospinning nozzle is proposed.

Method The multi-blade semi-enclosed free-surface nozzle was primarily divided into the straight pipe section and the blade section. The straight pipe section was first designed based on the uniformity of solution distribution. Next, the blade part was modeled according to the shape and distribution characteristics of a lotus petal, with the inner and outer layers of the blade clips determined using a neural network (BP) combined with a simulated annealing algorithm. The model was then set up to verify the accuracy of the algorithm, and theoretical calculations of droplet holding time were performed for the designed model. Finally, the model's validity was confirmed through experiments.

Results A multi-blade semi-enclosed free surface nozzle was designed. The straight pipe part of the nozzle adopted the method of multi-channel uniform distribution. The blade section was simulated by the lotus petal section curve. The angle between the inner and outer layers of the blade layer was calculated by combining BP and simulated annealing algorithm, and the angle between the inner and outer layers was determined to be 27° and 50°, respectively. Fluent software was adopted to simulate the final model of the above design. At this time, the pressure ratio between the inner wall and the outlet of the inner and outer layer solution in the process of electrostatic spinning was 0.45, which was close to the theoretical calculation and verified the accuracy of the theoretical model. On the basis of calculating the tension coefficient, a formula for calculating the droplet retention time of the nozzle blade was derived, and the nozzle parameters involved were included in the calculation. The results showed that the droplet holding time of the inner and outer blades was 21.89 s and 17.80 s, respectively, which is sufficient for the droplet to complete the electrospinning process and stabilize the electrospinning solution system. The identified model was 3D printed with stainless steel and electrospinning experiment was carried out. In the experiment, it was found that 12 blade tips would form a stable jet, and the efficiency was about 12 times higher than that of a single needle jet. In addition, because of the angle between the inner and outer layers in the nozzle blade, the angle between the inner and outer layers of the nozzle blades ensures that the pressure of the solution on the inner wall is the same for both layers, resulting in equal outflow speeds. The spinning area was large, and the measured fiber membrane area in this experiment was in the range of 1 140-1 440 cm2. Because the liquid supply rate was higher than the spinning rate during electrostatic spinning, the liquid droplets would not overflow on the nozzle surface or drop on the nozzle surface, and would not affect the quality of the fiber membrane. Finally, the film generated by the semi-closed free-surface nozzle with 10 mL/h supply rate and 15 min spinning time was observed by electron microscopy. The average fiber diameter was 275 nm and the CV value was 17.49%.

Conclusion Combining the advantages of single-needle and free-surface nozzle in electrospinning, a semi-enclosed free-surface nozzle with multiple blades is proposed and designed. It has the advantages of multi-jet formation, long droplet holding time and no solution volatization. Compared with conventional single needle electrospinning, the efficiency is improved and the spinning area is enlarged. Compared with electrospinning without needles, the solution utilization rate and stability of electrospinning solution are improved. Through the electrospinning experiment and the electron microscopy of the fiber membrane, the average diameter of the fiber film produced by the nozzle is 275 nm, with a diameter coefficient of variation (CV) of 17.49%, indicating excellent fiber characteristics, and this study has certain reference significance for the development of stable, efficient and controllable electrospinning nanofibers preparation method.

Key words: electrospinning, semi-enclosed free surface, neural network, simulated annealing algorithm, fluent simulation, holding time, multiple jet

中图分类号: 

  • TS174.8

表1

莲花花瓣纵剖面曲线坐标"

组数 坐标1 坐标2 坐标3 坐标4 坐标5
1 (0,0.00) (0,0.00) (0,0.00) (0,0.00) (0,0.00)
2 (1,-0.16) (1,-0.17) (1,-0.16) (1,-0.15) (1,-0.15)
3 (2,-0.35) (2,-0.34) (2,-0.35) (2,-0.36) (2,-0.33)
4 (3,-0.64) (3,-0.65) (3,-0.64) (3,-0.64) (3,-0.65)
5 (4,-1.06) (4,-1.05) (4,-1.06) (4,-1.07) (4,-1.07)
6 (5,-1.50) (4,-1.49) (4,-1.48) (4,-1.51) (4,-1.50)
7 (6,-1.80) (6,-1.79) (6,-1.81) (6,-1.80) (6,-1.78)
8 (7,-1.78) (7,-1.81) (7,-1.80) (7,-1.79) (7,-1.80)
9 (8,-1.59) (7,-1.58) (7,-1.59) (7,-1.58) (7,-1.57)
10 (9,-0.92) (9,-0.91) (9,-0.91) (9,-0.90) (9,-0.92)
11 (10,0.00) (10,0.00) (10,0.00) (10,0.00) (10,0.00)

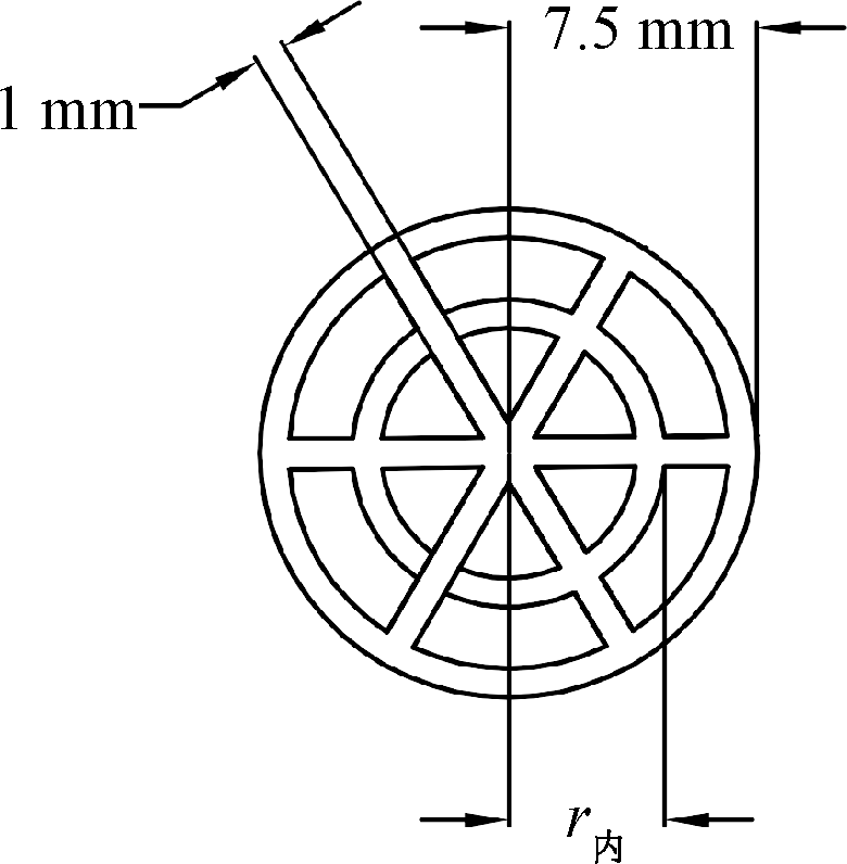
图1

喷头直管流道分布图"

图2

喷头参数"

图3

神经网络模型"

图4

叶片张开角度与液滴握持时间实验"

表2

内外层叶片与中线夹角的配合表"

内层角度/(°) 外层角度/(°)
25 25 30 35 40 45 50 55 60
30 - 30 35 40 45 50 55 60
35 - - 35 40 45 50 55 60
40 - - - 40 45 50 55 60
45 - - - - 45 50 55 60
50 - - - - - 50 55 60
55 - - - - - - 55 60
60 - - - - - - - 60

图5

边界划分"

表3

溶液对喷头内外层内壁和出口压力比实验数据"

序号 溶液对内外层
内壁压力比
溶液对内外层
出口压力比
角度/(°) 序号 溶液对内外层
内壁压力比
溶液对内外层
出口压力比
角度/(°)
内层 外层 内层 外层
1 0.15 0.09 25 25 19 0.25 0.30 35 50
2 0.18 0.17 25 30 20 0.28 0.43 35 55
3 0.22 0.25 25 35 21 0.35 0.52 35 60
4 0.25 0.35 25 40 22 0.13 0.06 40 40
5 0.30 0.45 25 45 23 0.16 0.10 40 45
6 0.34 0.56 25 50 24 0.20 0.20 40 50
7 0.39 0.70 25 55 25 0.24 0.29 40 55
8 0.48 0.86 25 60 26 0.30 0.40 40 60
9 0.15 0.08 30 30 27 0.12 0.05 45 45
10 0.18 0.15 30 35 28 0.16 0.12 45 50
11 0.21 0.23 30 40 29 0.20 0.16 45 55
12 0.25 0.32 30 45 30 0.25 0.29 45 60
13 0.29 0.42 30 50 31 0.13 0.06 50 50
14 0.34 0.54 30 55 32 0.16 0.12 50 55
15 0.39 0.67 30 60 33 0.20 0.20 50 60
16 0.14 0.07 35 35 34 0.11 0.05 55 55
17 0.17 0.14 35 40 35 0.16 0.12 55 60
18 0.20 0.21 35 45 36 0.11 0.04 60 60

表4

溶液对喷头内外层内壁压力比和出口压力比时的权值和阀值"

参数 内壁压力比 出口压力比
w11 0.172 7 -1.398 4
w12 0.355 5 0.262 0
w21 -0.194 5 -1.460 9
w22 -1.613 0 -0.307 6
w1 -3.636 6 -0.039 8
w2 -1.747 4 -6.274 7
b1 0.379 1 1.764 6
b2 2.894 4 1.172 2
b 2.304 7 2.304 7

图6

模拟退火逻辑框图"

图7

流体仿真压力和速度云图"

图8

半封闭自由表面式喷头模型参数"

图9

截面压力云图"

图10

半封闭自由表面式喷头"

图11

半封闭自由表面式喷头静电纺丝"

图12

半封闭自由表面式喷头纤维薄膜"

图13

纳米纤维表面形貌与直径分布图"

图14

传统毛细针头静电纺丝"

图15

传统自由表面式静电纺丝"

[1] FADIL F, AFFANDI N D N, MISNO M I, et al. Review on electrospun nanofiber-applied products[J]. Polymers, 2021, 13(2087): 1-29.
[2] LEE J, MOON S, LAHANN J, et al. Recent progress in preparing nonwoven nanofibers via needleless electrospinning[J]. Macromolecular Materials and Engineering, 2023. DOI: 10.1002/mame.202300057.
[3] 薛聪, 胡影影, 黄争鸣. 静电纺丝原理研究进展[J]. 高分子通报, 2009, 122(6): 38-47.
XUE Chong, HU Yingying, HUANG Zhengming. Advances in electrospinning principles[J]. Bulletin of Polymers, 2009, 122(6): 38-47.
[4] 师奇松, 于建香, 顾克壮, 等. 静电纺丝技术及其应用[J]. 化学世界, 2005(5): 313-316.
SHI Qisong, YU Jianxiang, GU Kezhuang, et al. Electrospinning technology and its application[J]. Chemical World, 2005(5): 313-316.
[5] 曾浩. 气泡静电纺丝专利技术的研究进展[J]. 上海纺织科技, 2022, 50(5): 60-64.
ZENG Hao. Research progress of patented technology of bubble electro-spinning[J]. Shanghai Textile Science and Technology, 2022, 50(5): 60-64.
[6] 于川力, 王经逸, 贾红兵, 等. 静电纺丝的应用研究进展[J]. 化工新型材料, 2022, 50(S1): 50-55.
YU Chuanli, WANG Jingyi, JIA Hongbing, et al. Application research progress of electrospinning[J]. New Chemical Materials, 2022, 50(S1): 50-55.
[7] 刘宇亮. 聚合物熔体离心静电纺丝过程仿真及实验探究[D]. 北京: 北京化工大学, 2022: 4-5.
LIU Yuliang. Simulation and experimental study on centrifugal electrospinning process of polymer melt[D]. Beijing: Beijing University of Chemical Technology, 2022: 4-5.
[8] THERON S, YARIN A, ZUSSMAN E, et al. Multiple jets in electrospinning: experiment and modeling[J]. Polymer, 2005, 46(9): 2889-2899.
[9] TOMASZEWSKI W, SZADKOWSKI M. Investigation of electrospinning with the use of a multi-jet electrospinnin head[J]. Fibres & Textiles in Eastern Europe, 2005, 13(4): 22-26.
[10] LI W W, LUO Z W, WANG X, et al. Ejection and motion behaviors simulation for multi-jet electro-spinning[J]. Key Engineering Materials, 2015, 645: 281-286.
[11] SALEHHUDIN H S, HAMAD E N, MAHADI W N L, et al. Multiple-jet electrospinning methods for nanofibre processing: a review[J]. Materials and Manufacturing Processes, 2018, 33(5): 479-498.
[12] 杨卫民, 刘兆香, 刘晓凤, 等. 一种双层花瓣形喷头的静电纺丝装置: 中国, 201310334445.9[P]. 2013-12-18.
YANG Weimin, LIU Zhaoxiang, LIU Xiaofeng, et al. An electrostatic spinning device with double petal nozzle: 201310334445.9[P]. 2013-12-18.
[13] JIANG G J, ZHANG S, QIN X. High throughput of quality nanofibers via one stepped pyramid-shaped spinneret[J]. Materials Letters, 2013, 106(106): 56-58.
[14] 戴同兰, 程志飞. 流体压强与流速关系实验的创新设计[J]. 中学物理, 2021, 39(20): 39-40.
DAI Tonglan, CHENG Zhifei. Innovative design of experiment on the relationship between fluid pressure and velocity[J]. High School Physics, 2021, 39(20): 39-40.
[15] 丛波. 基于分形的三维花卉建模算法研究[D]. 沈阳: 沈阳理工大学, 2009: 28-35.
CONG Bo. Research on 3D flower modeling algorithm based on fractal[D]. Shenyang: Shenyang University of Technology, 2009: 28-35.
[16] LIAO H, DING S, WANG M, et al. An overview on rough neural networks[J]. Neural.Computing and Applications, 2016, 27(7): 1805-1816.
[17] 孙旺, 朱平, 严宏鑫. 基于BP和RBF神经网络对静电纺丝工艺参数的优化研究[J]. 材料科学与工艺, 2023, 31(3): 56-62.
SUN Wang, ZHU Ping, YAN Hongxin. Optimization of electrospinning process parameters based on BP and RBF neural networks[J]. Materials Science and Technology, 2019, 31(3): 56-62.
[18] 张竞, 何伟, 马腾, 等. 静电纺丝PAN纳米纤维的制备与表征[J]. 江苏科技大学学报, 2011, 25(4): 342-345, 353.
ZHANG Jing, HE Wei, MA Teng, et al. Preparation and characterization of PAN nanofibers by electrospinning[J]. Journal of Jiangsu University of Science and Technology, 2011, 25(4): 342-345, 353.
[19] LEE M J, KIM M B, KANG G C. A study on the cold ironing process for the drum clutch with inner gear shapes[J]. International Journal of Machine Tools and Manufacture, 2006, 46(6): 640-650.
[20] MUSHARAVATI F, HAMOUDA A. Enhanced simulated-annealing-based algorithms and their applications to process planning in reconfigurable manufacturing systems[J]. Advances in Engineering Software, 2011, 45(1): 80-90.
[21] 尹东霞, 马沛生, 夏淑倩. 液体表面张力测定方法的研究进展[J]. 科技通报, 2007, 137(3): 424-429, 433.
YIN Dongxia, MA Peisheng, XIA Shuqian. Research progress of liquid surface tension measurement methods[J]. Bulletin of Science and Technology, 2007, 137(3): 424-429, 433.
[22] 张大洋, 范文玉, 赵鸣玉. 滴体积法测定表面张力的快速计算[J]. 日用化学工业, 2001(1): 49-50, 56.
ZHANG Dayang, FAN Wenyu, ZHAO Mingyu. Rapid calculation of surface tension by drop volume method[J]. China Surfactant & Cosmetics Industry, 2001(1): 49-50, 56.
[23] DU X D, GENG C D, SUN J S, et al. Surface tension measurement by the drop volume method[J]. Key Engineering Materials, 2012, 1(501): 407-412.
[24] JIRSAK O, SANETRNIK F, LUKAS D, et al. Method of nanofibres production from a polymer solution using electrostatic spinning and a device for carrying out the method: US7585437[P]. 2009-9-8.
[1] 雷福旺, 冯其, 侯奥菡, 赵振鸿, 谭佳兆, 赵景, 王先锋. 聚偏氟乙烯-聚丙烯腈/SiO2单向导湿纤维膜的制备及其性能[J]. 纺织学报, 2024, 45(12): 1-8.
[2] 刘霞, 吴改红, 闫子豪, 王彩柳. 智能相变调温聚乳酸纤维膜的制备及其性能[J]. 纺织学报, 2024, 45(12): 18-24.
[3] 王雅文, 刘娜, 王元非, 吴桐. 静电纺纳米纤维纱线及其对细胞迁移和血管化的调控[J]. 纺织学报, 2024, 45(12): 25-32.
[4] 卢海龙, 于影, 左雨欣, 王浩然, 陈洪立, 汝欣. 取向增强抗CO2腐蚀纤维薄膜的制备及其性能[J]. 纺织学报, 2024, 45(12): 33-40.
[5] 李韩, 王海霞, 张旭, 刘丽萍, 刘小琨. 基于聚乙烯醇缩丁醛/聚乙二醇的同轴纳米纤维膜储热织物制备及其热管理性能[J]. 纺织学报, 2024, 45(11): 37-45.
[6] 刘允璞, 刘威, 王黎明, 覃小红. 静电纺三维纳米纤维材料的制备方法与应用进展[J]. 纺织学报, 2024, 45(11): 226-234.
[7] 王宇航, 谭晶, 李好义, 徐锦龙, 杨卫民. 纳米纤维纱线静电纺制备技术研究进展[J]. 纺织学报, 2024, 45(11): 235-243.
[8] 刘健, 董守骏, 王程皓, 刘泳汝, 潘山山, 尹兆松. 花瓣状多尖端静电纺丝喷头的电场模拟及优化[J]. 纺织学报, 2024, 45(10): 191-199.
[9] 张佃平, 王昊, 林文峰, 王振秋. 多喷头纺丝装置的仿真与设计[J]. 纺织学报, 2024, 45(10): 200-207.
[10] 王浩然, 于影, 左雨欣, 顾志清, 卢海龙, 陈洪立, 柯俊. 聚乙烯亚胺/聚丙烯腈复合纤维薄膜的制备及其功能化应用[J]. 纺织学报, 2024, 45(09): 26-32.
[11] 王清鹏, 张海艳, 王雨婷, 张涛, 赵燕. 聚环氧乙烷/Al2O3被动辐射降温膜的制备及其性能[J]. 纺织学报, 2024, 45(09): 33-41.
[12] 杨硕, 赵朋举, 程春祖, 李晨暘, 程博闻. 非对称润湿性纤维复合膜的制备及其油水分离性能[J]. 纺织学报, 2024, 45(08): 10-17.
[13] 王永政, 黄林涛, 宋付权. 石油沥青/聚丙烯腈静电纺碳纳米纤维的制备工艺优化及其性能[J]. 纺织学报, 2024, 45(08): 107-115.
[14] 闫迪, 王雪芳, 谭文萍, 高国金, 明津法, 宁新. 富咪唑型多孔左旋聚乳酸纳米纤维膜制备及其双重净水性能[J]. 纺织学报, 2024, 45(08): 116-126.
[15] 陈灿, 拖晓航, 王迎. 取向聚氨酯纳米纤维膜卷纱的制备及其力学性能[J]. 纺织学报, 2024, 45(08): 134-141.
Viewed
Full text


Abstract

Cited

  Shared   
  Discussed   
No Suggested Reading articles found!