纺织学报 ›› 2022, Vol. 43 ›› Issue (08): 176-182.doi: 10.13475/j.fzxb.20210506607

• 机械与器材 • 上一篇    下一篇

新型夹纱器压电驱动器的运动特性

马训鸣1,2, 李峙毅1(), 吕广雷1, 陈勇洁1   

  1. 1.西安工程大学 机电工程学院, 陕西 西安 710600
    2.西安市现代智能纺织装备重点实验室, 陕西 西安 710600
  • 收稿日期:2021-05-25 修回日期:2022-04-23 出版日期:2022-08-15 发布日期:2022-08-24
  • 通讯作者: 李峙毅
  • 作者简介:马训鸣(1963—),男,教授。主要研究方向为机械自动化技术。
  • 基金资助:
    陕西省重点研发计划项目(2019GY–106);西安市现代智能纺织装备重点实验室项目(2019220614SYS021CG043)

Kinematic characteristics of new piezoelectric actuator for yarn gripper in looms

MA Xunming1,2, LI Zhiyi1(), LÜ Guanglei1, CHEN Yongjie1   

  1. 1. School of Mechanical and Electrical Engineering, Xi'an Polytechnic University, Xi'an, Shaanxi 710600, China
    2. Xi'an Key Laboratory of Modern Intelligent Textile Equipment, Xi'an, Shaanxi 710600, China
  • Received:2021-05-25 Revised:2022-04-23 Published:2022-08-15 Online:2022-08-24
  • Contact: LI Zhiyi

摘要:

为解决传统电磁夹纱器响应频率低、一致性差等问题,提出了基于压电技术设计新型夹纱器的新方法,并对其压电驱动器进行动态分析。首先对压电驱动器静态参数及影响端部位移的参数进行分析,得到其最佳夹持长度;随后建立悬臂式压电驱动器动力学模型并使用MatLab对系统进行仿真,分析了各个参数的数值改变对系统动态特性与稳定性的影响;最后搭建实验平台对压电驱动器进行测试,验证了压电驱动器的先进性。仿真和实验结果表明:驱动电压为150 V,频率为10 Hz,压电驱动器端部最大位移为1.49 mm左右,达到最大位移的系统响应时间稳定在1.6 ms;相比国内外电磁夹纱器,动态性能有了明显提高。

关键词: 夹纱器, 压电驱动器, 动力学方程, 运动特性, 织机

Abstract:

Aiming at the low response frequency and poor consistency of the traditional electromagnetic yarn grippers, a new design of yarn grippers based on piezoelectric technology was proposed and its piezoelectric actuator was analyzed dynamically. The static parameters of the piezoelectric actuator and the parameters affecting the position shift of the piezoelectric actuator were analyzed, and the optimal holding length was obtained. The dynamic model of cantilever piezoelectric actuator was established and the system was simulated by MatLab. The influence of the numerical changes of each parameter on the dynamic characteristics and stability of the system was analyzed. Finally, an experimental platform was built to test the piezoelectric actuator, and the advance of the piezoelectric actuator was verified. The simulation and experimental results show that when the driving voltage is 150 V, the frequency is 10 Hz, the maximum displacement of the piezoelectric actuator end is 1.49 mm, and the response time of the system reaches the maximum displacement is stable at about 1.6 ms. Compared with the electromagnetic yarn grippers, the dynamic performance of the new piezoelectric actuator has been significantly improved.

Key words: yarn gripper, piezoelectric actuator, kinetic equation, kinematic characteristic, loom

中图分类号: 

  • TH132

图1

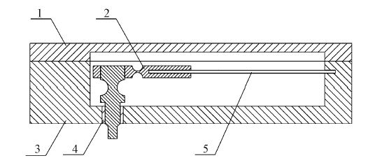
压电夹纱器示意图 1—上壳体; 2—双柔性铰链; 3—下壳体; 4—滑动轴承; 5—压电片。"

图2

压电片沿轴线微位移示意图 L—压电弯曲片总长; X1—沿轴线方向的微小位移。"

图3

悬臂式压电弯曲片示意图"

图4

非夹持长度与位移关系"

图5

每层压电层厚度与位移关系"

图6

压电弯曲片动力学模型"

图7

阻尼比对系统的影响"

图8

等效刚度对系统的影响"

图9

等效质量对系统的影响"

图10

零极点图"

图11

系统伯德图"

图12

实验测试平台"

图13

测试结果"

图14

数据分析结果"

[1] 洪海沧, 李雪清. 近期国内外织造技术的进步与发展趋势[J]. 纺织导报, 2019(7):71-74.
HONG Haicang, LI Xueqing. Recent progress and development trend of weaving technology at home and abroad[J]. China Textile Leader, 2019(7):71-74.
[2] 马磊, 王新力. 从ITMA 2019看织造装备的技术进展[J]. 纺织导报, 2019(12):18-29.
MA Lei, MA Lei, WANG Xinli. Technological progress of weaving equipment from ITMA 2019[J]. China Textile Leader, 2019(12):18-29.
[3] 陈永当, 赵诚诚, 殷俊清, 等. 喷气织机新型引纬片结构设计及引纬流场分析[J]. 纺织高校基础科学学报, 2020, 33(4):59-63.
CHEN Yongdang, ZHAO Chengcheng, YIN Junqing, et al. Structure design and flow field analysis of new weft inserting vane on air jet loom[J]. Journal of Basic Science of Textile Universities, 2020, 33(4):59-63.
[4] 史飞虎. 基于MCU的储纬器控制装置的设计与应用[J]. 上海纺织科技, 2017, 45(2):53-54,61.
SHI Feihu. Design and application of the control device of weft catcher based on MCU[J]. Shanghai Textile Science & Technology, 2017, 45(2):53-54,61.
[5] 方远, 刘树勇, 杨理华, 等. 压电陶瓷片迟滞补偿建模及悬臂梁主动控制研究[J]. 噪声与振动控制, 2018, 38(2):25-29.
FANG Yuan, LIU Shuyong, YANG Lihua, et al. Hysteresis compensation modeling of piezoelectric ceramic sheet and active control of cantilever beam[J]. Noise and Vibration Control, 2018, 38(2):25-29.
[6] GOLDFARB M, CELANOVIC N. A lumped parameter electromechanical model for describing the nonlinear behavior of piezoelectric actuators[J]. Journal of Dynamic Systems Measurement & Control, 1997, 119(3):478-485.
[7] 王生健, 周伟, 宁乃永. LD-1型喷气织机挡纱销的试制[J]. 纺织科学研究, 2003(2):39-42,51.
WANG Shengjian, ZHOU Wei, NING Naiyong. The trial production of LD-1 type air jet loom yarn stopper[J]. Textile Science Research, 2003(2):39-42,51.
[8] 张昌松, 雷春耀, 高峰. 基于有限元的压电双晶片驱动模拟分析[J]. 陕西科技大学学报(自然科学版), 2014, 32(2):134-137.
ZHANG Changsong, LEI Chunyao, GAO Feng. Driving simulation of the piezoelectric bimorph based on the finite element[J]. Journal of Shaanxi University of Science (Natural Science), 2014, 32(2):134-137.
[9] WANG Qingming, CROSS L Eric. Performance analysis of piezoelectric cantilever bending actuators[J]. Ferroelectrics, 1998, 215(1) :187-213.
doi: 10.1080/00150199808229562
[10] 黄燕. 压电先导型气动阀位置比例控制系统研究[D]. 上海: 上海交通大学, 2017:9-10.
HUANG Yan. Research on position proportional control system of piezoelectric pilot pneumatic valve[D]. Shanghai: Shanghai Jiao Tong University, 2017:9-10.
[11] GOLDFARB M, CELANOVIC N. Modeling piezoelectric stack actuators for control of micromanipulation[J]. IEEE Control Systems, 1997, 17(3):69-79.
doi: 10.1109/37.588158
[12] 程光明, 李新辉, 张海滨, 等. 悬臂式压电双晶片振子夹持长度变化对其动态特性的影响[J]. 光学精密工程, 2014, 22(5):1296-1303.
CHENG Guangming, LI Xinhui, ZHANG Haibin, et al. Effect of clamping length variation on dynamic characteristics of cantilever piezoelectric twin wafer vibrator[J]. Optics and Precision Engineering, 2014, 22(5):1296-1303.
doi: 10.3788/OPE.20142205.1296
[13] 张宏壮. 压电双晶片型二自由度惯性冲击式精密驱动器理论与实验研究[D]. 长春: 吉林大学, 2006:54-55.
ZHANG Hongzhuang. Theoretical and experimental study on piezoelectric dual chip type two DOF inertial impactor precision actuator[D]. Changchun: Jilin University, 2006:54-55.
[14] 张宏壮, 程光明, 曾平, 等. 压电双晶片型2自由度精密驱动器的动态特性[J]. 机械工程学报, 2007(2):87-91.
ZHANG Hongzhuang, CHENG Guangming, ZENG Ping, et al. Dynamic characteristics of 2-DOF piezoelectric dual chip precision actuator[J]. Chinese Journal of Mechanical Engineering, 2007(2):87-91.
[15] 位德彬, 马训鸣, 刘玮航. 喷气织机高频喷射阀压电驱动器的动态特性[J]. 纺织高校基础科学学报, 2020, 33(3):24-30.
WEI Debin, MA Xunming, LIU Weihang. Dynamic characteristics of high frequency jet valve piezoelectric actuator in air jet loom[J]. Journal of Basic Science of Textile Universities, 2020, 33(3):24-30.
[16] 陈立文, 周庆生. 挡纱销质量检测分析测试仪的设计和应用[J]. 丝绸, 2007(5):43-45.
CHEN Liwen, ZHOU Qingsheng. Design and application of tester for quality inspection and analysis of yarn stopper pin[J]. Journal of Silk, 2007(5):43-45.
[1] 王罗俊, 彭来湖, 史伟民, 张伟中. 基于压电黏合体的电磁选针检测技术[J]. 纺织学报, 2022, 43(08): 167-175.
[2] 陈小明, 李皎, 张一帆, 谢军波, 姚天磊, 陈利. 基于上位机的层间角联锁织物用织机开口控制系统设计[J]. 纺织学报, 2022, 43(04): 174-179.
[3] 段金娟, 宣艾祺, 袁博, 李娜娜. 基于感性意象的并条机造型设计[J]. 纺织学报, 2022, 43(04): 160-166.
[4] 解开放, 罗凤香, 包新军, 周衡书, 徐广标. 高耐磨性复合涂层涤纶通丝的制备及其性能[J]. 纺织学报, 2022, 43(03): 123-131.
[5] 莫帅, 周长鹏, 李旭, 杨振宁, 刘辉华, 高瀚君. 机器人智能关节驱控结构一体化设计方法研究[J]. 纺织学报, 2022, 43(03): 160-167.
[6] 刘泽旭, 胥光申, 盛晓超, 代欣怡. 洛伦兹力磁悬浮织针驱动器设计与仿真[J]. 纺织学报, 2021, 42(11): 159-165.
[7] 周浩邦, 沈敏, 余联庆, 肖世超. 辅助喷嘴结构对喷气织机异形筘内合成流场特征的影响[J]. 纺织学报, 2021, 42(11): 166-172.
[8] 黄锦波, 祝成炎, 张红霞, 洪兴华, 周志芳. 基于剑杆织机改造的三维间隔机织物工艺设计[J]. 纺织学报, 2021, 42(06): 166-170.
[9] 张子煜, 徐洋, 盛晓伟, 解国升. 基于统计能量分析的簇绒地毯织机高频噪声抑制[J]. 纺织学报, 2021, 42(03): 169-174.
[10] 李博, 胡凯, 金国光, 魏展, 畅博彦. 空间连杆引纬机构柔性铰间隙动态特性研究[J]. 纺织学报, 2021, 42(01): 145-153.
[11] 喻陈楠, 贾江鸣, 陈之威, 陈建能, 陈加友, 陆文韬. 新型剑杆织机引纬机构的反求建模与运动学仿真[J]. 纺织学报, 2021, 42(01): 154-161.
[12] 戴宁, 彭来湖, 胡旭东, 崔英, 钟垚森, 王越峰. 纬编针织机织针自由状态下固有频率测试方法[J]. 纺织学报, 2020, 41(11): 150-155.
[13] 张祝辉, 张典堂, 钱坤, 徐阳, 陆健. 广角机织物的织造工艺及其偏轴拉伸力学性能[J]. 纺织学报, 2020, 41(08): 27-31.
[14] 张晓侠, 刘凤坤, 买巍, 马崇启. 基于BP神经网络及其改进算法的织机效率预测[J]. 纺织学报, 2020, 41(08): 121-127.
[15] 陈绍用, 徐洋, 盛晓伟, 张子煜. 基于滤波最小均方算法的簇绒地毯装备噪声主动控制[J]. 纺织学报, 2020, 41(07): 88-92.
Viewed
Full text


Abstract

Cited

  Shared   
  Discussed   
No Suggested Reading articles found!