Journal of Textile Research ›› 2019, Vol. 40 ›› Issue (05): 136-143.doi: 10.13475/j.fzxb.20180605208

• Machinery & Accessories • Previous Articles     Next Articles

Online monitoring of formation process of vortex core-spun yarn containing metal wire

HE Jian, PEI Zeguang(), ZHOU Jian, XIONG Xiangzhang, LÜ Haichen   

  1. College of Mechanical Engineering, Donghua University, Shanghai 201620, China
  • Received:2018-06-15 Revised:2018-12-21 Online:2019-05-15 Published:2019-05-21
  • Contact: PEI Zeguang E-mail:zgpei@dhu.edu.cn

Abstract:

In order to investigate the dynamics and wrapping quality of the fibers in the formation process of the vortex core-spun yarn containing metal wire, a device for the online monitoring based on an industrial endoscope was designed and images of the metal wire and the staple fibers moving in the spinning nozzle was captured. The characteristics of the exposed metal wire core during the wrapping process of the fibers were extracted. Comparative analysis of the amounts of exposed metal wire core in the wrapping process and in the yarn was performed. Influences of nozzle pressure and yarn delivery speed on the amounts of exposed metal wire core were also studied. The results show that the motional characteristics of staple fibers in the wrapping process can be grouped into three main categories: fibers evenly covering the metal wire with a certain helix angle; trailing ends of the fibers being expanded on the spindle or loosely distributed around the metal wire in spiral configurations with their leading ends having wrapped around the metal wire; and leading ends of the fibers being in a free and separated state with their trailing ends having wrapped around the metal wire. The amount of the exposed metal wire core decreases first and then increases with the increase of the nozzle pressure, while it increases first and then decreases with the increase of the yarn delivery speed. The variation trend of the amount of exposed metal wire core with the process parameters is in accordance with the online monitored results.

Key words: vortex spinning, core-spun yarn, metal wire, online monitoring, industrial endoscope

CLC Number: 

  • TS103.2

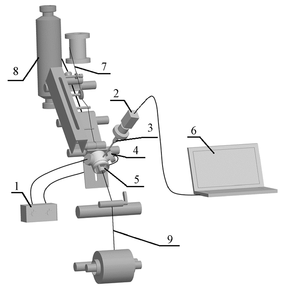
Fig.1

Schematic diagram of method and apparatus for online monitoring of formation process of vortex core-spun yarn containing metal wire"

Fig.2

Schematic diagram of nozzle structure and apparatus for online monitoring.(a) Cross-sectional view A-A; (b) Partial view B-B"

Tab.1

Parameters for spinning experiments"

工况类型 喷嘴气压/MPa 纺纱速度/(m·min-1) 牵伸比
工况1 0.50 100 40
工况2 0.55 100 40
工况3 0.60 100 40
工况4 0.55 130 40
工况5 0.55 160 40

Fig.3

Image of wrapping of fibers around metal wire during yarn formation. (a) Fibers of type A; (b) Fibers of type B; (c) Fibers of type C"

Fig.4

Image of fibers wrapping around wire. (a) Without exposed metal wire core;(b) With exposed metal wire core"

Fig.5

Image of process of core feature extraction. (a) Background image for monitoring yarn formation process;(b) Image of fibers and metal wire after removal of background; (c) Image of fiber and metal wire after filtering;(d) Image of exposed metal wire core"

Fig.6

Micrographs of yarn. (a) Yarn without exposed metal wire core; (b) Yarn with exposed metal wire core"

Tab.2

Variation of number of exposed metal wire cores and percentage of total length of exposed metal wire cores with nozzle pressure"

喷嘴气压/
MPa
露芯点数量/(个·m-1) 露芯段长度百分比/%
成纱在
线观测
纱线显
微照片
成纱在
线观测
纱线显
微照片
0.50 87 62 24.87 11.27
0.55 79 60 24.55 10.68
0.60 94 66 27.60 13.67

Tab.3

Variation of number of exposed metal wire cores and percentage of total length of exposed metal wire cores with yarn delivery speed"

纺纱速度/
(m·min-1)
露芯点数量/(个·m-1) 露芯段长度百分比/%
成纱在
线观测
纱线显
微照片
成纱在
线观测
纱线显
微照片
100 79 60 24.55 10.70
130 85 62 25.70 11.30
160 88 58 22.90 9.62

Fig.7

Variation of feature in images of online monitoring and microscopic images. (a) Variation of number of exposed metal wire cores between online monitoring and microscopic images;(b) Variation of percentage of total length of exposed metal wire cores between the online monitoring and microscopic images"

[1] RAMACHANDRAN T, VIGNESWARAN C. Design and development of copper core conductive fabrics for smart textiles[J]. Journal of Industrial Textiles, 2009,39(1):81-93.
[2] 裴泽光, 张岩, 陈革. 一种可生产金属丝包芯纱的喷气涡流纺纱方法及装置: 107503004 A [P]. 2017-07-25.
PEI Zeguang, ZHANG Yan, CHEN Ge. Vortex spinning method and apparatus for producing core-spun yarn containing a metal wire:201710614912.1[P]. 2017-07-25. Vortex spinning method and apparatus for producing core-spun yarn containing a metal wire:201710614912.1[P]. 2017-07-25.
[3] 张岩, 裴泽光, 陈革. 喷气涡流纺金属丝包芯纱的制备及其结构与性能[J]. 纺织学报, 2018,39(5):25-31.
ZHANG Yan, PEI Zeguang, CHEN Ge. Fabrication, structure and properties of vortex core-spun yarn containing metal wire[J]. Journal of Textile Research, 2018,39(5):25-31.
[4] PEI Z, LIU C, CHEN G, et al. Experimental study on the fiber motion in the nozzle of vortex spinning via high-speed photography[J]. Journal of Natural Fibers, 2012,9(2):117-135.
[5] PEI Z, YU C. Numerical study on the effect of nozzle pressure and yarn delivery speed on the fiber motion in the nozzle of Murata vortex spinning[J]. Journal of Fluids and Structures, 2011,27(1):121-133.
[6] 裴泽光. 喷气涡流纺纤维与气流耦合作用特性及应用研究[D]. 上海: 东华大学, 2011: 38-78.
PEI Zeguang. Study on the characteristics and application of the fiber-airflow interaction in vortex spinning[D]. Shanghai: Donghua University, 2011: 38-78.
[7] 韩晨晨, 程隆棣, 高卫东, 等. 基于有限元模型的喷气涡流纺纤维运动轨迹模拟[J]. 纺织学报, 2018,39(2):32-37.
HAN Chenchen, CHENG Longdi, GAO Weidong, et al. Simulation of fiber trajectory in jet vortex spinning based on finite element model[J]. Journal of Textile Research, 2018,39(2):32-37.
[8] 裴泽光, 何建, 张岩. 喷气涡流纺纱喷嘴内纤维运动状态实时观测装置及方法:201810127312.7[P]. 2018-02-08.
PEI Zeguang, HE Jian, ZHANG Yan. Method and apparatus for the online monitoring of dynamics of fibers in the nozzle of a vortex spinning machine: 201810127312.7[P]. 2018-02-08.
[9] 迟开龙, 潘如如, 刘基宏. 基于数字图像处理的纱线条干均匀度检测初探[J]. 纺织学报, 2012,33(12):19-24
CHI Kailong, PAN Ruru, LIU Jihong. Primary discussion on detection of yarn evenness based on digital image processing[J]. Journal of Textile Research, 2012,33(12):19-24.
[10] 牟新刚, 蔡逸超, 周晓. 基于机器视觉的筒子纱缺陷在线检测系统[J]. 纺织学报, 2018,39(1):139-145.
MOU Xingang, CAI Yichao, ZHOU Xiao. On-line yarn cone defects detection system based on machine vision[J]. Journal of Textile Research, 2018,39(1):139-145.
[11] KIM H J, KIM J S, LIM J H, et al. Detection of wrapping defects by a machine vision and its application to evaluate the wrapping quality of the ring core spun yarn[J]. Textile Research Journal, 2009,79(17):1616-1624.
[1] GUO Zhen, LI Xinrong, BU Zhaoning, YUAN Longchao. Three-dimensional numerical simulation of fiber movement in nozzle of murata vortex spinning [J]. Journal of Textile Research, 2019, 40(05): 131-135.
[2] SHANG Shanshan, YU Chongwen, YANG Jianping, QIAN Xixi. Numerical simulation of airflow field in vortex spinning process [J]. Journal of Textile Research, 2019, 40(03): 160-167.
[3] LIN Yanyan, ZOU Zhuanyong, CHEN Yuxiang, YANG Yanqiu. Thermal adhesion enhancement process of air jet vortex spun yarn [J]. Journal of Textile Research, 2019, 40(02): 58-62.
[4] . Prediction model on tensile strength of air jet vortex spinning yarn and its verification [J]. Journal of Textile Research, 2018, 39(10): 32-37.
[5] . Numerical simulation for twisting chamber of air jet vortex spinning based on hollow spindle with spiral guiding grooves [J]. Journal of Textile Research, 2018, 39(09): 139-145.
[6] . Preparation of elastic radiation resistant textile based on double filament core-spun yarn [J]. JOURNAL OF TEXTILE RESEARCH, 2018, 39(06): 52-57.
[7] . Fabrication, structure and properties of vortex core-spun yarn containing a metal wire [J]. JOURNAL OF TEXTILE RESEARCH, 2018, 39(05): 25-31.
[8] . Mechanism of swirl nozzle on yarns with different linear densites [J]. JOURNAL OF TEXTILE RESEARCH, 2018, 39(03): 38-44.
[9] . Simulation of fiber trajectory in jet vortex spinning based on finite element model [J]. JOURNAL OF TEXTILE RESEARCH, 2018, 39(02): 32-37.
[10] . Research progress in influence of vortex spinning nozzle on flow field [J]. JOURNAL OF TEXTILE RESEARCH, 2018, 39(01): 169-178.
[11] . influence of hollow spindler structure parameters on flow field of air jet vortex spinning [J]. JOURNAL OF TEXTILE RESEARCH, 2017, 38(12): 135-140.
[12] . Preparation and stab-resistance performance of aramid/ stainless steel fiber core-spun fabrics [J]. JOURNAL OF TEXTILE RESEARCH, 2017, 38(06): 33-39.
[13] . Testing elasticity of spandex and bi-component filament/cotton core-spun yarn [J]. JOURNAL OF TEXTILE RESEARCH, 2017, 38(05): 31-36.
[14] . Processing Optimization of Complete condensed Spinning and Siro-Spinning Core-spun Yarn [J]. Journal of Textile Research, 2015, 36(07): 28-35.
[15] . Influence of dyed cotton/polyamide/wool core-spun yarn properties on flat knitting shaped shoe-upper knittability [J]. Journal of Textile Research, 2015, 36(07): 36-42.
Viewed
Full text


Abstract

Cited

  Shared   
  Discussed   
No Suggested Reading articles found!