Journal of Textile Research ›› 2020, Vol. 41 ›› Issue (06): 61-68.doi: 10.13475/j.fzxb.20190702408

• Textile Engineering • Previous Articles     Next Articles

Elastic parameters calculation of liners of self-lubricating spherical plain bearings

WANG Jiugen1(), GUO Hao1, HONG Yufang1, CHEN Fanghua2   

  1. 1. Faculty of Mechanical Engineering, Zhejiang University, Hangzhou, Zhejiang 310027, China
    2. Zhejiang Testing & Inspection Institute for Mechanical and Electrical Products Quality,Hangzhou, Zhejiang 310051, China;
  • Received:2019-07-04 Revised:2019-12-04 Online:2020-06-15 Published:2020-06-28

Abstract:

In order to accurately predict mechanical parameters of self-lubricating spherical plain bearings, the representative volume element mesoscopic geometric model had been modified considering compaction of liner preform. Elastic performance analysis model combined with bridging model had been established. The elastic properties of plain, twill and satin liners were calculated with the analytical method. Compared with experimental data carried by other researchers, the maximum relative errors between theoretical and experimental values are 4.76%, 5.47% and 4.39% respectively. For the bridging parameters used to calculate the elastic constants of different fiber bundles, if the ratio of the elastic modulus of the fibers and the matrix in the axial direction of the fiber bundle is large, using α smaller than β could obtain more accurate results. Values of α and β can be determined by simple tensile and shear tests of the fiber bundles if experimental conditions are adequate.

Key words: fabric liner, elastic parameter, mesoscopic model, bridging model, numerical calculation, self-lubricating spherical plain bearings

CLC Number: 

  • TB3322

Fig.1

Microcosmic structures of plain(a), twill (b) and satin (c) fabric liners"

Fig.2

Lenticular cross-sectional shape of yarn"

Fig.3

Structure of plain fabric liner before(a) and after(b) compaction preform"

Fig.4

Cross-sectional shape and size of yarn"

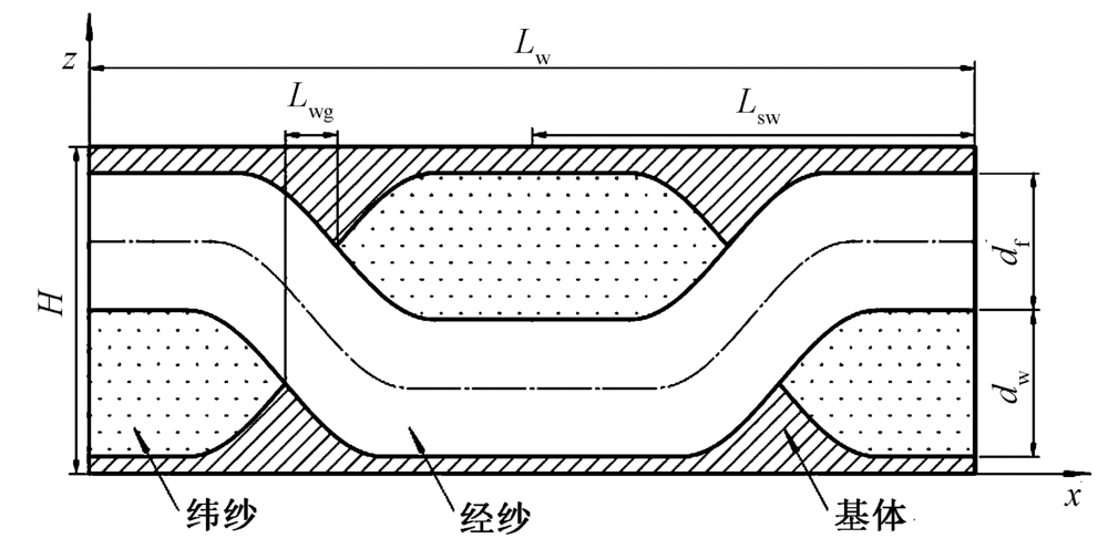
Fig.5

A-A cross section of RVE of plain fabric liner"

Fig.6

Flow chart of compliance matrices of liners"

Fig.7

Curve part of fiber yarn"

Tab.1

Elastic parameters of materials of plain and satin fabric linersGPa"

弹性常数 PTFE 芳纶 酚醛树脂
E11 0.75 6.70 2.88
E22 0.75 6.70 2.88
G12 0.28 2.69 1.01
G23 0.28 2.69 1.01
u12 0.30 0.23 0.42

Tab.2

Comparison between computational and experimental results of plain fabric liner"

弹性参数 计算值/GPa 实验值/GPa 相对误差/%
E11 1.97 1.98 0.51
E22 1.97 1.98 0.51
G12 0.66 0.63 4.76

Tab.3

Geometric parameters of yarn of twill fabric liner"

类型 宽度/mm 厚度/mm 间隙/mm 纱线填充系数 RVE厚度/mm
PTFE 2.120 0.250 0.029 3 0.700 0.405
芳纶 2.120 0.150

Tab.4

Elastic properties of materials of twill fabric linerGPa"

类型 E11 E22 G12 G23 u12
PTFE 3.20 3.20 1.23 1.23 0.35
芳纶 133.00 133.00 49.20 49.20 0.35
酚醛树脂 2.88 2.88 1.01 1.01 0.42

Tab.5

Comparison between computational and experimental results of twill fabric liner"

弹性参数 计算值/GPa 实验值/GPa 相对误差/%
E11 29.13 29.90 2.58
E22 8.98 9.50 5.47

Tab.6

Comparison between computational and experimental results of satin fabric liner"

弹性参数 计算值/GPa 实验值/GPa 相对误差/%
E11 3.09 2.96 4.39
E22 3.23 3.23 <0.01
G12 1.11 1.09 1.83
[1] KIM Byung Chul, LEE Dai Gil. Endurance and performance of a composite spherical bearing[J]. Composite Structures, 2008,87(1):71-79.
[2] GERMANEAU A, PEYRUSEIGT F, MISTOU S, et al. 3D mechanical analysis of aeronautical plain bearings: validation of a finite element model from measurement of displacement fields by digital volume correlation and optical scanning tomography[J]. Optics and Lasers in Engineering, 2010,48(6):676-683.
[3] 杨育林, 祖大磊, 黄世军. 自润滑关节轴承现状及发展[J]. 轴承, 2009(1):58-61.
YANG Yulin, ZU Dalei, HUANG Shijun. Status and development of self-lubricating spherical plain bearings[J]. Bearing, 2009(1):58-61.
[4] 杨育林, 谷大鹏, 齐效文, 等. 织物自润滑衬垫的研究现状与展望[J]. 轴承, 2010(11):50-54.
YANG Yulin, GU Dapeng, QI Xiaowen, et al. Research status and prospect of fabric self-lubricating liner[J]. Bearing, 2010(11):50-54.
[5] HUANG Z M. Fatigue life prediction of a woven fabric composite subjected to biaxial cyclic loads[J]. Composites Part A (Applied Science and Manufacturing), 2002,33(2):253-266.
[6] 左中鹅, 王瑞, 徐磊. 基于有限单元法的平纹织物复合材料强度预测: 1. RVE的有限元模型[J]. 纺织学报, 2009,30(12):45-49.
ZUO Zhong'e, WANG Rui, XU Lei. Mechanical strength prediction of plain woven fabric composite: 1. finite element model of composite RVE[J]. Journal of Textile Research, 2009,30(12):45-49.
[7] 刘召磊, 沈雪瑾. 自润滑关节轴承斜纹织物衬垫弹性性能的分析模型[J]. 机械工程材料, 2011,35(5):96-100.
LIU Zhaolei, SHEN Xuejin. Analysis model of the elastic properties of twill woven fabric liner of spherical plain bearing with self-lubricating[J]. Mechanical Engineering Materials, 2011,35(5):96-100.
[8] 王东宁, 李嘉禄, 焦亚男. 平纹织物三维细观几何模型和织物防弹实验的有限元模拟[J]. 材料工程, 2013(9):69-74,78.
WANG Dongning, LI Jialu, JIAO Yanan. 3D meso-geometrical model of plain weave fabric and finite element modeling under ballistic impact[J]. Journal of Materials Engineering, 2013(9):69-74,78.
[9] 陈继刚, 薛亚红, 邱红亮. 芳纶/聚四氟乙烯纤维织物衬垫力学建模与性能计算[J]. 纺织学报, 2015,36(1):82-87.
CHEN Jigang, XUE Yahong, QIU Hongliang. Mechanics modeling and performance calculation of aramid/polytetrafluoroethene fabric liner[J]. Journal of Textile Research, 2015,36(1):82-87.
[10] LU J, QIU M, LI Y. Wear models and mechanical analysis of PTFE/Kevlar fabric woven liners used in radial spherical plain bearings[J]. Wear, 2016,364/365:57-72.
[11] TAN P, TONG L, STEVEN G P. Modelling for predicting the mechanical properties of textile composites: a review[J]. Composites Part A: Applied Science and Manufacturing, 1997,28(11):903-922.
[12] HUANG Z. Strength of fibrous composites[M]. Hangzhou: Zhejiang University Press, 2011: 1-32.
[13] 张春春, 王艳超, 黄争鸣. 横观各向同性基体复合材料的等效弹性常数[J]. 应用数学和力学, 2018,39(7):750-765.
ZHANG Chunchun, WANG Yanchao, HUANG Zhengming. Effective elastic properties of transversely isotropic matrix based composites[J]. Applied Mathematics and Mechanics, 2018,39(7):750-765.
[14] LEE S K, BYUN J H, HONG S H. Effect of fiber geometry on the elastic constants of the plain woven fabric reinforced aluminum matrix composites[J]. Materials Science & Engineering A, 2003,347(1/2):346-358.
[15] CHEN Z R, YE L, KRUCKENBERG T. A micromechanical compaction model for woven fabric preforms: part I: single layer[J]. Composites Science and Technology, 2006,66(16):3254-3262.
[16] KHAN K A, UMER R. Modeling the viscoelastic compaction response of 3D woven fabrics for liquid composite molding processes[J]. Journal of Reinforced Plastics and Composites, 2017,36(18):1299-1315.
[17] WEI K, WANG Y, YANG X. Viscoelastic modeling of responses in the whole compaction process for woven fiber reinforcements[J]. International Journal of Applied Mechanics, 2018,10(2):1-18.
[18] SKF. AMPEP high performance plain bearings [DB/OL]. https://www.skf.com/binary/tcm:12-99107/0901d1968020a6fc-13089EN-_tcm_12-99107.pdf, 2012-09.
[19] TONG L, MOURITZ A P, BANNISTER M K. 3D fibre reinforced polymer composites[M]. Amsterdam:Elsevier Science, 2002: 219-236.
[20] 黄争鸣. 复合材料细观力学引论[M]. 北京: 科学出版社, 2004: 1-21.
HUANG Zhengming. An introduction to mesomechanics of composite material[M]. Beijing: Science Press, 2004: 1-21.
[21] SHEN X, GAO P, LIU Z, et al. Elastic properties of the fabric liner and their influence on the wear depth of the spherical plain bearing[J]. Journal of Nanomaterials, 2014(1):1-7.
[1] . Analysis on airflow drag characteristics of yarn with yarn faults [J]. JOURNAL OF TEXTILE RESEARCH, 2017, 38(11): 131-136.
[2] . Bending fatigue theory of textile fibers and its application  [J]. JOURNAL OF TEXTILE RESEARCH, 2013, 34(5): 152-0.
Viewed
Full text


Abstract

Cited

  Shared   
  Discussed   
No Suggested Reading articles found!