Journal of Textile Research ›› 2020, Vol. 41 ›› Issue (09): 136-142.doi: 10.13475/j.fzxb.20191201607

• Machinery & Accessories • Previous Articles     Next Articles

Study on magnetic field distribution in permanent magnetic needle drive using hybrid magnetic suspension needle

LI Dongdong1, ZHANG Chengjun1,2(), ZUO Xiaoyan1,2, ZHANG Chi1,2, LI Hongjun1, ZHOU Xiangyang1   

  1. 1. School of Mechanical Engineering & Automation, Wuhan Textile University, Wuhan, Hubei 430073, China
    2. Hubei Digital Textile Equipment Key Laboratory, Wuhan Textile University, Wuhan, Hubei 430073, China
  • Received:2019-12-05 Revised:2020-03-01 Online:2020-09-15 Published:2020-09-25
  • Contact: ZHANG Chengjun E-mail:zchengj_wuse@163.com

Abstract:

In order to study the spatial magnetic field distribution with mixed magnetic suspension for driving flat-bed knitting needles, two permanent magnet needles in cylindrical and rectangular shapes were constructed. According to the ampere loop theorem that permanent magnets are equivalent to vertical coil current loop structure, knitting needle was deduced based on the vertical movement to the space location of the magnetic induction intensity. On the basis of the above, finite element electromagnetic simulation was carried out to simulate the model of permanent magnet knitting needles, and an experimental measuring platform for the spatial magnetic field strength of knitting needles was built for numerical measurement. Through the comparison of model, simulation and experimental measurement results, it is shown that in cylindrical permanent magnetic knitting needles, the larger the thickness-diameter ratio is, the greater the magnetic induction intensity becomes. In rectangular permanent magnetic knitting needles, the magnetic induction intensity with constant thickness decreases as the aspect ratio increases.

Key words: suspension needle, superimposed magnetic field, permanent magnetic needle, knitting equivalent model, flat-bed knitting machine

CLC Number: 

  • TP311

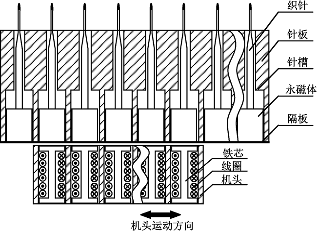
Fig.1

Diagram of magnetic driving structure for knitting needles"

Fig.2

Geometric model (a) and equivalent circulation model (b) of permanent magnet"

Fig.3

Equivalent model of magnetic induction of point in space"

Fig.4

Demagnetization curve of neodymium magnet"

Fig.5

Cuboid permanent magnet equivalent model. (a) Ampere stack model;(b) Ideal magnetic field distribution model"

Tab.1

Structural parameters of two ermanent magnets"

形状 材料 直径/mm 长度/mm 宽度/mm 高度/mm
圆柱体 铷铁硼
(Nd35)
[4,6,8,10] [2,3,4,5]
长方体 铷铁硼(Nd35) [10,20,30,40] 10 [2,3,4,5]

Fig.6

Magnetic induction simulation results. (a) Cylindrical permanent magnets with different aspect ratios; (b) Cuboidal permanent magnets with different aspect ratios"

Fig.7

Three-dimensional cloud image of magnetic induction intensity change. (a) Cylindrical; (b) Cuboidal"

Fig.8

Magnetic induction numerical results. (a) Cylindrical permanent magnets with different aspect ratios; (b) Cuboidal permanent magnets with different aspect ratios"

Fig.9

Magnetic induction test results. (a) Cylindrical; (b) Cuboidal"

Fig.10

Error value distribution. (a) Cylindrical permanent magnet needle;(b) Rectangular permanent magnet needle"

[1] 张成俊, 游良风, 左小艳, 等. 电脑横机织针的磁驱动设计与建模[J]. 纺织学报, 2019, 40(9):180-185.
ZHANG Chengjun, YOU Liangfeng, ZUO Xiaoyan, et al. Research and simulation of electromagnetic array needle drive structure[J]. Journal of Textile Rescarch, 2019, 40(9):180-185.
[2] 李争, 史雁鹏, 王蓄永, 等. 基于等效磁势法的直线电动机磁场及推力分析[J]. 微特电动机, 2019, 47(2):8-11, 17.
LI Zheng, SHI Yanpeng, WANG Xuyong, et al. Analysis of magnetic field and thrust of linear motor based on equivalent magnetic potential method[J]. Micro Motor, 2019, 47(2):8-11, 17.
[3] 关炎培, 胡业发, 吴帆, 等. 真空管道磁悬浮列车混合悬浮支承设计与研究[J]. 现代制造工程, 2018(10):88-93.
GUAN Yanpei, HU Yefa, WU Fan, et al. Design and research of hybrid suspension support for vacuum tube maglev train[J]. Modern Manufacturing Engineering, 2018(10):88-93.
[4] 张正元, 周伟, 封卫忠, 等. 大气隙混合磁悬浮轴承磁场仿真与实验[J]. 现代机械, 2017,(6):58-62.
ZHANG Zhengyuan, ZHOU Wei, FENG Weizhong, et al. Magnetic field simulation and experiment of air gap hybrid magnetic suspension bearing[J]. Modern Machinery, 2017(6):58-62.
[5] 张卓然, 严仰光, 苏凯程, 等. 切向磁钢混合励磁同步电动机空载磁路计算及三维场分析[J]. 中国电动机工程学报, 2008(30):84-89.
ZHANG Zhuoran, YAN Yangguang, SU Kaicheng, et al. Calculation of no-load magnetic circuit and three-dimensional field analysis of tangential magnetic steel hybrid excitation synchronous motor[J]. Proceedings of the Chinese Society for Electical Engineering, 2008(30):84-89.
[6] 刘静, 曾励, 杨军, 等. 磁悬浮球体磁阻电动机的三维磁场分析[J]. 扬州大学学报(自然科学版), 2011, 14(1):52-55.
LIU Jing, ZENG Li, YANG Jun, et al. Three-dimensional magnetic field analysis of magnetic levitation spherical reluctance motor[J]. Journal of Yangzhou University(Natural Science Edition), 2011, 14(1):52-55.
[7] 吴晓光, 张弛, 朱里, 等. 磁悬浮式驱动织针的关键技术与试验模型[J]. 纺织学报, 2014, 35(10):129-135.
WU Xiaoguang, ZHANG Chi, ZHU Li, et al. Key technologies and experimental models of magnetic suspension driven needles[J]. Journal of Textile Research, 2014, 35(10):129-135.
doi: 10.1177/004051756503500206
[8] MUZHITSKII V F, KUDRYAVTSEV D A. Some problems in determining the optimum sizes of magnetizing systems based on permanent magnets[J]. Russian Journal of Nondestructive Testing, 2004, 40(2):124-129.
doi: 10.1023/B:RUNT.0000036556.56609.36
[9] HUANG D J, YAO L G, LI W J, et al. Geometric modeling and torque analysis of the magnetic nutation gear drive[J]. Forschung im Ingenieurwesen, 2017, 81(2/3):101-108.
doi: 10.1007/s10010-017-0246-9
[10] 王海峰, 徐建源. 永磁操动机构磁场数值计算和结构分析[J]. 高压电器, 2002(1):11-13, 17.
WANG Haifeng, XU Jianyuan. Numerical calculation and structural analysis of magnetic field of permanent magnet operating mechanism[J]. High Voltage Apparatus, 2002(1):11-13, 17.
[11] SALONS J, PENG J P. A hybrid finite element-boundary element formulation of Poisson's equation for axisymmetric vector potential problems[J]. Applied Physics, 1982, 53(11):8420-8422.
[12] 苟晓凡, 杨勇, 郑晓静. 矩形永磁体磁场分布的解析表达式[J]. 应用数学和力学, 2004(3):271-278.
YAN Xiaofan, YANG Yong, ZHENG Xiaojing. Analytical expression of magnetic field distribution of rectangular permanent magnets[J]. Applied Mathematics and Mechanics, 2004(3):271-278.
[1] LIU Bo, CONG Honglian. Research and implementation of flat-bed knitting process model of fully formed suit [J]. Journal of Textile Research, 2020, 41(07): 53-58.
[2] ZHANG Chengjun, YOU Liangfeng, ZUO Xiaoyan, ZHANG Chi, ZHU Li. Magnetic driving design and modeling for knitting needles of computerized flat knitting machine [J]. Journal of Textile Research, 2019, 40(09): 180-185.
[3] . Motion control and experiment analysis of high speed axial suspension knitting needle in zero transmission [J]. Journal of Textile Research, 2016, 37(4): 137-142.
Viewed
Full text


Abstract

Cited

  Shared   
  Discussed   
No Suggested Reading articles found!