Journal of Textile Research ›› 2019, Vol. 40 ›› Issue (09): 180-185.doi: 10.13475/j.fzxb.20180904106

• Machinery & Accessories • Previous Articles     Next Articles

Magnetic driving design and modeling for knitting needles of computerized flat knitting machine

ZHANG Chengjun1,2(), YOU Liangfeng1, ZUO Xiaoyan1,2, ZHANG Chi1,2, ZHU Li1,2   

  1. 1. School of Mechanical Engineering and Automation, Wuhan Textile University, Wuhan, Hubei 430073, China
    2. Hubei Key Laboratory of Digital Textile Equipment, Wuhan, Hubei 430073, China
  • Received:2018-09-17 Revised:2019-06-04 Online:2019-09-15 Published:2019-09-23

Abstract:

In order to reduce heat, vibration and needle breakage during knitting process of computerized flat knitting machine, a non-contact needles driving method that permanent magnet knitting needles were driven by electromagnet array was proposed. At the same time, a new type of magnetic drive flat knitting machine structure with separate needle and drive was designed. By equivalent the elements of iron core, permanent magnet and air gap in the electromagnet array to magnetoresistance and magnetic potential, the equivalent magnetic circuit model of permanent magnet knitting needle driven by electromagnetic array was established. Then, by analyzing the flux of the equivalent magnetic circuit model of the electromagnet array moving horizontally to and fro, the magnetic force model of the permanent magnet knitting needle under different displacements of the electromagnet array was deduced. Thus, the force values of knitting needles under different conditions can be calculated. Maxwell electromagnetic simulation software was adopted to simulate the magnetic drive model, the data of the equivalent magnetic circuit model and the simulation model were compared and analyzed, and the validity of the equivalent magnetic circuit model was verified.

Key words: flat knitting machine, permanent magnetic needle, electromagnetic driving, magnetic equivalent circuit method, Maxwell simulation

CLC Number: 

  • TP311

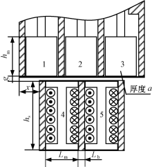
Fig.1

Diagram of magnetic driving structure for knitting needles"

Fig.2

Diagram of magnetic driving action for knitting needles. (a) No.1 needle rises to tuck position;(b) No.1 needle rises to stitch transfer position; (c) No.1 needle returns to float position"

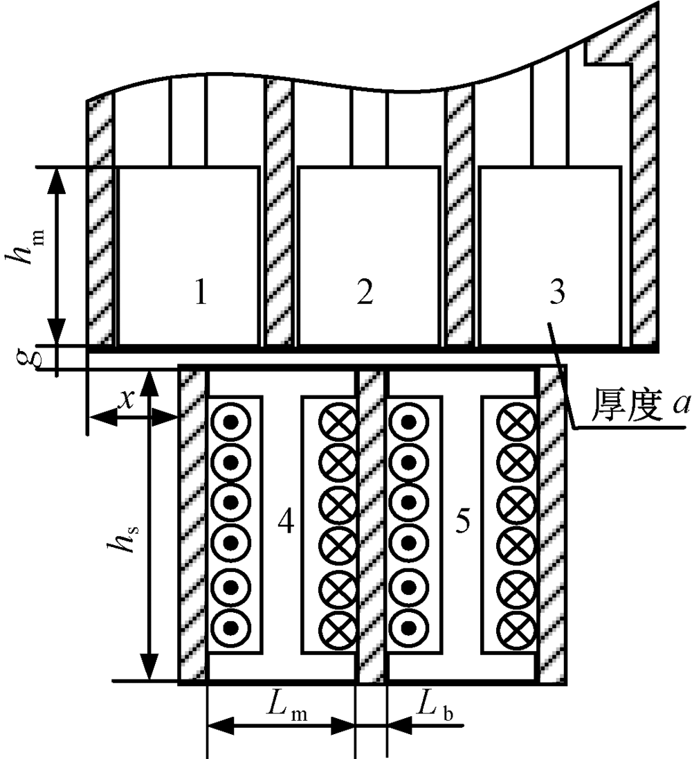
Fig.3

Dimension of magnetic driving structure for knitting needles"

Fig.4

Magnetic circuit analysis model. (a) Alignment of permanent magnet knitting needles with electromagnet; (b) Relative displacement between permanent magnet knitting needles and electromagnet"

Fig.5

Small displacement magnetic equivalent circuit model"

Fig.6

Large displacement magnetic equivalent circuit model"

Fig.7

Force diagram of permanent magnet knitting needle"

Fig.8

Dimension parameter of magnetic driving model"

Fig.9

Maxwell 3D magnetic array model"

Fig.10

Data comparison between magnetic circuit model data and Maxwell simulation"

[1] 方园, 夏凡甜. 基于UG NX/Motion的电脑横机成圈机构建模与仿真[J]. 纺织学报, 2013,34(1):122-127.
FANG Yuan, XIA Fantian. Modeling and simulation of loop forming mechanism of computerized flat knitting machine based on UG NX/Motion[J]. Journal of Textile Research, 2013,34(1):122-127.
[2] ZHAO Cang, LI Songguang, XU Lei. Optimal design of computerized flat knitting machine cam curves based on ug and ansys/Ls-Dyna[J]. Applied Mechanics and Materials, 2014,529:410-414.
doi: 10.4028/www.scientific.net/AMM.529
[3] CHEN Yichen, CHENG Kaiying, PENG Jianhao. Downward pressing mesh mechanism and sinker thereof for flat knitting machines: US 20130067964[P]. 2013-05-21.
[4] 方园, 刘建邦, 王国庆, 等. 双路进线电脑袜机成圈机构的建模研究与运动仿真[J]. 纺织学报, 2015,36(5):115-122.
FANG Yuan, LIU Jianbang, WANG Guoqing, et al. Modeling and motion simulation of dual line computerized hosiery machine's knitting element[J]. Journal of Textile Research, 2015,36(5):115-122.
[5] MOWBRAY J. Litespeed equals high speed: modern high speed circular knitting machines often face speed limitations due to temperature problems[J]. Knitting Interantional, 2006,113(1343):41.
[6] 龙海如. 纬编针织机械发展动态[J]. 纺织导报, 2010(9):50-52,54.
LONG Hairu. Developing trend of weft knitting machine[J]. China Textile Leader, 2010(9):50-52,54.
[7] 何晓凤, 邬清海. 磁悬浮轴承磁路结构分析与数学模型建立方法[J]. 轴承, 2011(12):54-58.
HE Xiaofeng, WU Qinghai. Structural analysis on magnetic circuit and modeling for magnetic bearings[J]. Bearing, 2011(12):54-58.
[8] ZHONG Yunlong, WU Lijian, HUANG Xiaoyan, et al. An improved magnetic circuit model of a 3-D of magnetic bearing considering leakage and cross coupling effects[J]. IEEE Transactions on Magnetics, 2017, ( 99):1-1.
[9] 黄允凯, 周涛. 基于等效磁路法的轴向永磁电机效率优化设计[J]. 电工技术学报, 2015,30(2):73-79.
HUANG Yunkai, ZHOU Tao. Efficiency optimization design of axial flux permanent magnet machines using magnetic equivalent circuit[J]. Transactions of China Electro Technical Society, 2015,30(2):73-79.
[10] JAWAD F, SEYED M M, MOHSEN B A, et al. Magnetic equivalent circuit modelling of doubly-fed induction generator with assessment of rotor inter-turn short-circuit fault indices[J]. Iet Renewable Power Generation, 2017,10(9):1431-1440.
doi: 10.1049/iet-rpg.2016.0189
[11] 谢洁飞, 李新华, 杨波. 基于等效磁路法的新型双动子直线振荡电动机设计[J]. 微电机, 2011,44(6):26-30.
XIE Jiefei, LI Xinhua, YANG Bo. Design of a new-type linear oscillatory motor with two divided moving body based on equivalent magnetic circuit method[J]. Micromotors, 2011,44(6):26-30.
[1] LI Dongdong, ZHANG Chengjun, ZUO Xiaoyan, ZHANG Chi, LI Hongjun, ZHOU Xiangyang. Study on magnetic field distribution in permanent magnetic needle drive using hybrid magnetic suspension needle [J]. Journal of Textile Research, 2020, 41(09): 136-142.
[2] LIU Bo, CONG Honglian. Process design and knitting principle of one-piece casual suits based on four-needle-bed flat knitting machine [J]. Journal of Textile Research, 2020, 41(04): 129-134.
[3] WANG Pan, WU Zhiming. Transverse knitting method and forming process of fully formed sweater [J]. Journal of Textile Research, 2019, 40(10): 73-78.
[4] . Principle and application of partial knitting on fully formed sweater [J]. Journal of Textile Research, 2019, 40(05): 41-46.
[5] . Forming process of shoulder and sleeves of whole garment [J]. JOURNAL OF TEXTILE RESEARCH, 2018, 39(03): 56-60.
[6] . Structure and knitting principle of whole garment [J]. JOURNAL OF TEXTILE RESEARCH, 2017, 38(11): 48-55.
[7] . Establishment of electromagnetic driving magnetic levitation projectile weft insertion principles [J]. JOURNAL OF TEXTILE RESEARCH, 2017, 38(09): 142-148.
[8] . Whole garment knitting process on four-bed computerized flat knitting machine [J]. JOURNAL OF TEXTILE RESEARCH, 2017, 38(04): 61-67.
[9] . CAN Bus scheduling simulation for computerized flat knitting machine based on network control [J]. JOURNAL OF TEXTILE RESEARCH, 2016, 37(08): 154-159.
[10] . Design and realization of yarn carriers control method for high performance computerized flat knitting machine [J]. JOURNAL OF TEXTILE RESEARCH, 2013, 34(10): 137-0.
[11] .   Modeling and simulation of loop forming mechanism of computerized flat knitting machine based on UG NX/Motion [J]. JOURNAL OF TEXTILE RESEARCH, 2013, 34(1): 122-127.
[12] ZHANG Chi, ZHANG Cheng-Jun, WU Xiao-Guang. Control system data preparation of computerize flat knitting machine [J]. JOURNAL OF TEXTILE RESEARCH, 2012, 33(8): 124-129.
[13] ZHANG Hua, HU Xu-Dong, PENG Lai-Hu, ZHANG Jian-Yi. Q15-based flat knitting machine’s needle pwsiton tracking algorithm [J]. JOURNAL OF TEXTILE RESEARCH, 2012, 33(6): 88-91.
[14] CHEN Jingbo;LU Da;WANG Lingling. Design of host computer software for automatic computerized flat knitting machine [J]. JOURNAL OF TEXTILE RESEARCH, 2011, 32(2): 131-135.
[15] WANG Jiman;SONG Guangli. Knitting time forecasting of computerized flat knitting machine [J]. JOURNAL OF TEXTILE RESEARCH, 2010, 31(5): 48-54.
Viewed
Full text


Abstract

Cited

  Shared   
  Discussed   
No Suggested Reading articles found!