Journal of Textile Research ›› 2021, Vol. 42 ›› Issue (01): 190-196.doi: 10.13475/j.fzxb.20200405507

• Comprehensive Review • Previous Articles    

Research progress of automatic grabbing and transfer methods for garment fabrics

LIU Hanbang1,2, LI Xinrong1,2(), LIU Lidong1,2   

  1. 1. School of Mechanical Engineering, Tiangong University, Tianjin 300387, China
    2. Key Laboratory of Modern Mechanical and Electrical Equipment Technology, Tianjin 300387, China
  • Received:2020-04-20 Revised:2020-07-29 Online:2021-01-15 Published:2021-01-21
  • Contact: LI Xinrong E-mail:lixinrong7507@hotmail.com

Abstract:

In order to promote the integrated development of textile and garment equipment automation and fabric automatic grabbing methods, to solve the problems of excessive labor costs, low production efficiency and customized clothing development, the current research status of the automatic grabbing and transfer methods of garment fabrics was scrutinized. This paper introduced the principles and characteristics of robotic gripping, negative pressure suction cup grabbing, electrostatic suction grabbing, non-contact suction cup grabbing and their impact on garment production. Advantages and disadvantages of the above four automatic grabbing and transfer methods in terms of manufacturing cost, energy consumption, working environment and positioning accuracy were compared. The literature review indicates that the non-contact suction cup has a broader application prospect than the other three, and points out the future development trend of the automatic grasping and transfer method of apparel fabrics, with the aim to upgrade the garment related industries for automation and customized production.

Key words: mechanical grip, electrostatic adsorption, vacuum adsorption, non-contact adsorption, fabric grabbing

CLC Number: 

  • TS112.2

Fig.1

Photo of multi-finger manipulator"

Fig.2

Principle of negative pressure adsorption"

Fig.3

Experimental diagram of negative pressure suction cups adsorbing leather (a) and non woven materials (b)"

Fig.4

Coanda ejector"

Fig.5

Coanda ejector sucking cloth experiment"

Fig.6

Schematic diagram of electrostatic adsorption"

Fig.7

Physical picture of electrostatic chuck adsorption fabric"

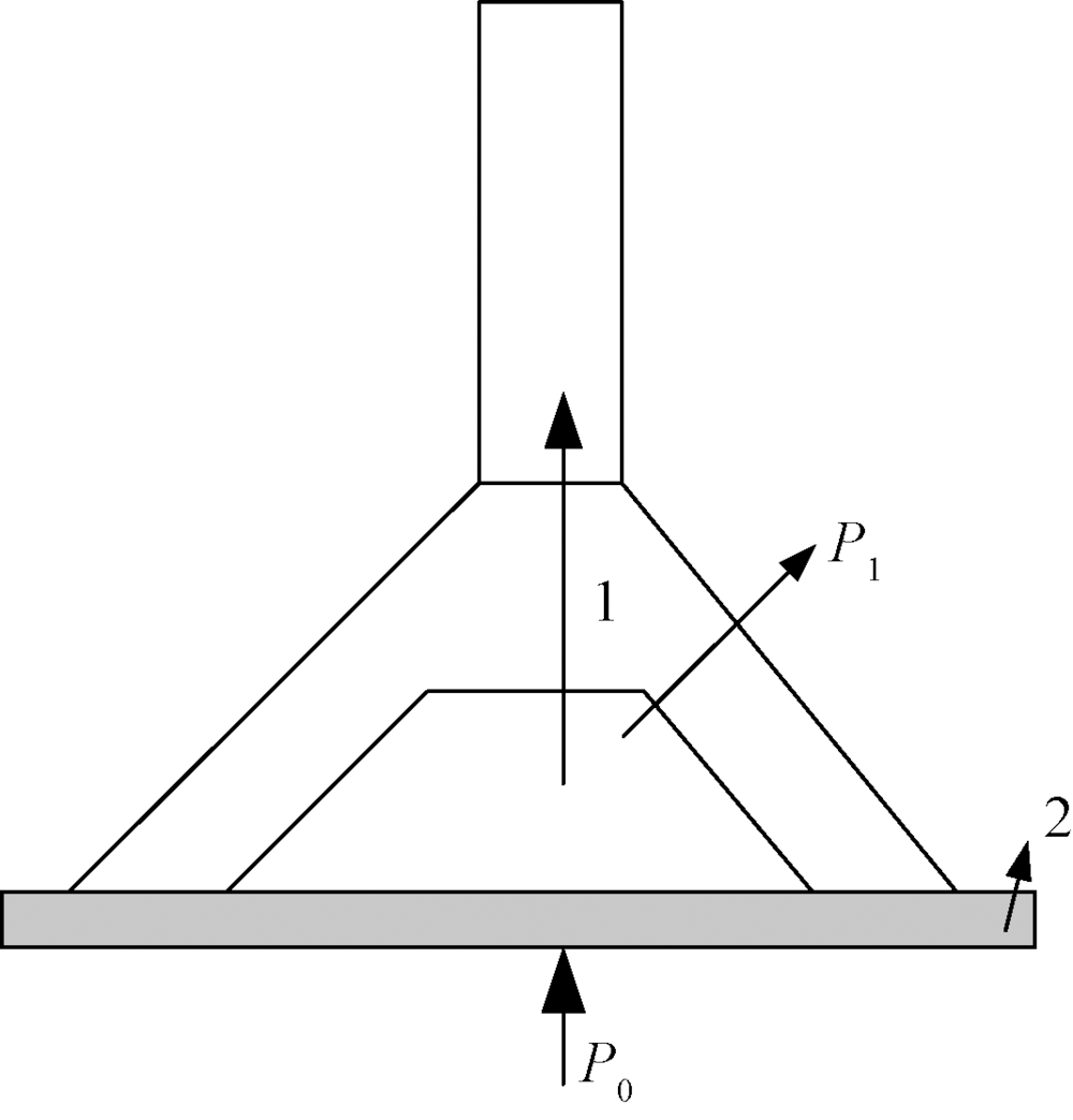
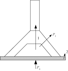
Fig.8

Schematic diagram of Bernoulli suspension method"

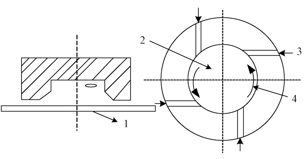
Fig.9

Schematic diagram of vortex suspension method"

Fig.10

Non-contact sucker physical picture"

Fig.11

Diagram of performance comparison of fabric grab transfer methods"

[1] KOUSTOUMPARDIS N. A 3-finger robotic gripper for grasping fabrics based on cams-followers mechan-ism [C]//SMYRNIS S, ASPRAGATHOS N A. Advances in Service and Industrial Robotics. Berlin: Springer Cham, 2017: 612-620.
[2] BIGANZOLI F, FANTONI G. A self-centering electrostatic microgripper[J]. Journal of Manufacturing Systems, 2008,27(3):136-144.
[3] SUN B. A new electrostatic gripper for flexible handling of fabrics in automated garment manufacturing [C]//ZHANG X Y. 2019 IEEE 15th International Conference on Automation Science and Engineering (CASE). Vancouver: IEEE Computer Society, 2019: 879-884.
[4] FANTONI G, SANTOCHI M, DINI G, et al. Grasping devices and methods in automated production proce-sses[J]. CIRP Annals-Manufacturing Technology, 2014,63(2):679-701.
[5] DAVIS S, GRAY J O, CALDWELL D G. An end effector based on the Bernoulli principle for handling sliced fruit and vegetables[J]. Robotics & Computer Integrated Manufacturing, 2008,24(2):249-257.
[6] 耿蕊. 一种简易型伯努利吸盘: 201810033484.8 [P]. 2018 -05-25.
GENG Rui. A simple Bernoulli sucker: 201810033484.8[P]. 2018 -05-25.
[7] FANTONI G. Method for supporting the selection of robot grippers [C]// CAPIFERRI S, TILLI J. 24th CIRP Design Conference 2014: Mass Customization and Personalization. Amsterdam: Elsevier Ltd, 2014: 330-335.
[8] FANTONI G, GABELLONI D, TILLI J. Concept design of new grippers using abstraction and analogy[J]. Proceedings of the Institution of Mechanical Engineers, 2013,227(10):1521-1532.
[9] 张楠, 何玉成, 王南. 操作机器人机械手爪的设计研究及应用[J]. 机械设计, 2013,30(3):17-20,61.
ZHANG Nan, HE Yucheng, WANG Nan. Design study and application of manipulating robot gripper[J]. Journal of Machine Design, 2013,30(3):17-20,61.
[10] 刘晓敏, 徐斌, 赵云伟, 等. 气动仿人柔性灵巧手工作空间分析与抓取实验[J]. 机床与液压, 2019,47(15):24-28.
LIU Xiaomin, XU Bin, ZHAO Yunwei, et al. Workspace analysis and grasp experiment of pneumatic humanoid flexible robot hand[J]. Machine Tool & Hydraulics, 2019,47(15):24-28.
[11] YUBA H, ARNOLD S, YAMAZAKI K. Unfolding of a rectangular cloth from unarranged starting shapes by a Dual-Armed robot with a mechanism for managing recognition error and uncertainty[J]. Advanced Robotics, 2017: 544-556.
[12] MORIYA Y, TANAKA D, YAMAZAKI K, et al. A method of picking up a folded fabric product by a single-armed robot[J]. Robomech Journal, 2018,5(1):1-12.
pmid: 19971328
[13] DEMURA S. Picking up one of the folded and stacked towels by a single arm robot [C]// SANO K, NAKAJIMA W, NAGAHAMA K, et al. 2018 IEEE International Conference on Robotics and Biomimetics (ROBIO). PA: IEEE, 2018: 1551-1556.
[14] NAGATA K. Picking up a towel by cooperation of functional finger actions [C]// YAMANOBE N. 2009 IEEE/RSJ International Conference on Intelligent Robots and Systems. Vancouver: IEEE Computer Society, 2009: 1785-1790.
[15] 刘培炎, 吴松, 付荣华, 等. 柔性机械手抓取能力影响因素的研究[J]. 机械制造, 2017,55(2):6-9,12.
LIU Peiyan, WU Song, FU Ronghua, et al. Research on influencing factors of grabbing capability of flexible manipulators[J]. Machinery Manufacturing, 2017,55(2):6-9,12.
[16] LEE J H, CHUNG Y S, RODRIGUE H. Long shape memory alloy tendon-based soft robotic actuators and implementation as a soft gripper[J]. Scientific Reports, 2019,9(1):1-12.
pmid: 30626917
[17] GLICK P, SURESH S A, RUFFATTO D, et al. A soft robotic gripper with gecko-inspired adhesive[J]. IEEE Robotics and Automation Letters, 2018,3(2):903-910.
[18] AUTUMN K, SITTI M, LIANG Y A, et al. Evidence for van der waals adhesion in gecko setae[J]. Proceedings of the National Academy of Sciences, 2002,99(19):12252-12256.
[19] 陈幸, 郭钟华, 李小宁, 等. 颗粒物塑形负压吸盘的设计与研究[J]. 液压与气动, 2019(2):123-126.
CHEN Xing, GUO Zhonghua, LI Xiaoning, et al. Design and study on negative vacuum pad for jamming particle shaping[J]. Hydraulic and Pneumatic, 2019 (2):123-126.
[20] 程玉华, 袁艳芳, 潘越. 玻璃壁面清洗机器人负压吸附系统的研究[J]. 科技创新与应用, 2017(16):54-55.
CHENG Yuhua, YUAN Yanfang, PAN Yue. Research on negative pressure adsorption system of glass wall cleaning robot[J]. Science and Technology Innovation and Application, 2017(16):54-55.
[21] FAILLI F, DINI G. An innovative approach to the automated stacking and grasping of leather plies[J]. CIRP Annals-Manufacturing Technology, 2004,53(1):31-34.
[22] CUBRIC G, SALOPEK C I. Study of grippers in automatic handling of nonwoven material[J]. Journal of the Institution of Engineers (India): Series E, 2019,100(2):167-173.
[23] LIEN T K, DAVIS P G G. A novel gripper for limp materials based on lateral Coanda ejectors[J]. CIRP Annals-Manufacturing Technology, 2008,57(1):33-36.
[24] FLEISCHER J, FÖRSTER F, CRISPIERI N V, et al. Intelligent gripper technology for the handling of carbon fiber material[J]. Production Engineering, 2014,8(6):691-700.
[25] ASANO K. Fundamental study of an electrostatic chuck for silicon wafer handling [C]// HATAKEYAMA F, YATSUZUKA K. Proceedings of the 1997 IEEE Industry Applications Conference 32nd IAS Annual Meeting. PA: IEEE, 1997: 1998-2003.
[26] 黄之峰. 面向壁面移动机器人的静电吸附机理研究[D]. 哈尔滨:哈尔滨工业大学, 2010: 11-12.
HUANG Zhifeng. Research on electrostatic adsorption mechanism for wall-clinmbing robot[D]. Harbin: Harbin Institute of Technology, 2010: 11-12.
[27] 黄之峰, 王鹏飞, 李满天, 等. 基于柔性静电吸附技术的爬壁机器人研究[J]. 机械设计与制造, 2011(6):166-168.
HUANG Zhifeng, WANG Pengfei, LI Mantian, et al. Study on wall-climbing robot based on flexible electrostatic attraction technique[J]. Mechanical Design and Manufacturing, 2011(6):166-168.
[28] KOH K H. Modeling and simulation of electrostatic adhesion for wall climbing robot [C]// KUPPAN C R M, PONNAMBALAM S G. 2011 IEEE International Conference on Robotics and Biomimetics. Vancouver: IEEE Computer Society, 2011: 2031-2036.
[29] SCHALER E W. An electrostatic gripper for flexible objects [C]// RUFFATTO D, GLICK P, WHITE V, et al. 2017 IEEE/RSJ International Conference on Intelligent Robots and Systems. PA: IEEE, 2017: 1172-1179.
[30] 刘斌. 一种透明静电吸盘:201822072469.2[P]. 2019 -09-10.
LIU Bin. A transparent electrostatic chuck:201822072469.2[P]. 2019 -09-10.
[31] REINHART G, HOEPPNER J. Non-contact handling using high-intensity ultrasonics[J]. CIRP Annals-Manufacturing Technology, 2000,49(1):5-8.
[32] SAITO S, SODA F, DHELIKA R, et al. Compliant electrostatic chuck based on hairy microstructure[J]. Smart Materials and Structures, 2013,22(1):15-19.
[33] ZHANG Z W. Modeling and analysis of electrostatic force for robot handling of fabric materials[J]. IEEE/ASME Transactions on Mechatronics, 1999,4(1):39-49.
[34] 刘旭. 一种多功能无尘车间净化设备: 201711002302.2 [P]. 2018 -03-23.
LIU Xu. A multifunctional dust-free workshop purification equipment: 201711002302.2 [P]. 2018 -03-23.
[35] 邹明明, 李小宁, 滕燕. 非接触式真空吸取动态过程试验研究[J]. 液压与气动, 2011(3):108-111.
ZOU Mingming, LI Xiaoning, TENG Yan. Research on the dynamic process of non-contact vacuum levita-tion[J]. Hydraulic and Pneumatic, 2011(3):108-111.
[36] LI X, IIO S, KAWASHIMA K, et al. Computational fluid dynamics study of a noncontact handling device using air-swirling flow[J]. Journal of Engineering Mechanics, 2011,137(6):400-409.
[37] IDLOVSKÁ L, TULEJA P. Analysis of flow rates in the design of effector for unilateral gripping with active vacuum suction cup[J]. Applied Mechanics and Materials, 2014,613:304-309.
[38] OZCELIK B, ERZINCANLI F. Examination of the movement of a woven fabric in the horizontal direction using a non-contact end-effector[J]. The International Journal of Advanced Manufacturing Technology, 2005,25(5/6):527-532.
[39] DAVIS S, GRAY J O, CALDWELL D G. An end effector based on the Bernoulli principle for handling sliced fruit and vegetables[J]. Robotics and Computer Integrated Manufacturing, 2006,24(2):249-257.
[40] IIO S, UMEBACHI M, LI X, et al. Performance of a non-contact handling device using swirling flow with various gap height[J]. Journal of Visualization, 2010,13(4):319-326.
[41] LI X, KAWASHIMA K, KAGAWA T. Analysis of vortex levitation[J]. Experimental Thermal and Fluid Science, 2008,32(8):1448-1454.
[42] LI X, KAGAWA T. Development of a new noncontact gripper using swirl vanes[J]. Robotics and Computer Integrated Manufacturing, 2013,29(1):63-70.
[43] DINI G, FANTONI G, FAILLI F. Grasping leather plies by Bernoulli grippers[J]. CIRP Annals - Manufacturing Technology, 2009,58(1):21-24.
[44] OZCELIK B, ERZINCANLI F. A non-contact end-effector for the handling of garments[J]. Robotica, 2002,20(4):447-450.
[45] ZHANG T. Integration of thermoresponsive velcro-like adhesive for soft robotic grasping of fabrics or smooth surfaces [C]//LIANG T, YUE X, SAMEOTO D. 2019 2nd IEEE International Conference on Soft Robotics (RoboSoft). PA: IEEE, 2019: 120-125.
[46] CUBRIC G, NIKOLIC G, 吴丽霞. 应用于转移针织物的真空握持器[J]. 国际纺织导报, 2014,42(4):27-28.
CUBRIC G, NIKOLIC G, WU Lixia. Applying the vacuum gripper for knitted fabric transfer[J]. Melliand China, 2014,42(4):27-28.
[47] SMIRNOV I V, SPRINGHETTI R, MOROZOV V A, et al. Experimental analysis on electrical breakdown of acrylic VHB tape under quasi-static and pulsed voltage[J]. Technical Physics, 2018,63(1):152-154.
[48] 李剑锋, 梁冬泰, 路波, 等. 非接触搬运吸盘系统研究[J]. 仪器仪表学报, 2018,39(10):108-116.
LI Jianfeng, LIANG Dongtai, LU Bo, et al. Research on non-contact handling sucker system[J]. Chinese Journal of Scientific Instrument, 2018,39(10):108-116.
Viewed
Full text


Abstract

Cited

  Shared   
  Discussed   
No Suggested Reading articles found!