Journal of Textile Research ›› 2023, Vol. 44 ›› Issue (12): 170-180.doi: 10.13475/j.fzxb.20220606701

• Machinery & Accessories • Previous Articles     Next Articles

Mobile robot positioning method in textile production environments

LI Xun1,2(), LI Zhewen1, ZHANG Tingwen1, JING Junfeng1,2, LI Pengfei1   

  1. 1. School of Electronics and Information, Xi'an Polytechnic University, Xi'an, Shaanxi 710048, China
    2. Xi'an Polytechnic University Branch of Shaanxi Artificial Intelligence Joint Laboratory, Xi'an, Shaanxi 710600, China
  • Received:2022-12-28 Revised:2023-02-05 Online:2023-12-15 Published:2024-01-22

Abstract:

Objective The intellectualization and green production of textile industry are the contents that must be upgraded following the "double carbon" strategy, and the large number of applications of mobile robots will be a fact in the future. However, robot has not been widely used in the textile workshop, and most of the robot positioning method are based on the traditional magnetic signals such as conductor. With the expanding of the scale of production, scalability is not strong. The ground environment, textile machinery and textile workshop electromagnetic interference problem will have to be solved. Therefore, a multi-sensor hybrid filtering method is proposed.
Method In order to solve the impact of physical environment in textile workshop, the Inertial Measurement Unit (IMU) sensor data carried by the robot was compared with other sensor data, and a data preprocessing model was established to reduce the impact of ground and electromagnetic on sensor data. According to the characteristics of each sensor, the data processed by LiDAR, IMU and wheel odometer were fused by UKF(Unscented Kalman Filter) filter, and the global pose estimated by AMCL (Adaptive Mentcarto Localization)meter was added to UKF to solve the problem of positioning failure caused by the initial value and abnormal data.
Results The simulation environment of textile workshop with and without electromagnetic interference was constructed based on ROS operating system, and the algorithm proposed in this paper was compared with other algorithms. Under the condition of no electromagnetic interference, the positioning accuracy of single sensor was found to decrease significantly and even fail due to the influence of complex ground and similar environment in textile workshop (Fig. 6). Compared with UKF and EKF multi-sensor fusion algorithms, AMCL-UKF algorithm demonstrated better fitness and stronger robustness in the face of complex environment in textile workshop. AMCL-UKF algorithm reduced the positioning error by 85.9% and 34.8% and the maximum positioning error was reduced by 8.1% and 7.6%, indicating that multi-sensor fusion could effectively improve the positioning accuracy (Tab. 3). It showed that the multi-sensor algorithm could effectively reduce the error caused by EKF and UKF linearization process. In the environment with electromagnetic interference, as shown in Tab.4, the maximum error of the data preprocessing model was reduced by 32.5%, the average value reduced by 37.6%, the root means square error reduced by 36.7%, and the standard deviation reduced by 12.7%, proving the effectiveness of the method. The AMCL-UKF algorithm provided relatively accurate positioning accuracy and stability in the face of strong magnetic field interference in the textile workshop (Fig. 11).
Conclusion The experimental results show that the data preprocessing model can effectively reduce the influence of physical environment of textile workshop on sensor data. Through the AMCL algorithm, the global pose is calculated and input into the UKF filter, which can improve the positioning failure of the Kalman filter caused by the interference in the working process of the textile robot and improve the working stability. Problems such as electromagnetic interference, ground, and error introduction during collaborative work in textile workshop have limited influence on positioning accuracy. However, the proposed algorithm does not use data information interaction between multiple robots for collaborative positioning. The latest research method of robot positioning is graph-based optimization algorithm, which has higher positioning accuracy. Therefore, the future research direction is to improve the positioning accuracy through graph optimization algorithm by using mutual measurement between multiple robots and reduce the computational complexity of graph optimization algorithm to further improve the positioning accuracy of robots. In conclusion, the improved AMCL-UKF method in this paper can provide accurate positioning information for mobile robots and provide theoretical and experimental data support for mobile robot application schemes required for intelligent upgrading of textile workshops in the future.

Key words: textile automation, mobile robot, AMCL-UKF hybrid filtering, data fusion positioning

CLC Number: 

  • TP24

Fig. 1

Schematic diagram of space layout of common spinning machines in textile workshops. (a) Combing workshop; (b) Roving workshop; (c) Spinning workshop"

Fig. 2

Relationship between Cartesian world coordinate system and body coordinate system. (a) Schematic diagram of production environment space; (b) Three-dimensional coordinate system transformation;(c) Motion description of coordinate"

Fig. 3

Omnidirectional mobile robot of McNum wheel"

Fig. 4

Multi-sensor fusion positioning framework"

Tab. 1

Parameters of the dynamic weighted pretreatment model"

数据类型 传感器类型
轮式里程计 激光里程计 IMU
处理前线速度/(m·s-1) Vwheel Vradar Vimu
处理前角度/(rad·s-1) θwheel θradar θimu
处理后线速度/(m·s-1) VFW VFR
处理后角度/(rad·s-1) θFW θFR θFI
均值 Mwheel Mradar Mimu
线速度方差 δv,wheel δv,radar δv,imu
角度方差 δθ,wheel δθ,radar δθ,imu

Fig. 5

Textile workshop simulation environment. (a) Schematic diagram of drawing machine layout in combing shop; (b) Rviz visual map"

Tab. 2

Initializes data table"

数据类别 取值
初始位置/终止位置 (0,0,0)/(18.0,17.5,0)
移动机器人线速度/(m·s-1) 1
传感器干扰模拟 白噪声
电磁干扰幅度/(A·m-1) (1.0, 1.7)
受扰航向角偏差 (-11.81°, 11.81°)
并条机平面面积/m2 1×4

Fig. 6

Location track results of each algorithm in environment without electromagnetic interferenceLocation track results of each algorithm in environment without electromagnetic interference. (a) Each algorithm locates trajectory; (b) Wheel odometry; (c) Laser odometry; (d) EKF; (e) UKF; (f) AMCL-UKF"

Tab. 3

Evaluation index of positioning error of each algorithm in textile workshop environmentm"

算法 最大值 平均值 均方根误差 标准差
轮式里程计 1.298 0.589 0.701 0.380
激光里程计 0.279 0.160 0.169 0.055
EKF 0.198 0.135 0.140 0.037
UKF 0.197 0.133 0.138 0.037
AMCL-UKF 0.182 0.094 0.102 0.038

Fig. 7

Error diagram of each algorithm and real positioning trajectory. (a) Positioning error curve; (b) Histogram of positioning performance parameters; (c) Location error distribution map; (d) Box diagram of positioning error"

Fig. 8

Simulation curves of electromagnetic interference of motor A(a), motor B(b), motor C(c), motor D(d), motor F(e), motor G(f)"

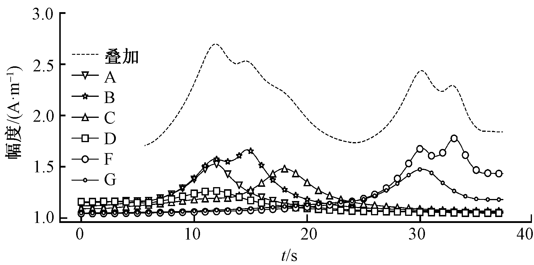
Fig. 9

Electromagnetic interference curve after superposition"

Fig. 10

IMU heading angle data"

Tab. 4

Comparison of heading angle before and after pretreatmentrad"

类型 最大值 平均值 均方根误差 标准差
预处理前 10.80 8.15 8.24 1.26
预处理后 7.29 5.08 5.20 1.10

Fig. 11

Location track results of each algorithm in electromagnetic interference environment"

Tab. 5

Resource occupancy rate of each algorithm"

算法 CPU占用率/% 发布频率/Hz
EKF 19.4 100.2
UKF 20.2 100.2
图优化 28.0 82.59
AMCL-UKF 23.7 91.2
[1] 李珣, 何晶晶, 赵征凡, 等. 基于一致性改进模型的多机器人编队运动规划方法[J]. 西安工程大学学报, 2021, 35(3):44-53.
LI Xun, HE Jingjing, ZHAO Zhengfan, et al. Multi-robot formation motion planning method based on improved consistency model[J]. Journal of Xi'an Polytechnic University, 2021, 35(3):44-53.
[2] YU S, JIANG Z. Design of the navigation system through the fusion of IMU and wheeled encoders[J]. Computer Communications, 2020. DOI:10.1016/j.comcom.2020.07.009.
[3] GAO Y, WANG F, LI J, et al. Localization of mobile robot based on multi-sensor fusion[C]// 2020 Chinese Control And Decision Conference (CCDC). Heifei:IEEE, 2020: 4367-4372.
[4] 张书亮, 谭向全, 吴清文. 基于多传感器融合技术的室内移动机器人定位研究[J]. 传感器与微系统, 2021, 40(8):4.
ZHANG Shuliang, TAN Xiangquan, WU Qingwen. Localization of indoor mobile robot based on multi-sensor fusion technology[J]. Sensor and MicroSystem, 2021, 40(8):4.
[5] LU C, ZHANG W, CHEN F. Positioning of wheeled robot on spherical tank based on improved EKF[C]// 2019 IEEE 4th Advanced Information Technology, Electronic and Automation Control Confer-ence(IAEAC). Chengdu:IEEE, 2019: 1732-1736.
[6] JULIER S J, UHIMANN J K. New extension of the Kalman filter to nonlinear systems[J]. Signal Processing, Sensor Fusion, and Target Recognition VI, 1997.DOI: 10.1117/12.280797.
[7] LUIGI D, LUCIA W, MURACA P, et al. Mobile robot localization via EKF and UKF: a comparison based on real data[J]. Robotics and Autonomous Systems, 2015, 74: 122-127.
[8] 刘慧, 姜雨汐. 室内移动机器人实时定位滤波算法仿真对比[J]. 北京建筑大学学报, 2021, 37(4):8.
LIU Hui, JIANG Yuxi. Simulation comparison of real-time positioning filtering algorithm for indoor mobile robot[J]. Journal of Beijing University of Civil Engineering and Architecture, 2021, 37(4):8.
[9] 尹建军, 余承超, 贺坤, 等. 磁导引与UKF滤波定位的轮式AGV路径跟踪研究[J]. 机械设计与制造, 2021(7):5.
YIN Jianjun, YU Chengchao, HE Kun, et al. Research on path tracking of wheeled AGV based on magnetic guidance and UKF filter positioning[J]. Machinery Design & Manufacture, 2021(7):5.
[10] 洪宇, 李胜, 郭健, 等. 基于自适应无迹卡尔曼的机器人室内定位算法[J]. 计算机测量与控制, 2018, 26(1):238-241,247.
HONG Yu, LI Sheng, GUO Jian, et al. Machine based on adaptive unscented Kalman Indoor positioning algorithm[J] Computer Measurement and Control, 2018, 26 (1): 238-241,247.
[11] PARK S, HWANG J P, KIM E, et al. A new evolutionary particle filter for the prevention of sample impoverishment[J]. IEEE Transactions on Evolutionary Computation, 2009, 13(4):801-809.
[12] GUAN R P, RISTIC B, WANG L, et al. KLD Sampling with gmapping proposal for monte carlo localization of mobile robots[J]. Information Fusion, 2018, 49:79-88.
[13] QIAN J, ZI B, WANG D, et al. The design and development of an omni-directional mobile robot oriented to an intelligent manufacturing system[J]. Sensors, 2017, 17(9):1-7.
[14] LI X, ZHANG Z, WU D D, et al. A multi-robot allocation model for multi-object based on global optimal evaluation of revenue[J]. International Journal of Advanced Robotic Systems, 2021.DOI:10.1177/17298814211060650.
[15] LI X, WU D, HE J, et al. An improved method of particle swarm optimization for path planning of mobile robot[J]. Journal of Control Science and Engineering, 2020.DOI:10.1155/2020/3857894.
[16] ULLAH I, SHEN Y, SU X, et al. A localization based on unscented Kalman filter and particle filter localization algorithms[J]. IEEE Access, 2019, 8: 2233-2246.
[17] KUDRIASHOV A, BURATOWSKI T, GIERGIEL M. Hybrid AMCL-EKF filtering for SLAM-based pose estimation in rough terrain[C]// Advances in Mechanism and Machine Science: Proceedings of the 15th IFToMM World Congress on Mechanism and Machine Science 15. Berlin:Springer International Publishing, 2019: 2819-2828.
[18] 叶黎明. 复杂路况下轮式机器人的位姿估计[D]. 石家庄: 石家庄铁道大学, 2021:1-50.
YE Liming. Wheeled robot pose estimation under complex road conditions[D]. Shijiazhuang: Shijiazhuang Railway University, 2021:1-50.
[19] JAIMEZ M, MONROY J G, GONZALEZ-JIMENEZ J. Planar odometry from a radial laser scanner. A range flow-based approach[C]// 2016 IEEE International Conference on Robotics and Automation (ICRA). Stockholm :IEEE, 2016: 4479-4485.
[20] ZHOU G, LUO J, XU S, et al. An EKF-based multiple data fusion for mobile robot indoor localization[J]. Assembly Automation, 2021, 41(3): 274-282.
[21] ZHAO M, ZHANG T, WANG D. A high precision indoor positioning method based on UKF[J]. Journal of Intelligent & Fuzzy Systems, 2022, 42(4): 3639-3652.
[22] 范冰飞. 人体运动姿态传感器抗磁场和大加速度干扰的方法及其步态分析应用研究[D]. 杭州: 浙江大学, 2019:1-65.
FAN Bingfei. Research on anti-magnetic field and acceleration interference method of human motion posture sensor and its gait analysis application[D]. Hangzhou: Zhejiang University, 2019:1-65.
[23] 赵芸, 赵敏. 移动机器人CartographerSLAM建图改进研究[J]. 软件导刊, 2021.DOI:10.11907/rjdk.201562.
ZHAO Yun, ZHAO Min. Research on improvement of mobile robot CartographerSLAM mapping[J]. Software Guide, 2021. DOI:10.11907/rjdk.201562.
[1] XU Gaoping, SUN Yize. Dynamic modeling and control of package yarn pulled by mobile manipulator [J]. Journal of Textile Research, 2024, 45(01): 1-11.
[2] HUANG Chenjing, ZHANG Lei, SUN Xun, WANG Xiaohua. Trajectory tracking control method of cloth grabbing manipulator based on dynamic modeling [J]. Journal of Textile Research, 2023, 44(06): 207-214.
[3] SONG Jiexin, FU Tianyu, LI Fengming, SONG Rui, LI Yibin. Prediction method for tension of fabric sewn by robot based on extensibility [J]. Journal of Textile Research, 2022, 43(12): 173-180.
[4] ZHANG Jie, XU Chuqiao, WANG Junliang, ZHENG Xiaohu. Advancement in data-driven intelligent control system for roboticized textile production [J]. Journal of Textile Research, 2022, 43(09): 1-10.
[5] MO Shuai, ZHOU Changpeng, LI Xu, YANG Zhenning, LIU Huihua, GAO Hanjun. Research on integrated design method of robot intelligent joint drive and control structure [J]. Journal of Textile Research, 2022, 43(03): 160-167.
[6] WANG Xiaohua, WANG Yuhe, ZHANG Lei, WANG Wenjie. Force and position fuzzy impedance control of a sewing robot [J]. Journal of Textile Research, 2021, 42(11): 173-178.
[7] LI Xun, NAN Kaikai, ZHAO Zhengfan, WANG Xiaohua, JING Junfeng. Task allocation of handling robot in textile workshop based on multi-agent game theory [J]. Journal of Textile Research, 2020, 41(07): 78-87.
[8] WANG Xiaohua, YAO Weiming, WANG Wenjie, ZHANG Lei, LI Pengfei. Sewing gesture recognition based on improved YOLO deep convolutional neural network [J]. Journal of Textile Research, 2020, 41(04): 142-148.
[9] XU Lei;WANG Rui;ZHANG Shujie. Electrical resistance properties of Ni-Ti shape memory alloy fiber in phase transformation [J]. JOURNAL OF TEXTILE RESEARCH, 2010, 31(3): 15-19.
Viewed
Full text


Abstract

Cited

  Shared   
  Discussed   
No Suggested Reading articles found!