Journal of Textile Research ›› 2023, Vol. 44 ›› Issue (12): 162-169.doi: 10.13475/j.fzxb.20220703001

• Machinery & Accessories • Previous Articles     Next Articles

Research on filament collection and discharge technology with an automated shoveling system under non-stop-spinning condition

DING Caihong(), ZUO Jinzhao   

  1. College of Mechanical Engineering, Donghua University, Shanghai 201620, China
  • Received:2022-12-11 Revised:2023-01-06 Online:2023-12-15 Published:2024-01-22

Abstract:

Objective Regular shoveling on the spinneret surface is necessary to ensure spinning quality. Automated shoveling under non-stop-spinning conditions can ensure stable spinning quality without stopping the pump. However, the technical solution of rotating the filament collecting bobbin and the shovel assembly together requires high rotation speeds to ensure successful collection of the waste filament, which to some extent negatively affects the shoveling results. In order to eliminate the negative effects of waste filament collecting operation on the shoveling effect when non-stop-spinning automated shoveling, a method was proposed for the design of a non-stop automated shoveling system with the filament collecting device stationary at the center and the offset shovel assembly for continuous rotation, so that board shoveling and filament collection could operate simultaneously without any mutual influence on the operating effect.
Method By applying mechanical design and gearing technology, the inverted collecting funnel was located directly below the spinneret to collect filament and the shovel assembly was driven by a motor to rotate around the spinneret axis to do shove movement. Based on hydrodynamics, the airflow field was designed by combining upper positive pressure blowing with lower negative pressure pumping to form a spiral downward flow of air. In such a way, the waste filament was blown away from the funnel wall and gathered inwards to wind down and discharge. The structural and airflow parameters of the filament collecting assembly were designed in detail by applying fluid simulation analysis methods, and an experimental equipment was developed for test verification.
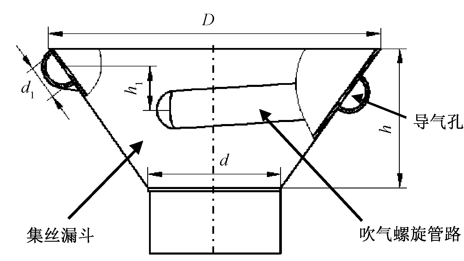
Results Firstly, the layout and inclination of the air guide holes were designed to form a spiral cohesive airflow field inside the funnel. A spiral-blowing pipeline with multiple spaced through holes was arranged on the outer wall of the collection funnel to guide the external air with positive pressure into a spiral airflow inside the funnel (Fig. 2). The simulated flow field domain model of the filament collection system was built (Fig. 4). After setting the relevant flow parameters, the flow field simulation was carried out for the cases with different number of air guide holes 5, 6 and 7, whose inclination angle was between 25° and 55°, and through the simulation analysis the number of holes was determined to be 6 and the inclination angle to be 40° (Fig. 5). Then, setting the design targets as the peak temperature fluctuation of the spinneret surface at no more than 3 ℃ and the temperature drop of the surface at no more than 18 ℃, simulation of the internal flow field of the collection system was carried out for working conditions with blowing flow rates of 20, 35, 40 and 45 m/s. By observing the temperature cloud of the spinneret surface and measuring the flow velocity in the shielding zone, the relationship between the relevant temperature and flow parameters and the blowing rate was obtained (Tab. 1), and it was found that the design specifications could be satisfied when the blowing rate was valued less than 25 m/s. Finally, the negative pressure parameter at the end of the filament discharge pipeline was adjusted to achieve effective contact between negative pressure pumping and positive pressure blowing at the lower end of the funnel, and thus the flow distribution of the filament collection system was further optimized to form a spiral cohesive downward airflow field. Setting the blowing rate at 15 and 20 m/s, a steady-state analysis of the flow field of the filament collection system was carried out (Fig. 6), and it was found that the trend of uneven flow distribution in the circumferential direction inside the funnel increased as the end vacuum increased. Further combined with transient analysis of the flow field, it was found that at a blowing rate of 15 m/s and an end pressure of -85 Pa, the filament collection system was able to quickly generate a spiral downward flow field within 2.5 s (Fig. 7). As a result, the flow parameters of the blowing rate and end negative pressure were determined.
Conclusion After completing the design of the main parameters of the non-stop automated shoveling system, the design correctness was further tested through fluid simulation and actual experiments. It was found that the traces presented a curved and oblique inward shape, and closer to the center of the pipeline, the pitch of the trace decreased until it became straight, so the airflow field of the collecting system could achieve spiral cohesive downward flow. The simulated filaments converged inwards and intertwined within the positive and negative pressure flow field, thus also verifying the correctness of the system design above. The research reported in this paper has achieved the independence of the board shoveling and wire collection in terms of design parameters, and effectively solved the adverse effects of waste filament collecting operation on the shoveling effect, and thus provided a new technical solution for automated board shoveling under non-stop-spinning condition.

Key words: spinneret, non-stop-spinning, automated board shoveling, fluid simulation, spiral flow field, filament collection and discharge, inverted-funnel shaped filament collecting device

CLC Number: 

  • TH12

Fig. 1

Diagram of automated board shoveling system under non-stop-spinning condition"

Fig. 2

Structure and parameters of wire collecting funnel"

Fig. 3

Definition of inclination angle of air guide hole. (a) Definition of cross-sectional plane of blowing pipeline; (b) Direction view of plane P"

Fig. 4

Flow field model of collecting system"

Fig. 5

Streamlines diagram in situations on different number and different inclination angle. (a) 5 holes at 35° inclination; (b) 6 holes at 40° inclination; (c) 7 holes at 40° inclination"

Tab. 1

Temperature and flow velocity in spinneret face area at different blowing flow rates"

气流速度/
(m·s-1)
板面温度
最大值/K
板面温度峰
峰差值/K
板面最大
温降/K
挡风区域内平均
流速/(m·s-1)
15 555.83 0.06 4.26 0.43
20 556.05 1.98 4.08 0.42
25 555.27 7.82 10.70 0.79
30 553.16 9.52 14.51 1.53
35 549.78 9.43 17.80 2.16
40 549.88 9.52 17.78 2.60
45 548.83 9.09 18.41 3.09

Fig. 6

Flow field analysis in conditions of blowing velocity of 15 m/s and different end pressures"

Fig. 7

Transient analysis of flow field when blowing velocity is 15 m/s and end pressure is -85 Pa"

Fig. 8

Trace distribution of flow field in longitudinal center section of waste collecting system. (a) Main view; (b)Top view"

Fig. 9

Trace distribution of flow field at different diameter sections in waste discharging pipeline"

Fig. 10

Simulation test device of automated shoveling operation under non-stop-spinning conditions"

Fig. 11

Simulation experiment effect of waste collecting system. (a) During collecting; (b)Final state of simulated spinning"

[1] 于勤, 王强, 范雪荣. 二醋酸纤维素纤维纺丝溶液的挤出胀大行为[J]. 纺织学报, 2015, 36(4): 7-10.
YU Qin, WANG Qiang, FAN Xuerong. Die swell behavior of cellulose diacetate spinning dope[J]. Journal of Textile Research, 2015, 36(4): 7-10.
doi: 10.1177/004051756603600102
[2] 王国良, 朱伟锴, 张桂萍, 等. 涤纶纺丝车间智能铲板机器人的应用[J]. 合成纤维, 2020, 49(4): 49-51.
WANG Guoliang, ZHU Weikai, ZHANG Guiping, et al. Application of intelligent scraper robot in polyester spinning workshop[J]. Synthetic Fiber in China, 2020, 49(4): 49-51.
[3] Oerlikon首台铲板机器人在印度成功投入使用[J]. 纺织导报, 2020(3): 9.
Oerlikon's first shovel robot successfully putting into use in India[J]. China Textile Leader, 2020(3): 9.
[4] 祖立武. 化学纤维成型工艺学[M]. 哈尔滨: 哈尔滨工业大学出版社. 2014: 52.
ZU Liwu. Processing technology of chemical fibers[M]. Harbin: Harbin Institute of Technology Press. 2014: 52.
[5] 宫川敬史, 川崎秀一, 本仪守之, 等. 纺丝喷嘴清理装置和纺丝机的清理方法: 200410062876.5[P]. 2004-06-29.
TAKASHI Miyagawa, MORIYUKI Motogi, SHUICHI Kawasaki, et al. Spinning nozzle cleaning device and spinning machine cleaning method: 200410062876.5[P]. 2004-06-29.
[6] 丁彩红, 师义, 季兴跃, 等. 一种自动化铲板装置: 201910757290.7[P]. 2019-10-22.
DING Caihong, SHI Yi, JI Xingyue, et al. An automated shovel device: 201910757290.7[P]. 2019-10-22.
[7] 李水荣, 杨美娟, 余涛, 等. 一种环吹风纺丝停位喷丝板保温装置: 201620816819X[P]. 2016-07-31.
LI Shuirong, YANG Meijuan, YU Tao, et al. A kind of ring blowing spinning stop spinneret heat preservation device: 201620816819X[P]. 2016-07-31.
[8] 陈正, 王玉萍. 圆锥形螺纹平均螺旋升角的计算[J]. 宇航计测技术, 2013, 33(2): 34-35.
CHEN Zheng, WANG Yuping. The calculation of mean spiral angle with conical-shaped thread[J]. Journal of Astronautic Metrology and Measurement, 2013, 33(2): 34-35.
[9] 吴立平. 直纺生产超细旦FDY33dtex/72f工艺探讨[J]. 江苏纺织, 2014(5): 37-39.
WU Liping. Process exploring on spinning production of superfine FDY33dtex/72f[J]. Jiangsu Textile, 2014(5): 37-39.
[10] 陈广宏. 基于φ64 mm喷丝板熔体直纺167 dtex/288 f涤纶FDY生产工艺探讨[J]. 合成纤维工业, 2021, 44(3):90-93.
CHEN Guanghong. Production process of 167 dtex/288 f polyester FDY by melt direct spinning using φ64 mm spinneret[J]. China Synthetic Fiber Industry, 2021, 44(3):90-93.
[11] 师义. 自动化铲板系统设计及吸丝技术研究[D]. 上海: 东华大学, 2020: 69-73.
SHI Yi. Design of automated shovel board system and research on wire suction technology[D]. Shanghai: Donghua University, 2020: 69-73.
[1] ZHOU Xinru, FAN Mengjing, HU Chengye, HONG Jianhan, LIU Yongkun, HAN Xiao, ZHAO Xiaoman. Effect of spinneret rate on structure and properties of nanofiber core-spun yarns prepared by continuous water bath electrospinning [J]. Journal of Textile Research, 2023, 44(06): 50-56.
[2] DING Caihong, ZUO Jinzhao, SHI Yi. Design of automated board shoveling system under non-stop-spinning condition [J]. Journal of Textile Research, 2023, 44(04): 187-193.
[3] WU Xia, YAO Juming, WANG Yan, RIPON Das, JIRI Militky, MOHANAPRIYA Venkataraman, ZHU Guocheng. Simulation and analysis of carbon fiber composite unmanned aerial vehicle blade [J]. Journal of Textile Research, 2022, 43(08): 80-87.
[4] DING Caihong, LI Shucheng, WU Xiru. Motion analysis and parameter design of tool setting process in automatic scraping [J]. Journal of Textile Research, 2020, 41(09): 143-148.
[5] DING Caihong, LI Shucheng, JI Xingyue. Design of automatic scraping component based on buffering strategy for tool setting [J]. Journal of Textile Research, 2020, 41(04): 155-160.
[6] . Route planning for concentric spinneret inspection based on improved ant colony algorithm [J]. JOURNAL OF TEXTILE RESEARCH, 2017, 38(11): 124-130.
[7] . Die swell behavior of cellulose diacetate spinning dope [J]. Journal of Textile Research, 2015, 36(04): 7-10.
[8] LI Chunlei;CUI Bin;WU Xingkuan;YANG Chongchang;FENG Pei. Study on auto-detecting of spinneret by machine vision [J]. JOURNAL OF TEXTILE RESEARCH, 2010, 31(11): 126-130.
[9] ZHANG Xiao-ying;PAN Zhi-juan;QIAN Dan-na;SHEN Wen-tao. Configuration of electrospun polycaprolactam nano-scale fibers [J]. JOURNAL OF TEXTILE RESEARCH, 2006, 27(7): 13-15.
Viewed
Full text


Abstract

Cited

  Shared   
  Discussed   
No Suggested Reading articles found!