Journal of Textile Research ›› 2024, Vol. 45 ›› Issue (02): 28-35.doi: 10.13475/j.fzxb.20231003901

• Fiber Materials • Previous Articles     Next Articles

Preparation of high melt flowing index polyethylene masterbatch and spinnability of infrared melt-blown nonwovens

WEI Yihui1, ZHANG Yujing1, DENG Huihua2, DENG Qinghui2, CHEN Haoqiang2, ZHANG Xuzhen3, YU Bin1, ZHU Feichao1,4,5()   

  1. 1. College of Textile Science and Engineering(International Institute of Silk), Zhejiang Sci-Tech University, Hangzhou, Zhejiang 310018, China
    2. Guangdong Ganrong Technology Co., Ltd., Foshan, Guangdong 528010, China
    3. College of Material Science and Engineering, Zhejiang Sci-Tech University, Hangzhou, Zhejiang 310018, China
    4. Key Laboratory of Industrial Textile Materials and Manufacturing Technology of Zhejiang Province, Hangzhou, Zhejiang 310018, China
    5. Shaoxing Eco Textile Technology Co., Ltd., Shaoxing, Zhejiang 311800, China
  • Received:2023-10-13 Revised:2023-11-12 Online:2024-02-15 Published:2024-03-29

Abstract:

Objective The application of micro/nano ultrafine fiber aggregate materials with high transmittance and medium infrared performance in intelligent buildings, physical therapy and health energy is constantly expanding. Polyethylene (PE), as a typical high transmittance medium infrared material, has not yet received systematic research and applications in relation to its infrared transmittance ultrafine fiber materials. Melt-blown method can be used to prepare PE ultrafine fiber aggregates with high quality and efficiency. However, not much research has been witnessed on PE raw materials for melt-blown performance and melt-blown formation, and there is no PE melt-blown material with satisfactory performance in the market. This study prepared PE master batches with high melt index (HMI-PE) for melt spraying, further prepared PE melt spraying materials (PE-MBs), and studied their infrared transmittance.

Method Using spinning grade PE as raw material, high melt index PE master batches (HMI-PE) were prepared by reactive extrusion using a synergistic method of plasticizer (plasticizer, polyethylene wax(PEW)) and catalyst (initiator, DCP) chain breaking. The rheological properties, molecular weight and distribution, crystallization performance, and thermal stability of the HMI-PE master batches were investigated. Furthermore, PE melt-blown materials (PE-MBs) were prepared using SJ-25 micro melt blown testing mechanism, and the apparent morphology and mechanical of PE-MBs were studied. The infrared transmittance performance was characterized and analyzed.

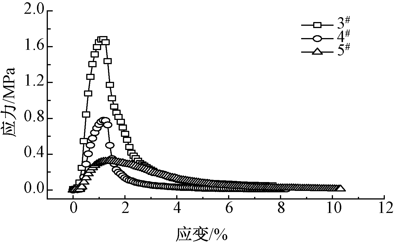
Results Under the same temperature conditions, as the mass fraction of PEW increased, the melt index(MI) of HMI-PE master batches continuously increased. At different temperatures, the magnitude of the increase in MI of HMI-PE master batches increased with the increase of temperature. Under constant temperature conditions, the complex viscosity showed a decreasing trend with an increase in shear rate, resulting in a decrease in molecular weight and a wider distribution of molecular weight. The glass melting temperature and cold crystallization peak of HMI-PE master batches generally shifted to the left, and with the increase of PEW content, a melting peak with lower temperature and wider peak range would appear, without significant impact on thermal stability. When the mass fraction of PEW was greater than 30%, the HMI-PE masterbatches reached over 200 g/(10 min) (230 ℃), exhibiting great melt-blown spinnability. The fiber diameter of PE-MBs were distributed in an approximate normal pattern, and with the increase of melt index, the fiber diameter decreased to 7.72 μm. The longitudinal tensile strength of PE-MBs decreased with the increased of PEW content, while their flexibility and overall mechanical properties became better. Research had shown that the infrared transmittance was related to the thickness of the material and the thickness of the fibers. The thinner the material, the finer the fibers, and the higher the infrared transmittance.

Conclusion The synergistic method of plasticizer and catalytic chain breaking can be used to prepare high melt index polyethylene master batches, showing good melt-blown spinnability. PE melt-blown nonwoven materials have narrow absorption peaks in the mid infrared band, and their infrared transmittance can reach over 92%, making them an excellent infrared transparent material.

Key words: polyethylene, melt-blown, nonwoven, rheological property, infrared transmittance, spinnability

CLC Number: 

  • TS176

Fig. 1

Preparing process of HMI-PE masterbatch(a) and PE-MBs(b)"

Fig. 2

Mechanism of reactive extrusion preparation of HMI-PE masterbatch"

Fig. 3

Melt flow properties of HMI-PE masterbatch. (a) Melt index curves; (b) Shear viscosity curves"

Fig. 4

Molecular weight distribution of HMI-PE masterbatches"

Tab. 1

Molecular weight distribution parameters of HMI-PE masterbatches"

试样 Mn Mw PDI
0# 385 672 529 068 1.131
1# 327 745 485 409 1.279
2# 319 682 436 272 1.481
3# 305 424 401 126 1.365
4# 224 655 377 645 1.681
5# 212 492 352 099 1.657

Fig. 5

DSC heating(a) and cooling(b) curves of PEW and HMI-PE masterbatches"

Tab. 2

DSC parameters of PEW and HMI-PE masterbatchs"

样品 冷结晶温
度/℃
冷结晶焓/
(J·g-1)
熔融温
度/℃
熔融焓/
(J·g-1)
结晶
度/%
PEW 90.0 51.2 99.7 14.5
0# 105.3 84.5 120.4 78.0 28.8
1# 106.4 65.2 121.9 76.4 24.7
2# 106.6 57.1 122.4 53.8 24.4
3# 105.4 47.8 119.7 49.4 23.3
4# 104.7 38.2 120.2 44.6 21.7
5# 104.1 23.1 119.1. 55.2 15.8

Fig. 6

TGA (a) and DTG (b) curves of HMI-PE masterbatches"

Tab. 3

Thermogravimetric parameters of HMI-PE masterbatches℃"

样品 T5% T50% T95%
PEW 380.0 434.1 451.1
0# 419.9 448.8 460.7
1# 413.7 446.2 459.4
2# 408.8 443.4 456.9
3# 397.9 437.1 451.6
4# 392.6 433.1 450.8
5# 387.2 431.5 447.8

Fig. 7

SEM and fiber diameter and its distribution of PE-MBs obtained by HMI-PE masterbatches with different melt index"

Fig. 8

Stress-strain curves of PE-MBs"

Fig. 9

Infrared thermography and infrared transmittance of different fabrics. (a) Blank control group; (b) Sample 3#; (c) Sample 4#; (d) Sample 5#; (e) Polyethylene membrane; (f) Cotton fabric; (g) Infrared transmittance of different fabrics"

[1] YANG J J, ZHANG X F, ZHANG X, et al. Infrared adaptive materials: beyond the visible: bioinspired infrared adaptive materials[J]. Advanced Materials, 2021. DOI: 10.1002/adma.202170105.
[2] DAVID M, DISNAN D, LARDSCHNEIDER A, et al. Structure and mid-infrared optical properties of spin-coated polyethylene films developed for integrated photonics applications[J]. Optical Materials Express, 2022, 12(6): 2168-2180.
doi: 10.1364/OME.458667
[3] SHEN Y L, LIU Z Y, JIANG G J, et al. Fabrication of light-weight ultrahigh molecular weight polyethylene films with hybrid porous structure and the thermal insulation properties[J]. Journal of Applied Polymer Science, 2022. DOI: 10.1002/app.52403.
[4] TONG J K, HUNG X P, BORISKINA S V, et al. Infrared-transparent visible-opaque fabrics for wearable personal thermal management[J]. ACS Photonics, 2015, 2(6): 769-778.
doi: 10.1021/acsphotonics.5b00140
[5] PO C H, ALEX Y S, PETER B C, et al. Radiative human body cooling by nanoporous polyethylene textile[J]. Science, 2016, 353(6303): 1019-1023.
doi: 10.1126/science.aaf5471
[6] PENG Y C, CHEN J, SONG Y A, et al. Nanoporous polyethylene microfibres for large-scale radiative cooling fabric[J]. Nature Sustainability, 2018, 1(2): 105-112.
doi: 10.1038/s41893-018-0023-2
[7] KE Y, WANG F, XU P, et al. On the use of a novel nanoporous polyethylene (nanoPE) passive cooling material for personal thermal comfort management under uniform indoor environments[J]. Building and Environment, 2018, 145: 85-95.
doi: 10.1016/j.buildenv.2018.09.021
[8] HSU P C, LIU C, SONG A Y, et al. A dual-mode textile for human body radiative heating and cooling[J]. Science Advances, 2017. DOI: 10.1126/sciadv.1700895.
[9] CAI L L, SONG A Y, LI W, et al. Spectrally selective nanocomposite textile for outdoor personal cooling[J]. Advanced Materials, 2018. DOI: 10.1002/adma.201802152.
[10] CAI L, SONG A Y, WU P, et al. Warming up human body by nanoporous metallized polyethylene textile[J]. Nature Communications, 2017, 8(1): 496.
doi: 10.1038/s41467-017-00614-4 pmid: 28928427
[11] CATRYSSE P B, SONG A Y, FAN S. Photonic structure textile design for localized thermal cooling based on a fiber blending scheme[J]. ACS Photonics, 2016, 3(12): 2420-2426.
doi: 10.1021/acsphotonics.6b00644
[12] CAI L, PENG Y, XU J, et al. Temperature regulation in colored infrared-transparent polyethylene textiles[J]. Joule, 2019, 3(6): 1478-1486.
doi: 10.1016/j.joule.2019.03.015
[13] DRABEK J, ZATLOUKAL M. Meltblown technology for production of polymeric microfibers/nanofibers: a review[J]. Physics of Fluids, 2019. DOI: 10.1063/1.5116336.
[14] HIREMATH N, BHAT G. Melt blown polymeric nanofibers for medical applications: an overview[J]. Nanoscience and Technology, 2015, 2(1): 1-9.
[15] YALCIN Y, GAJANAN S B. Structure and mechanical properties of polyethylene melt blown nonwovens[J]. International Journal of Clothing Science and Technology, 2016, 28(6): 780-793.
doi: 10.1108/IJCST-09-2015-0099
[16] YALCIN Y, GAJANAN S B. Porosity and barrier properties of polyethylene meltblown nonwovens[J]. The Journal of The Textile Institute, 2017, 108(6): 1035-1040.
doi: 10.1080/00405000.2016.1218109
[17] XU Y, ZHANG X, HAO X, et al. Micro/nanofibrous nonwovens with high filtration performance and radiative heat dissipation property for personal protective face mask[J]. Chemical Engineering Journal, 2021. DOI: 10.1016/j.cej.2021.130175.
[18] LIU X Y, LIANG B, LONG J P. Preparation of novel thick sheet graphene and its effect on the properties of polyolefins with different crystallinities[J]. Polymer Bulletin, 2021, 79(8): 5955-5974.
doi: 10.1007/s00289-021-03791-x
[19] GAHLEITNER M, WANG J, PRADES F, et al. Gelation and crystallization phenomena in polyethylene plastomers modified with waxes[J]. Polymers, 2021, 13(13): 2147.
doi: 10.3390/polym13132147
[20] MORICI E, DL B A, ARRIGO R, et al. Double bond-functionalized POSS: dispersion and crosslinking in polyethylene-based hybrid obtained by reactive proce-ssing[J]. Polymer Bulletin, 2016, 73: 3385-3400.
doi: 10.1007/s00289-016-1662-y
[21] BAKSHI A K, GHOSH A K. Processability and physico-mechanical properties of ultrahigh-molecular-weight polyethylene using low-molecular-weight olefin wax[J]. Polymer Engineering & Science, 2022, 62(7): 2335-2350.
[22] ANDREEV M, NICHOLSOND, KOTULA A, et al. Rheology of crystallizing LLDPE.[J]. Journal of Rheology, 2020, 64(6): 1379-1389.
doi: 10.1122/8.0000110
[23] SEPIDEH B, MARYAM M, MASOUD H, et al. Low molecular weight paraffin, as phase change material, in physical and micro-structural changes of novel LLDPE/LDPE/paraffin composite pellets and films[J]. Iranian Polymer Journal, 2017, 26(11): 885-893.
doi: 10.1007/s13726-017-0574-5
[24] GUMEDE, THANDI P, LUYT, et al. Plasticization and cocrystallization in LLDPE/wax blends[J]. Journal of Polymer Science, Part B. Polymer Physics, 2016, 54(15): 1469-1482.
doi: 10.1002/polb.v54.15
[25] MOSOABISANE M F T, LUYT A S, VAN S C. Comparative experimental and modelling study of the thermal and thermo-mechanical properties of LLDPE/wax blends[J]. Journal of Polymer Research, 2022, 29(7): 296.
doi: 10.1007/s10965-022-03136-w
[26] SALEM S M, BEHBEHANI M H, HAZZA A J, et al. Study of the degradation profile for virgin linear low-density polyethylene (LLDPE) and polyole-fin (PO) plastic waste blends[J]. Journal of Material Cycles and Waste Management, 2019, 21(5): 1106-1122.
doi: 10.1007/s10163-019-00868-8
[27] 张宇静, 陈连节, 张思东, 等. 高熔融指数聚乳酸母粒的制备及其熔喷材料的可纺性[J]. 纺织学报, 2023, 44(2): 55-62.
ZHANG Yujing, CHEN Lianjie, ZHANG Sidong, et al. Preparation of high melt index polylactic acid masterbatch andspinnability of its meltblown mate-rials[J]. Journal of Textile Research, 2023, 44(2): 55-62.
[1] ZHAI Qian, ZHANG Heng, ZHAO Ke, ZHU Wenhui, ZHEN Qi, CUI Jingqiang. Laminated design and water quick-drying performance of biomimetic bamboo-tube fibrous humidifying materials [J]. Journal of Textile Research, 2024, 45(02): 1-10.
[2] XIAO Hao, SUN Hui, YU Bin, ZHU Xiangxiang, YANG Xiaodong. Preparation of chitosan-SiO2 aerogel/cellulose/polypropylene composite spunlaced nonwovens and adsorption dye performance [J]. Journal of Textile Research, 2024, 45(02): 179-188.
[3] FANG Chunyue, LIU Zixuan, JIA Lixia, YAN Ruosi. Ballistic response of duoplasmatron-modified polyethylene composites [J]. Journal of Textile Research, 2024, 45(02): 77-84.
[4] YANG Qi, LIU Gaohui, HUANG Qiwei, HU Rui, DING Bin, YU Jianyong, WANG Xianfeng. Study on correlation between charge storage and filtration performance of melt-blown polylactic acid/polyvinylidene fluoride electret air filter materials [J]. Journal of Textile Research, 2024, 45(01): 12-22.
[5] LIU Jinxin, ZHOU Yuxuan, ZHU Borong, WU Haibo, ZHANG Keqin. Properties and filtration mechanism of thermal bonding polyethylene/polypropylene bicomponent spunbond nonwovens [J]. Journal of Textile Research, 2024, 45(01): 23-29.
[6] WANG Rongchen, ZHANG Heng, ZHAI Qian, LIU Ruiyan, HUANG Pengyu, LI Xia, ZHEN Qi, CUI Jingqiang. Preparation and fast wettability of polylactic acid micro-nanofibrous dressing by melt blowing process [J]. Journal of Textile Research, 2024, 45(01): 30-38.
[7] XIE Yanxia, ZHANG Weiqiang, XU Yaning, ZHAO Shuhan, YIN Wenxuan, ZHANG Wenqiang, HAN Xu. Migration properties of commercial polyethylene terephthalate staple fiber oligomers and influencing factors thereof [J]. Journal of Textile Research, 2024, 45(01): 65-73.
[8] YAO Chenxi, WAN Ailan. Thermal and moisture comfort of polybutylene terephthalate/polyethylene terephthalate weft-knitted sports T-shirt fabrics [J]. Journal of Textile Research, 2024, 45(01): 90-98.
[9] LIU Ya, ZHAO Chen, ZHUANG Xupin, ZHAO Yixia, CHENG Bowen. Fabrication and properties of metallocene polyethylene spunbond filament based on Polyflow simulation [J]. Journal of Textile Research, 2023, 44(12): 1-9.
[10] MENG Na, WANG Xianfeng, LI Zhaoling, YU Jianyong, DING Bin. Research progress in electret technology for melt-blown nonwovens [J]. Journal of Textile Research, 2023, 44(12): 225-232.
[11] SUN Hui, CUI Xiaogang, PENG Siwei, FENG Jiangli, YU Bin. Preparation of polylactic acid/magnetic metal organic frame material composite melt-blown fabrics and air filtration performance [J]. Journal of Textile Research, 2023, 44(12): 26-34.
[12] LIU Juntao, SUN Ting, TU Hu, HU Min, ZHANG Ruquan, SUN Lei, LUO Xia, JI Hua. Optimization of plasma cold pad-batch degreasing/bleaching process for cotton spunlace nonwoven by response surface method [J]. Journal of Textile Research, 2023, 44(11): 132-141.
[13] TAN Jing, SHI Xin, YU Jingchao, CHENG Lisheng, YANG Tao, YANG Weimin. Preparation and electrical conductivity of carbon nanocoating on glass fiber surface by polymer pyrolysis [J]. Journal of Textile Research, 2023, 44(11): 36-44.
[14] ZHANG Guangzhi, YANG Fusheng, FANG Jin, YANG Shun. One bath flame retardant finishing of polylactic acid nonwoven by phytic acid/chitosan/boric acid [J]. Journal of Textile Research, 2023, 44(10): 120-126.
[15] QIAN Yaowei, YIN Lianbo, LI Jiawei, YANG Xiaoming, LI Yaobang, QI Dongming. Preparation and properties of flame retardant cotton fabrics by layer-by-layer assembly of polyvinylphosphonic acid and polyethylene polyamine [J]. Journal of Textile Research, 2023, 44(09): 144-152.
Viewed
Full text


Abstract

Cited

  Shared   
  Discussed   
No Suggested Reading articles found!