Journal of Textile Research ›› 2021, Vol. 42 ›› Issue (11): 71-76.doi: 10.13475/j.fzxb.20210101206

• Textile Engineering • Previous Articles     Next Articles

Design of fatigue testing device and fatigue resistance evaluation of artificial ligaments

LU Jun1,2, GUAN Xiaoning1,2, LIN Jing1,2(), LAO Jihong1,2, WANG Fujun1,2, LI Yan1,2, WANG Lu1,2   

  1. 1. College of Textiles, Donghua University, Shanghai 201620, China
    2. Key Laboratory of Textile Science & Technology of Ministry of Education, Donghua University, Shanghai 201620, China
  • Received:2021-01-08 Revised:2021-05-31 Online:2021-11-15 Published:2021-11-29
  • Contact: LIN Jing E-mail:jlin@dhu.edu.cn

Abstract:

Aiming at the graft failure of artificial ligaments under complex mechanical environment in the knee joint cavity, an artificial ligament fatigue testing device was built, composing of a tensile motion module, a torsion motion module, a flexion motion module and an insulation temperature liquid return system. Clinical physiological parameters such as tensile displacement, torsion angle and flexion angle of the human body during normal walking were selected for fatigue tests and evaluation of fatigue resistance of artificial ligament specimens. The results showed that the friction damage between fibers and yarns was the main fatigue damage mode of the specimens and the tensile property of the specimens suffered some loss after fatigue and the normalized tensile modulus decreased exponentially with time. The macromolecular chains of the specimens were subjected to a series of multi-directional loads such as tension, compression, torsion and flexion during the fatigue test, which ultimately led to a decrease in crystallinity.

Key words: artificial ligament, fatigue test, ligament graft, fatigue resistance, medical textiles

CLC Number: 

  • TS101.8

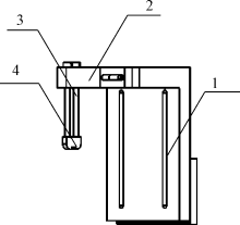
Fig.1

Tensile motion module"

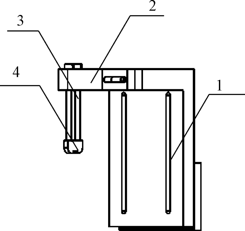
Fig.2

Torsion motion module"

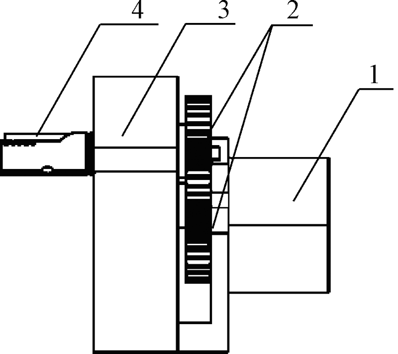
Fig.3

Flexion motion module"

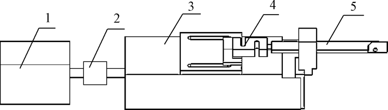
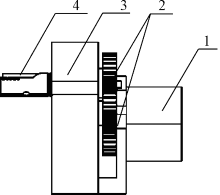
Fig.4

Artificial ligament fatigue testing device"

Tab.1

Fatigue test program"

状态 拉伸隔距/mm 扭转角度/(°) 屈曲角度/(°)
初始状态 34.64 15 60
加载状态 45.00 0 0
结束状态 34.64 15 60

Fig.5

Apparent morphology at different fatigue time points of specimen AL24-0(a) and specimen AL24-6(b)"

Fig.6

Morphology of fatigue fracture of commercial graft failure specimen(a) and specimen AL24-0(b)(×500)"

Tab.2

Mesoscopic evaluation results"

测试时间/h 断裂强力/N 刚度/(N·mm-1)
AL24-0 AL24-6 AL24-0 AL24-6
0 2 533.68±31.67 3 093.22±90.67 178.05±3.92 275.51±19.09
8 2 444.24±45.94 2 664.98±97.06 205.27±4.17 278.96±6.20
16 1 856.06±292.85 2 612.02±112.95 173.39±11.42 254.07±11.13
24 1 363.89±136.76 2 283.39±88.10 180.65±9.35 254.12±7.49

Fig.7

Normalized tensile modulus-time curves of two specimens"

Tab.3

Crystallinity test results"

试样名称 结晶度/%
0 h 8 h 16 h 24 h
AL24-0 39.59 43.45 37.58 34.22
AL24-6 40.11 42.41 39.23 38.04
[1] PAULY H, KELLY D, POPAT K, et al. Mechanical properties of a hierarchical electrospun scaffold for ovine anterior cruciate ligament replacement[J]. Journal of Orthopaedic Research, 2019, 37(2):421-430.
doi: 10.1002/jor.v37.2
[2] JOSEPH A M, COLLINS C L, HENKE N M, et al. A multisport epidemiologic comparison of anterior cruciate ligament injuries in high school athletics[J]. Journal of Athletic Training, 2013, 48(6):810-817.
doi: 10.4085/1062-6050-48.6.03
[3] 李宇, 张豪, 肖世卓, 等. LARS人工韧带与自体腘绳肌腱一期重建前后交叉韧带的疗效比较[J]. 中国修复重建外科杂志, 2020, 34(8):1018-1024.
pmid: 32794672
LI Yu, ZHANG Hao, XIAO Shizhuo, et al. Effectiveness comparison of LARS artificial ligament and autogenous hamstring tendon in one-stage reconstruction of anterior and posterior cruciate ligaments[J]. Chinese Journal of Reparative and Reconstructive Surgery, 2020, 34(8):1018-1024.
doi: 10.7507/1002-1892.201908051 pmid: 32794672
[4] 陈伟, 邹刚, 刘毅. LARS韧带在前交叉韧带重建中的临床应用与关注热点[J]. 中国组织工程研究, 2020, 24(8):1287-1292.
CHEN Wei, ZOU Gang, LIU Yi. Clinical application and focus of LARS ligament in anterior cruciate ligament reconstruction[J]. Chinese Journal of Tissue Engineering Research, 2020, 24(8):1287-1292.
[5] 陈天午, 陈世益. 人工韧带用于前交叉韧带修复重建: 目前产品与经验[J]. 中国修复重建外科杂志, 2020, 34(1):1-9.
pmid: 31939226
CHEN Tianwu, CHEN Shiyi. Artificial ligaments applied in anterior cruciate ligament repair and reconstruction: current products and experience[J]. Chinese Journal of Reparative and Reconstructive Surgery, 2020, 34(1):1-9.
doi: 10.7507/1002-1892.201908084 pmid: 31939226
[6] 陈天午, 蒋佳, 陈世益. 人工韧带的临床应用现状及进展[J]. 宁夏医学杂志, 2016, 38(8):673-676.
CHEN Tianwu, JIANG Jia, CHEN Shiyi. Current status and progress of clinical application of artificial ligaments[J]. Ningxia Medical Journal, 2016, 38(8):673-676.
[7] GUIDOIN M F, MAROIS Y, BEJUI J, et al. Analysis of retrieved polymer fiber based replacements for the ACL[J]. Biomaterials, 2000, 21(23):2461-2474.
doi: 10.1016/S0142-9612(00)00114-9
[8] 刘明洁, 林婧, 关国平, 等. 典型纺织基人工韧带及其移出物结构与力学性能[J]. 纺织学报, 2020, 41(11):66-72.
LIU Mingjie, LIN Jing, GUAN Guoping, et al. Structures and mechanical properties of typical textile-based artificial ligaments and explants[J]. Journal of Textile Research, 2020, 41(11):66-72.
[9] 东华大学. 人工韧带多自由度在线疲劳模拟测试装置及其测试方法: 202011492121.4[P]. 2021-04-09.
Donghua University. Artificial ligament multi-degree-of-freedom online fatigue simulation testing device and method: 202011492121.4[P]. 2021-04-09.
[10] JUNG H J, VANGIPURAM G, FISHER M B, et al. The effects of multiple freeze-thaw cycles on the biomechanical properties of the human bone-patellar tendon-bone allograft[J]. Journal of Orthopaedic Research, 2011, 29(8):1193-1198.
doi: 10.1002/jor.v29.8
[11] WOO S L Y, HOLLIS J M, ADAMS D J, et al. Tensile properties of the human femur-anterior cruciate ligament-tibia complex: the effects of specimen age and orientation[J]. American Journal of Sports Medicine, 1991, 19(3):217-225.
doi: 10.1177/036354659101900303
[12] 卢俊, 陈泓傑, 汤旭, 等. 人工韧带拉伸扭转疲劳测试装置的设计和应用[J]. 东华大学学报(自然科学版), 2021.DOI: 10.19886/j.cnki.dhdz.2020.0354.
LU Jun, CHEN Hongjie, TANG Xu, et al. Design and application of artificial ligament tensile and torsion fatigue testing device[J]. Journal of Donghua University(Nature Science), 2021.DOI: 10.19886/j.cnki.dhdz.2020.0354.
[13] TAYLOR K A, CUTCLIFFE H C, QUEEN R M, et al. In vivo measurement of ACL length and relative strain during walking[J]. Journal of Biomechanics, 2013, 46(3):478-483.
doi: 10.1016/j.jbiomech.2012.10.031
[14] GAO B, ZHENG N Q. Alterations in three-dimensional joint kinematics of anterior cruciate ligament-deficient and -reconstructed knees during walking[J]. Clinical Biomechanics, 2010, 25(3):222-229.
doi: 10.1016/j.clinbiomech.2009.11.006
[15] DROUIN G, MASSON M, YAHIA L. In vitro fatigue testing of prosthetic ligaments: a new concept[J]. Bio-medical Materials and Engineering, 1991, 1(3):159-165.
doi: 10.3233/BME-1991-1304
[16] HONL M, CARRERO V, HILLE E, et al. Bone-patellar tendon-bone grafts for anterior cruciate ligament reconstruction:an in vitro comparison of mechanical behavior under failure tensile loading and cyclic submaximal tensile loading[J]. American Journal of Sports Medicine, 2002, 30(4):549-557.
doi: 10.1177/03635465020300041501
[17] 黄云帆. 全可降解人工韧带的成型及其力学和生物学性能研究[D]. 上海: 东华大学, 2020: 24-25.
HUANG Yunfan. Study on the mechanical and biological properties of fully degradable artificial ligaments[D]. Shanghai: Donghua University, 2020: 24-25.
[18] SHANAHAN C, TOFAIL S A M, TIERNAN P. Viscoelastic braided stent: finite element modelling and validation of crimping behaviour[J]. Materials & Design, 2017, 121:143-153.
[19] 薛雯. 复合编织血管支架物理力学性能研究[D]. 上海: 东华大学, 2019: 58.
XUE Wen. The research on physical and mechanical properties of composite braided stents[D]. Shanghai: Donghua University, 2019: 58.
[20] 宁方刚. 绳缆编织结构建模及其绕滑轮弯曲疲劳性能研究[D]. 上海: 东华大学, 2016: 121-125.
NING Fanggang. Researches on geometrical modeling of braided ropes and their bending fatigue properties when bent over sheaves[D]. Shanghai: Donghua University, 2016: 121-125.
[21] 于伟东. 纺织材料学[M]. 2版. 北京: 中国纺织出版社, 2018: 121-122.
YU Weidong. Textile material science[M]. 2nd ed. Beijing: China Textile & Apparel Press, 2018: 121-122.
[1] LU Jun, WANG Fujun, LAO Jihong, WANG Lu, LIN Jing. Finite element analysis of braided artificial ligaments of different structures under combined loading [J]. Journal of Textile Research, 2021, 42(08): 84-89.
[2] SU Mengru, ZOU Ting, CHEN Qichao, LI Chaojing, WANG Fujun, WANG Lu. Research progress of medical barbed sutures [J]. Journal of Textile Research, 2021, 42(05): 178-184.
[3] YANG Gang, LI Haidi, QIAO Yansha, LI Yan, WANG Lu, HE Hongbing. Preparation and characterization of polylactic acid-caprolactone/fibrinogen nanofiber based hernia mesh [J]. Journal of Textile Research, 2021, 42(01): 40-45.
[4] YANG Yuchen, QIN Xiaohong, YU Jianyong. Research progress of transforming electrospun nanofibers into functional yarns [J]. Journal of Textile Research, 2021, 42(01): 1-9.
[5] ZHANG Qian, MAO Jifu, LÜ Luyao, XU Zhongmian, WANG Lu. Abrasion resistance of suture at anchor eyelet for tendon-bone repair and its influencing factors [J]. Journal of Textile Research, 2020, 41(12): 66-72.
[6] LIU Mingjie, LIN Jing, GUAN Guoping, BROCHU G, GUIDION R, WANG Lu. Structures and mechanical properties of typical textile-based artificial ligaments and explants [J]. Journal of Textile Research, 2020, 41(11): 66-72.
[7] QIAO Yansha, WANG Qian, LI Yan, SANG Jiawen, WANG Lu. Preparation and in vitro inflammation evaluation of polydopamine coated polypropylene hernia mesh [J]. Journal of Textile Research, 2020, 41(09): 162-166.
[8] ZHANG Xing, LIU Jinxin, ZHANG Haifeng, WANG Yuxiao, JIN Xiangyu. Preparation technology and research status of nonwoven filtration materials for individual protective masks [J]. Journal of Textile Research, 2020, 41(03): 168-174.
[9] .  Dynamic fatigue resistance of webbing sling with high-tenacity PET fiber [J]. Journal of Textile Research, 2015, 36(02): 66-70.
[10] . Bending fatigue theory of textile fibers and its application  [J]. JOURNAL OF TEXTILE RESEARCH, 2013, 34(5): 152-0.
Viewed
Full text


Abstract

Cited

  Shared   
  Discussed   
[1] . [J]. JOURNAL OF TEXTILE RESEARCH, 2003, 24(06): 33 -34 .
[2] . [J]. JOURNAL OF TEXTILE RESEARCH, 2003, 24(06): 35 -36 .
[3] . [J]. JOURNAL OF TEXTILE RESEARCH, 2003, 24(06): 107 .
[4] . [J]. JOURNAL OF TEXTILE RESEARCH, 2003, 24(06): 109 -620 .
[5] . [J]. JOURNAL OF TEXTILE RESEARCH, 2004, 25(02): 105 -107 .
[6] . [J]. JOURNAL OF TEXTILE RESEARCH, 2004, 25(02): 108 -110 .
[7] . [J]. JOURNAL OF TEXTILE RESEARCH, 2004, 25(02): 111 -113 .
[8] . [J]. JOURNAL OF TEXTILE RESEARCH, 2004, 25(02): 116 -118 .
[9] . [J]. JOURNAL OF TEXTILE RESEARCH, 2004, 25(03): 9 -10 .
[10] PAN Xu-wei;GU Xin-jian;HAN Yong-sheng;CHENG Yao-dong. Research on quick response of apparel supply chain for collaboration[J]. JOURNAL OF TEXTILE RESEARCH, 2006, 27(1): 54 -57 .