Journal of Textile Research ›› 2024, Vol. 45 ›› Issue (11): 215-225.doi: 10.13475/j.fzxb.20230806101

• Machinery & Equipment • Previous Articles     Next Articles

Design and optimization of semi-enclosed free-surface electrospinning nozzle

LIU Jian1,2(), WANG Chenghao1, DONG Shoujun1, LIU Yongru2   

  1. 1. School of Mechanical Engineering, Tiangong University, Tianjin 300387, China
    2. Center of Engineering Practice Training, Tiangong University, Tianjin 300387, China
  • Received:2023-08-28 Revised:2024-08-15 Online:2024-11-15 Published:2024-12-30

Abstract:

Objective In the process of electrospinning, the yield of capillary needle spinning is low and the free-surface electrospinning solution system is unstable. Therefore, it is necessary to design a new type of nozzle to ensure the stability, high efficiency and controllable preparation of electrospinning nanofibers. Aiming at the problems of multi-needle electrospinning and needle-free electrospinning, a multi-blade semi-enclosed free-surface electrospinning nozzle is proposed.

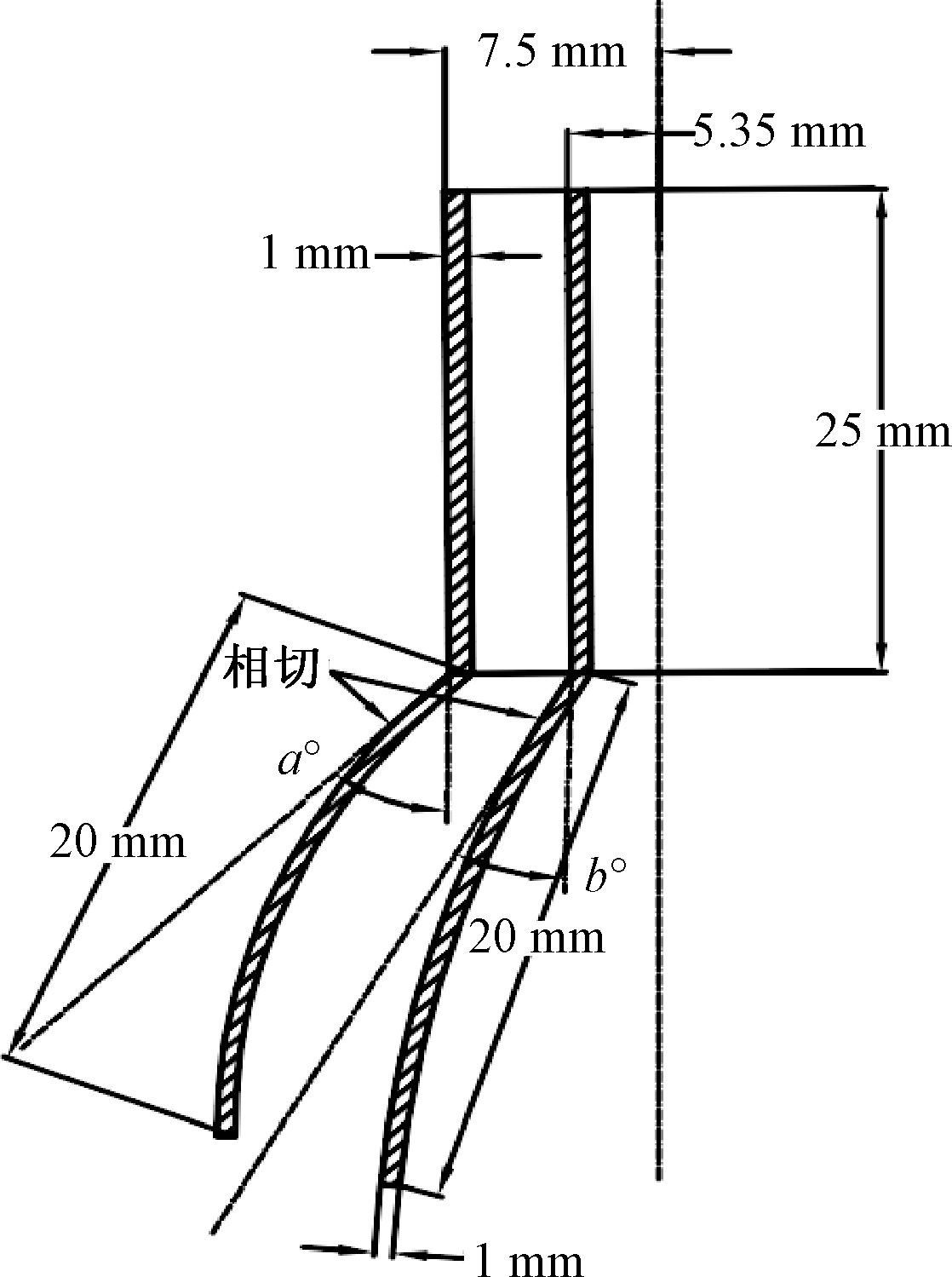
Method The multi-blade semi-enclosed free-surface nozzle was primarily divided into the straight pipe section and the blade section. The straight pipe section was first designed based on the uniformity of solution distribution. Next, the blade part was modeled according to the shape and distribution characteristics of a lotus petal, with the inner and outer layers of the blade clips determined using a neural network (BP) combined with a simulated annealing algorithm. The model was then set up to verify the accuracy of the algorithm, and theoretical calculations of droplet holding time were performed for the designed model. Finally, the model's validity was confirmed through experiments.

Results A multi-blade semi-enclosed free surface nozzle was designed. The straight pipe part of the nozzle adopted the method of multi-channel uniform distribution. The blade section was simulated by the lotus petal section curve. The angle between the inner and outer layers of the blade layer was calculated by combining BP and simulated annealing algorithm, and the angle between the inner and outer layers was determined to be 27° and 50°, respectively. Fluent software was adopted to simulate the final model of the above design. At this time, the pressure ratio between the inner wall and the outlet of the inner and outer layer solution in the process of electrostatic spinning was 0.45, which was close to the theoretical calculation and verified the accuracy of the theoretical model. On the basis of calculating the tension coefficient, a formula for calculating the droplet retention time of the nozzle blade was derived, and the nozzle parameters involved were included in the calculation. The results showed that the droplet holding time of the inner and outer blades was 21.89 s and 17.80 s, respectively, which is sufficient for the droplet to complete the electrospinning process and stabilize the electrospinning solution system. The identified model was 3D printed with stainless steel and electrospinning experiment was carried out. In the experiment, it was found that 12 blade tips would form a stable jet, and the efficiency was about 12 times higher than that of a single needle jet. In addition, because of the angle between the inner and outer layers in the nozzle blade, the angle between the inner and outer layers of the nozzle blades ensures that the pressure of the solution on the inner wall is the same for both layers, resulting in equal outflow speeds. The spinning area was large, and the measured fiber membrane area in this experiment was in the range of 1 140-1 440 cm2. Because the liquid supply rate was higher than the spinning rate during electrostatic spinning, the liquid droplets would not overflow on the nozzle surface or drop on the nozzle surface, and would not affect the quality of the fiber membrane. Finally, the film generated by the semi-closed free-surface nozzle with 10 mL/h supply rate and 15 min spinning time was observed by electron microscopy. The average fiber diameter was 275 nm and the CV value was 17.49%.

Conclusion Combining the advantages of single-needle and free-surface nozzle in electrospinning, a semi-enclosed free-surface nozzle with multiple blades is proposed and designed. It has the advantages of multi-jet formation, long droplet holding time and no solution volatization. Compared with conventional single needle electrospinning, the efficiency is improved and the spinning area is enlarged. Compared with electrospinning without needles, the solution utilization rate and stability of electrospinning solution are improved. Through the electrospinning experiment and the electron microscopy of the fiber membrane, the average diameter of the fiber film produced by the nozzle is 275 nm, with a diameter coefficient of variation (CV) of 17.49%, indicating excellent fiber characteristics, and this study has certain reference significance for the development of stable, efficient and controllable electrospinning nanofibers preparation method.

Key words: electrospinning, semi-enclosed free surface, neural network, simulated annealing algorithm, fluent simulation, holding time, multiple jet

CLC Number: 

  • TS174.8

Tab.1

Lotus petal longitudinal section curve coordinates"

组数 坐标1 坐标2 坐标3 坐标4 坐标5
1 (0,0.00) (0,0.00) (0,0.00) (0,0.00) (0,0.00)
2 (1,-0.16) (1,-0.17) (1,-0.16) (1,-0.15) (1,-0.15)
3 (2,-0.35) (2,-0.34) (2,-0.35) (2,-0.36) (2,-0.33)
4 (3,-0.64) (3,-0.65) (3,-0.64) (3,-0.64) (3,-0.65)
5 (4,-1.06) (4,-1.05) (4,-1.06) (4,-1.07) (4,-1.07)
6 (5,-1.50) (4,-1.49) (4,-1.48) (4,-1.51) (4,-1.50)
7 (6,-1.80) (6,-1.79) (6,-1.81) (6,-1.80) (6,-1.78)
8 (7,-1.78) (7,-1.81) (7,-1.80) (7,-1.79) (7,-1.80)
9 (8,-1.59) (7,-1.58) (7,-1.59) (7,-1.58) (7,-1.57)
10 (9,-0.92) (9,-0.91) (9,-0.91) (9,-0.90) (9,-0.92)
11 (10,0.00) (10,0.00) (10,0.00) (10,0.00) (10,0.00)

Fig.1

Nozzle straight pipe flow channel distribution"

Fig.2

Nozzle parameters"

Fig.3

Neural network model"

Fig.4

Experiments for blade opening angle and droplet holding time"

Tab.2

Fit table of angles between inner and outer layer blades and center line"

内层角度/(°) 外层角度/(°)
25 25 30 35 40 45 50 55 60
30 - 30 35 40 45 50 55 60
35 - - 35 40 45 50 55 60
40 - - - 40 45 50 55 60
45 - - - - 45 50 55 60
50 - - - - - 50 55 60
55 - - - - - - 55 60
60 - - - - - - - 60

Fig.5

Boundary division"

Tab.3

Experimental data of pressure ratio of solution to inner wall and outlet of inner and outer layer of nozzle"

序号 溶液对内外层
内壁压力比
溶液对内外层
出口压力比
角度/(°) 序号 溶液对内外层
内壁压力比
溶液对内外层
出口压力比
角度/(°)
内层 外层 内层 外层
1 0.15 0.09 25 25 19 0.25 0.30 35 50
2 0.18 0.17 25 30 20 0.28 0.43 35 55
3 0.22 0.25 25 35 21 0.35 0.52 35 60
4 0.25 0.35 25 40 22 0.13 0.06 40 40
5 0.30 0.45 25 45 23 0.16 0.10 40 45
6 0.34 0.56 25 50 24 0.20 0.20 40 50
7 0.39 0.70 25 55 25 0.24 0.29 40 55
8 0.48 0.86 25 60 26 0.30 0.40 40 60
9 0.15 0.08 30 30 27 0.12 0.05 45 45
10 0.18 0.15 30 35 28 0.16 0.12 45 50
11 0.21 0.23 30 40 29 0.20 0.16 45 55
12 0.25 0.32 30 45 30 0.25 0.29 45 60
13 0.29 0.42 30 50 31 0.13 0.06 50 50
14 0.34 0.54 30 55 32 0.16 0.12 50 55
15 0.39 0.67 30 60 33 0.20 0.20 50 60
16 0.14 0.07 35 35 34 0.11 0.05 55 55
17 0.17 0.14 35 40 35 0.16 0.12 55 60
18 0.20 0.21 35 45 36 0.11 0.04 60 60

Tab.4

Weight and threshold value of solution to inner wall pressure ratio and outlet pressure ratio of inner and outer layers of nozzle"

参数 内壁压力比 出口压力比
w11 0.172 7 -1.398 4
w12 0.355 5 0.262 0
w21 -0.194 5 -1.460 9
w22 -1.613 0 -0.307 6
w1 -3.636 6 -0.039 8
w2 -1.747 4 -6.274 7
b1 0.379 1 1.764 6
b2 2.894 4 1.172 2
b 2.304 7 2.304 7

Fig.6

Simulated annealing logic block diagram"

Fig.7

Cloud images of fluid simulation pressure (a) and velocity (b)"

Fig.8

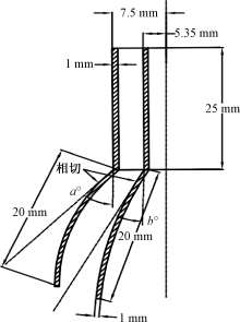
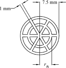
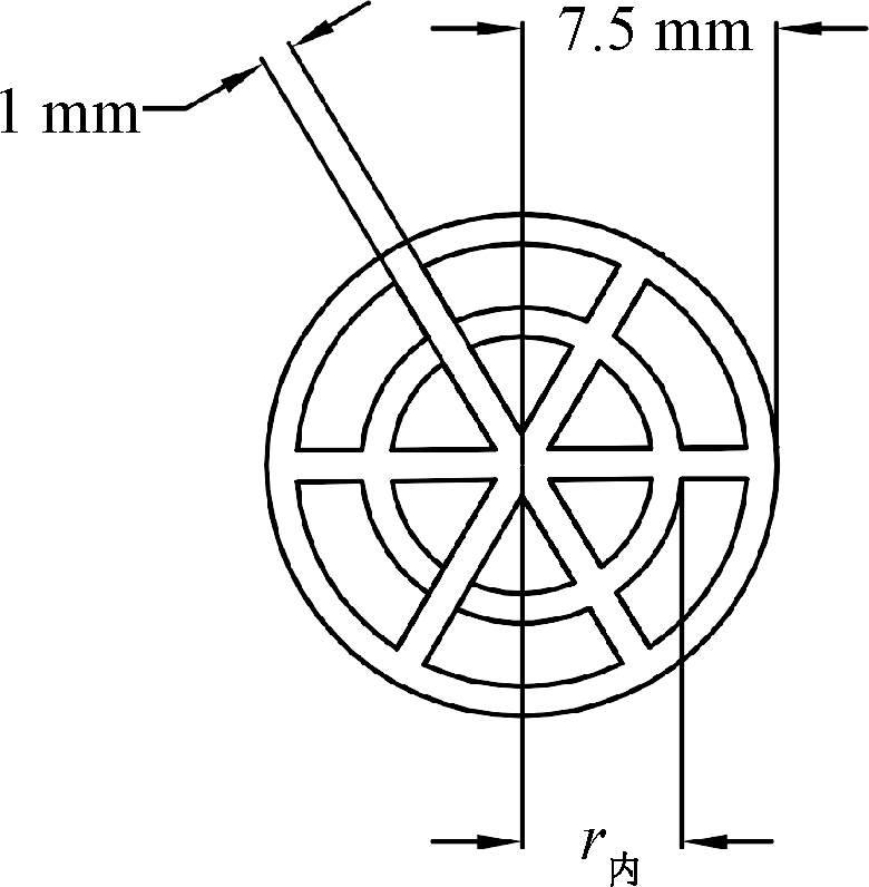
Semi-enclosed free surface nozzle model parameters"

Fig.9

Cross-sectional pressure cloud map"

Fig.10

Semi-enclosed free surface hozzle"

Fig.11

Semi-enclosed free-surface nozzle electrospinning"

Fig.12

Semi-enclosed free surface nozzle fiber film"

Fig.13

Surface morphology (a) and diameter distribution (b) of nanofibers"

Fig.14

Conventional capillary needle electrospinning"

Fig.15

Convenitional free surface electrospinning"

[1] FADIL F, AFFANDI N D N, MISNO M I, et al. Review on electrospun nanofiber-applied products[J]. Polymers, 2021, 13(2087): 1-29.
[2] LEE J, MOON S, LAHANN J, et al. Recent progress in preparing nonwoven nanofibers via needleless electrospinning[J]. Macromolecular Materials and Engineering, 2023. DOI: 10.1002/mame.202300057.
[3] 薛聪, 胡影影, 黄争鸣. 静电纺丝原理研究进展[J]. 高分子通报, 2009, 122(6): 38-47.
XUE Chong, HU Yingying, HUANG Zhengming. Advances in electrospinning principles[J]. Bulletin of Polymers, 2009, 122(6): 38-47.
[4] 师奇松, 于建香, 顾克壮, 等. 静电纺丝技术及其应用[J]. 化学世界, 2005(5): 313-316.
SHI Qisong, YU Jianxiang, GU Kezhuang, et al. Electrospinning technology and its application[J]. Chemical World, 2005(5): 313-316.
[5] 曾浩. 气泡静电纺丝专利技术的研究进展[J]. 上海纺织科技, 2022, 50(5): 60-64.
ZENG Hao. Research progress of patented technology of bubble electro-spinning[J]. Shanghai Textile Science and Technology, 2022, 50(5): 60-64.
[6] 于川力, 王经逸, 贾红兵, 等. 静电纺丝的应用研究进展[J]. 化工新型材料, 2022, 50(S1): 50-55.
YU Chuanli, WANG Jingyi, JIA Hongbing, et al. Application research progress of electrospinning[J]. New Chemical Materials, 2022, 50(S1): 50-55.
[7] 刘宇亮. 聚合物熔体离心静电纺丝过程仿真及实验探究[D]. 北京: 北京化工大学, 2022: 4-5.
LIU Yuliang. Simulation and experimental study on centrifugal electrospinning process of polymer melt[D]. Beijing: Beijing University of Chemical Technology, 2022: 4-5.
[8] THERON S, YARIN A, ZUSSMAN E, et al. Multiple jets in electrospinning: experiment and modeling[J]. Polymer, 2005, 46(9): 2889-2899.
[9] TOMASZEWSKI W, SZADKOWSKI M. Investigation of electrospinning with the use of a multi-jet electrospinnin head[J]. Fibres & Textiles in Eastern Europe, 2005, 13(4): 22-26.
[10] LI W W, LUO Z W, WANG X, et al. Ejection and motion behaviors simulation for multi-jet electro-spinning[J]. Key Engineering Materials, 2015, 645: 281-286.
[11] SALEHHUDIN H S, HAMAD E N, MAHADI W N L, et al. Multiple-jet electrospinning methods for nanofibre processing: a review[J]. Materials and Manufacturing Processes, 2018, 33(5): 479-498.
[12] 杨卫民, 刘兆香, 刘晓凤, 等. 一种双层花瓣形喷头的静电纺丝装置: 中国, 201310334445.9[P]. 2013-12-18.
YANG Weimin, LIU Zhaoxiang, LIU Xiaofeng, et al. An electrostatic spinning device with double petal nozzle: 201310334445.9[P]. 2013-12-18.
[13] JIANG G J, ZHANG S, QIN X. High throughput of quality nanofibers via one stepped pyramid-shaped spinneret[J]. Materials Letters, 2013, 106(106): 56-58.
[14] 戴同兰, 程志飞. 流体压强与流速关系实验的创新设计[J]. 中学物理, 2021, 39(20): 39-40.
DAI Tonglan, CHENG Zhifei. Innovative design of experiment on the relationship between fluid pressure and velocity[J]. High School Physics, 2021, 39(20): 39-40.
[15] 丛波. 基于分形的三维花卉建模算法研究[D]. 沈阳: 沈阳理工大学, 2009: 28-35.
CONG Bo. Research on 3D flower modeling algorithm based on fractal[D]. Shenyang: Shenyang University of Technology, 2009: 28-35.
[16] LIAO H, DING S, WANG M, et al. An overview on rough neural networks[J]. Neural.Computing and Applications, 2016, 27(7): 1805-1816.
[17] 孙旺, 朱平, 严宏鑫. 基于BP和RBF神经网络对静电纺丝工艺参数的优化研究[J]. 材料科学与工艺, 2023, 31(3): 56-62.
SUN Wang, ZHU Ping, YAN Hongxin. Optimization of electrospinning process parameters based on BP and RBF neural networks[J]. Materials Science and Technology, 2019, 31(3): 56-62.
[18] 张竞, 何伟, 马腾, 等. 静电纺丝PAN纳米纤维的制备与表征[J]. 江苏科技大学学报, 2011, 25(4): 342-345, 353.
ZHANG Jing, HE Wei, MA Teng, et al. Preparation and characterization of PAN nanofibers by electrospinning[J]. Journal of Jiangsu University of Science and Technology, 2011, 25(4): 342-345, 353.
[19] LEE M J, KIM M B, KANG G C. A study on the cold ironing process for the drum clutch with inner gear shapes[J]. International Journal of Machine Tools and Manufacture, 2006, 46(6): 640-650.
[20] MUSHARAVATI F, HAMOUDA A. Enhanced simulated-annealing-based algorithms and their applications to process planning in reconfigurable manufacturing systems[J]. Advances in Engineering Software, 2011, 45(1): 80-90.
[21] 尹东霞, 马沛生, 夏淑倩. 液体表面张力测定方法的研究进展[J]. 科技通报, 2007, 137(3): 424-429, 433.
YIN Dongxia, MA Peisheng, XIA Shuqian. Research progress of liquid surface tension measurement methods[J]. Bulletin of Science and Technology, 2007, 137(3): 424-429, 433.
[22] 张大洋, 范文玉, 赵鸣玉. 滴体积法测定表面张力的快速计算[J]. 日用化学工业, 2001(1): 49-50, 56.
ZHANG Dayang, FAN Wenyu, ZHAO Mingyu. Rapid calculation of surface tension by drop volume method[J]. China Surfactant & Cosmetics Industry, 2001(1): 49-50, 56.
[23] DU X D, GENG C D, SUN J S, et al. Surface tension measurement by the drop volume method[J]. Key Engineering Materials, 2012, 1(501): 407-412.
[24] JIRSAK O, SANETRNIK F, LUKAS D, et al. Method of nanofibres production from a polymer solution using electrostatic spinning and a device for carrying out the method: US7585437[P]. 2009-9-8.
[1] WANG Yawen, LIU Na, WANG Yuanfei, WU Tong. Regulation of cell migration and vascularization using electrospun nanofiber yarns [J]. Journal of Textile Research, 2024, 45(12): 25-32.
[2] LU Hailong, YU Ying, ZUO Yuxin, WANG Haoran, CHEN Hongli, RU Xin. Preparation and properties of orientation reinforced CO2 corrosion resistant fiber membrane [J]. Journal of Textile Research, 2024, 45(12): 33-40.
[3] LEI Fuwang, FENG Qi, HOU Aohan, ZHAO Zhenhong, TAN Jiazhao, ZHAO Jing, WANG Xianfeng. Preparation and properties of polyvinylidene fluoride-polyacrylonitrile/SiO2 fibrous membrane with unidirectional water-transport function [J]. Journal of Textile Research, 2024, 45(12): 1-8.
[4] LIU Xia, WU Gaihong, YAN Zihao, WANG Cailiu. Preparation and properties of intelligent phase change thermoregulated polylactic acid fiber membrane [J]. Journal of Textile Research, 2024, 45(12): 18-24.
[5] WANG Yuhang, TAN Jing, LI Haoyi, XU Jinlong, YANG Weimin. Research progress in electrospinning technology for nanofiber yarns [J]. Journal of Textile Research, 2024, 45(11): 235-243.
[6] YUE Tiantian, ZHENG Shuai, HU Jing, LIU Yuqing, LIN Jinyou. Preparation of zein/ethylene-vinyl alcohol copolymer composite filter by electrostatic spinning and its air filtration performance [J]. Journal of Textile Research, 2024, 45(11): 21-28.
[7] LIU Yunpu, LIU Wei, WANG Liming, QIN Xiaohong. Progress in preparation methods and applications of electrospun three-dimensional nanofiber materials [J]. Journal of Textile Research, 2024, 45(11): 226-234.
[8] LIU Jian, DONG Shoujun, WANG Chenghao, LIU Yongru, PAN Shanshan, YIN Zhaosong. Electric field simulation and optimization on petal shaped electrospinning nozzle with multiple tips [J]. Journal of Textile Research, 2024, 45(10): 191-199.
[9] ZHANG Dianping, WANG Hao, LIN Wenfeng, WANG Zhenqiu. Simulation and design of multi-nozzle spinning device [J]. Journal of Textile Research, 2024, 45(10): 200-207.
[10] WANG Qingpeng, ZHANG Haiyan, WANG Yuting, ZHANG Tao, ZHAO Yan. Preparation and properties of polyethylene oxide/Al2O3 passive radiative cooling membrane [J]. Journal of Textile Research, 2024, 45(09): 33-41.
[11] QIAN Yang, ZHANG Lu, LI Chenyang, WANG Rongwu. Preparation and performance of electrospun sodium alginate composite nanofiber membranes [J]. Journal of Textile Research, 2024, 45(08): 18-25.
[12] LIU Jiawei, JI Dongxiao, QIN Xiaohong. Research progress in electrospun nanofiber materials for air filtration [J]. Journal of Textile Research, 2024, 45(08): 35-43.
[13] LIU Delong, WANG Hongxia, LIN Tong. Research progress in airflow-assisted electrospinning [J]. Journal of Textile Research, 2024, 45(08): 44-53.
[14] WANG Yongzheng, HUANG Lintao, SONG Fuquan. Process optimization and properties of petroleum pitch/polyacrylonitrile electrospun carbon nanofibers [J]. Journal of Textile Research, 2024, 45(08): 107-115.
[15] YAN Di, WANG Xuefang, TAN Wenping, GAO Guojin, MING Jinfa, NING Xin. Preparation of porous poly(L-lactic acid) nanofiber membranes with rich imidazole groups and dual performances in water purification [J]. Journal of Textile Research, 2024, 45(08): 116-126.
Viewed
Full text


Abstract

Cited

  Shared   
  Discussed   
No Suggested Reading articles found!