纺织学报 ›› 2021, Vol. 42 ›› Issue (03): 21-26.doi: 10.13475/j.fzxb.20200905306

• 特约专栏:针织物全流程平幅印染技术 • 上一篇    下一篇

基于均匀化理论的小变形纬编针织物线圈形态有限元分析

吕常亮1, 郝志远2, 陈慧敏1, 张慧乐1, 岳晓丽1()   

  1. 1.东华大学 机械工程学院, 上海 201620
    2.上海联影医疗科技有限公司 201800
  • 收稿日期:2020-09-21 修回日期:2020-12-22 出版日期:2021-03-15 发布日期:2021-03-17
  • 通讯作者: 岳晓丽
  • 作者简介:吕常亮(1995—),男,硕士生。主要研究方向为有限元分析技术在材料变形中的应用。
  • 基金资助:
    国家重点研发计划项目(2017YFB0309700);上海市工业互联网创新发展专项(2019-GYHLW-004)

Finite element analysis of loop shape in weft knitted fabrics with small deformation based on homogenization theory

LÜ Changliang1, HAO Zhiyuan2, CHEN Huimin1, ZHANG Huile1, YUE Xiaoli1()   

  1. 1. College of Mechanical Engineering, Donghua University, Shanghai 201620, China
    2. Shanghai United Imaging Medical Technology Co., Ltd., Shanghai 201800, China
  • Received:2020-09-21 Revised:2020-12-22 Online:2021-03-15 Published:2021-03-17
  • Contact: YUE Xiaoli

摘要:

为解决针织物在平幅印染过程中线圈拉伸易变形的问题,以纯棉纬编针织物为研究对象,基于小参数渐近展开和多尺度均匀化方法,建立针织物宏观-细观位移变化率和应变变化率的计算模型,分析低应变状态下针织物拉伸时线圈形态变化的规律。结果表明:针织物受均匀载荷拉伸时,线圈变形具有不均匀性,变化规律与线圈的空间位置、幅宽以及导布辊间距相关,凸形导布辊可以改善线圈变形状况的差异;针织物受均匀、非均匀载荷拉伸时的线圈形态变化量计算值与实测值趋势一致,最大偏差为9.6%。均匀化理论与有限元技术结合可以用于进一步分析多成分、多规格针织物的宏观-细观变形规律,为针织物平幅印染设备的张力控制、导布辊布局设计、变直径(凹凸辊)导布辊辊形开发提供理论参考。

关键词: 纬平针织物, 均匀化理论, 有限元分析, 线圈形态, 平幅印染

Abstract:

In order to explore the problem of easy deformation of knitted fabrics in the process of open-width printing and dyeing, a cotton plain weft knitted fabric was taken as the research object. Based on asymptotic expansion of small parameters and homogenization of multi-scale perturbation analysis under small strain, a calculation model for macroscopic and microscopic change rate of displacement and strain of the knitted fabric was built. The model was used to analyze the loop shape change under small deformation, and the results show that when the knitted fabric is stretched by uniform load, the deformation of the loop is non-uniform, and the deformation is related to the position of the loop, width and the distance between guide rollers. The convex cloth guide roller can improve the difference of loop deformation. The calculated value of loop deformation of knitted fabric is found consistent with the measured value under the uniform and non-uniform load, and the maximum error is 9.6%. This means that the combination of homogenization theory and finite element technology can be used to further analyze the macro and micro deformation of multi-component and multi-specification knitted fabrics, and it can also provide theoretical guidance for tension control of open-width printing and dyeing equipment of knitted fabric, and for the layout design of cloth guide rollers and development of roll shape (concave convex roller) of variable diameters.

Key words: weft plain knitted fabric, homogenization theory, finite element analysis, loop shape, open-width printing and dyeing

中图分类号: 

  • TS181

图1

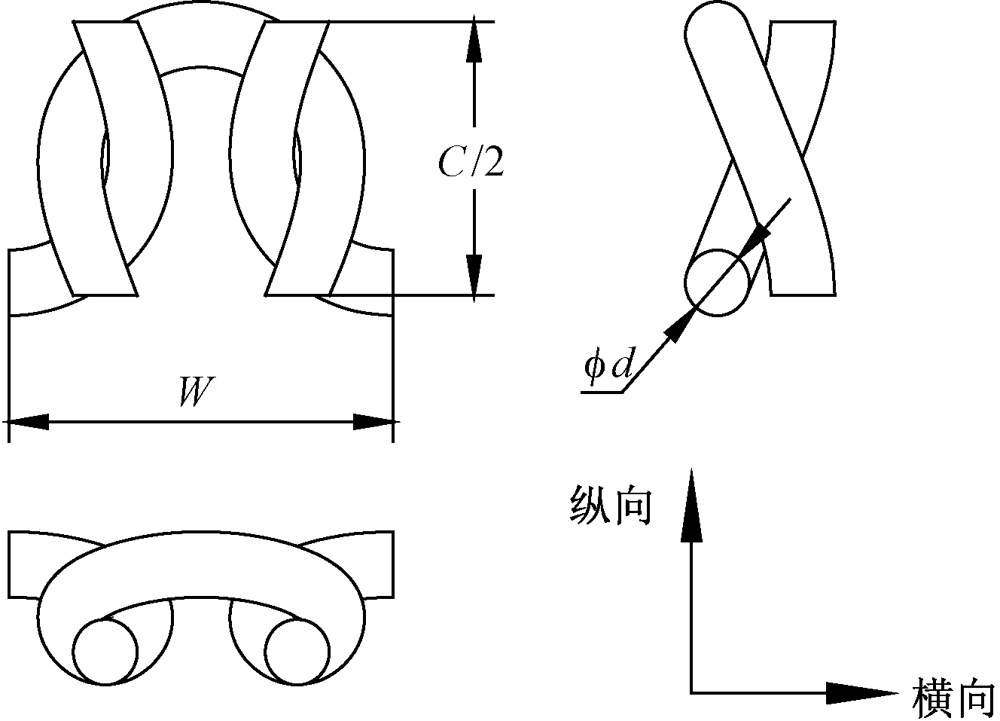
纬编针织物结构示意图"

图2

单胞模型示意图"

表1

纱线性能及织物结构参数"

E1/MPa E2(E3)/MPa G12(G13)/MPa G23/MPa v12(v13)
1 463 10 5.0 3.85 0.24
v23 摩擦因数 C/μm W/μm d/μm
0.3 0.486 568.67 407.89 149.66

图3

针织物宏-细观变形量求解示意图"

图4

计算及实测的位置点分布示意图"

图5

结构参数变化量的差值与幅宽关系"

图6

小张力拉伸测试平台"

图7

不同测量点处结构图像"

图8

线圈形态特征计算值与实测值对比"

图9

不同辊形下线圈形态特征计算值与实测值对比"

[1] STROHLE J, GURURA C N. 针织物的平幅加工[J]. 国际纺织导报, 2002,30(4):61-62.
STROHLE J, GURURASA C N. Open-width processing of knitted fabrics[J]. Melliand China, 2002,30(4):61-62.
[2] 何叶丽, 陈颖. 针织物的平幅加工[J]. 印染, 2004,30(1):48-49.
HE Yeli, CHEN Ying. Open-width processing of knitted fabrics[J]. China Dyeing & Finishing, 2004,30(1):48-49.
[3] MEISSNER M, EBERHARDT B. The art of knitted fabrics, realistic and physically based modelling of knitted patterns[J]. Computer Graphics Forum, 1998,17(3), 354-362.
[4] 张义同, 李翠玉, 熊成安, 等. 针织物沿织层方向拉伸时的不屈曲性[J]. 天津大学学报(自然科学与工程技术版), 2005(8):659-663.
ZHANG Yitong, LI Cuiyu, XIONG Chengan, et al. Non buckling of knitted fabrics under tension along the fabric layer[J]. Journal of Tianjin University(Natural Science and Engineering Technology Edition), 2005 (8):659-663.
[5] 宋广兴, 齐乐华, 李贺军. 均匀化方法在C/C复合材料中的应用研究[J]. 科学技术与工程, 2007,7(13):3081-3083,3091.
SONG Guangxing, QI Lehua, LI Hejun. Application of homogenization method in C/C composites[J]. Science Technology and Engineering, 2007,7(13):3081-3083, 3091.
[6] CAI Y, XU L, CHENG G. Novel numerical implementation of asymptotic homogenization method for periodic plate structures[J]. International Journal of Solids & Structures, 2014,51(1):284-292.
[7] 朱成超, 陈慧敏, 岳晓丽. 纬编针织物自然状态线圈单元卷曲模型[J]. 东华大学学报(自然学科版), 2019,36(1):36-45.
ZHU Chengchao, CHEN Huimin, YUE Xiaoli. Coil unit crimp model of weft knitted fabric in natural state[J]. Journal of Donghua University (Natural Science), 2019,36(1):36-45.
[8] 董纪伟, 冯淼林, 陈文, 等. 基于均匀化理论的三维编织复合材料弯曲细观应力数值模拟[J]. 材料科学与工程学报, 2010,22(6):801-805.
DONG Jiwei, FENG Miaolin, CHEN Wen, et al. Numerical simulation of bending meso stress of 3D braided composites based on homogenization theory[J]. Journal of Materials Science and Engineering, 2010,22(6):801-805.
[9] 刘健. 大变形条件下复合材料的均匀化理论及应用[D]. 北京:北京工业大学, 2009: 1-36.
LIU Jian. Homogenization theory and application of composites under large deformation[D]. Beijing: Beijing University of Technology, 2009: 1-36.
[1] 封端佩, 商元元, 李俊. 三维四向和五向编织复合材料冲击断裂行为的多尺度模拟[J]. 纺织学报, 2020, 41(10): 67-73.
[2] 武鲜艳, 申屠宝卿, 马倩, 金利民, 张威, 谢胜. 球形弹体冲击下三维正交机织物结构破坏机制有限元分析[J]. 纺织学报, 2020, 41(08): 32-38.
[3] 戴鑫, 李晶, 陈晨. 镀铜碳纤维丝束细观耐磨性的有限元仿真模拟[J]. 纺织学报, 2020, 41(06): 27-35.
[4] 尉腾祥, 李敏, 彭虹云, 付少海. 纬平针棉针织物平幅丝光条件与其线圈结构的关系[J]. 纺织学报, 2020, 41(04): 98-105.
[5] 尉腾祥, 李敏, 彭虹云, 付少海. 纬平棉针织物双向拉伸线圈形态分析[J]. 纺织学报, 2019, 40(11): 64-68.
[6] 马振萍, 毛志平, 钟毅, 徐红. 单面纬平针织物平幅轧蒸染色防卷边控制[J]. 纺织学报, 2019, 40(05): 91-96.
[7] 马倩 王可 金利民. 三维角联锁机织复合材料的冲击破坏有限元模拟分析[J]. 纺织学报, 2017, 38(07): 63-68.
[8] 李冠志 赵强 汪军 Gong Hugh . 纱线截面压缩变形仿真与验证[J]. 纺织学报, 2017, 38(02): 184-190.
[9] 杜梅 王春霞 董凯 金利民. 基于有限元的芯村增强材料抗冲击性能分析[J]. 纺织学报, 2015, 36(08): 62-67.
[10] 陈威亚 刘延波 王洋知 沈烨伟 郭岭岭. 多针头静电纺丝过程中电场强度与分布的有限元分析[J]. 纺织学报, 2014, 35(6): 1-0.
[11] 杜梅 王春霞 金利民. 施载方式对单向复合材料抗拉性能影响的有限元分析[J]. 纺织学报, 2014, 35(10): 55-0.
[12] 刘菁 王鑫. 影响静电纺丝电场强度的因素分析[J]. 纺织学报, 2013, 34(10): 6-0.
[13] 史伟民 未印 彭来湖 沈加海 张少民 陈华. 起毛机大扭矩平稳传动系统设计[J]. 纺织学报, 2012, 33(10): 134-140.
[14] 束永平;矫海静. 细纱机双皮圈牵伸装置的静态正压力分析[J]. 纺织学报, 2011, 32(4): 123-127.
[15] 王秋美;宋鹏飞;徐雪梅;邹志伟. 玄武岩纤维针织物的尺寸特性[J]. 纺织学报, 2011, 32(2): 40-43.
Viewed
Full text


Abstract

Cited

  Shared   
  Discussed   
No Suggested Reading articles found!