纺织学报 ›› 2022, Vol. 43 ›› Issue (10): 141-147.doi: 10.13475/j.fzxb.20210809207

• 服装工程 • 上一篇    下一篇

纸样技术在全成形斜裙编织工艺中的应用

徐艳华(), 袁新林   

  1. 常州大学 美术与设计学院, 江苏 常州 213164
  • 收稿日期:2021-08-24 修回日期:2022-06-24 出版日期:2022-10-15 发布日期:2022-10-28
  • 作者简介:徐艳华(1973—),女,教授,博士。主要研究方向为针织技术及针织服装设计。E-mail: xuyanhua@cczu.edu.cn
  • 基金资助:
    教育部人文社会科学研究项目(18YJA760068);江苏省教育科学“十三五”规划课题资助项目(D/2018/01/78);江苏省社会科学基金项目(17YSD001)

Application of paper pattern technology in knitting process of fully formed inclined skirt

XU Yanhua(), YUAN Xinlin   

  1. School of Art and Design, Changzhou University, Changzhou, Jiangsu 213164, China
  • Received:2021-08-24 Revised:2022-06-24 Published:2022-10-15 Online:2022-10-28

摘要:

为解决全成形斜裙样衣尺寸与客户要求之间误差过大问题,分析了全成形接片结构、编织工艺及尺寸误差产生原因,将梭织服装纸样技术运用于全成形斜裙纸样绘制及其腰口和下摆弧线长度获取中,运用扇形切展法和任意角度扇环法绘制纸样,以纸样剪移法和扇环弧长计算法获取弧线长度,并对2种纸样、2种弧长进行比较分析,演绎出更适用于全成形斜裙腰口和下摆弧线长度的直接理论计算方法。研究表明:扇形切展法与纸样剪移法的组合可用于获取斜裙腰口和下摆弧线的准确长度,而任意角度扇环法与扇环弧长计算法的组合,更可直接理论计算出斜裙腰口和下摆弧线长度,无需复杂而繁琐的纸样绘制、剪切和转移,缩短了试样时间,提高了试样效率。

关键词: 纸样技术, 全成形服装, 斜裙, 编织工艺, 接片工艺

Abstract:

In order to tackle the large error between the size of the fully formed inclined skirt sample and the customer's requirements, the fully formed panels structure, knitting process and the causes of the size error were analyzed. The paper pattern technology used for woven garments is applied to the pattern drawing and the arc length acquisition of the waist and hem for the fully formed inclined skirt. The pattern was drawn by fan-shaped cutting-spreading method and arbitrary angle fan-ring method. The arc length was obtained by the paper pattern cutting-moving method and the fan-ring arc length calculation method. The comparisons between the two types of paper patterns and between the two arcs lengths were carried out. A direct theoretical calculation method that is more suitable for the acquisition of the arc length was deduced. The results show that the combination of fan-shaped cutting-spreading method and paper pattern cutting-moving method can be used to obtain the accurate arc length, while the combination of arbitrary angle fan-ring method and fan-ring arc length calculation method can directly calculate the arc length without complex and cumbersome paper pattern drawing, cutting and moving. The sampling time is shortened and the efficiency is improved.

Key words: paper pattern technology, fully formed garment, inclined skirt, knitting process, panels technology

中图分类号: 

  • TS184.5

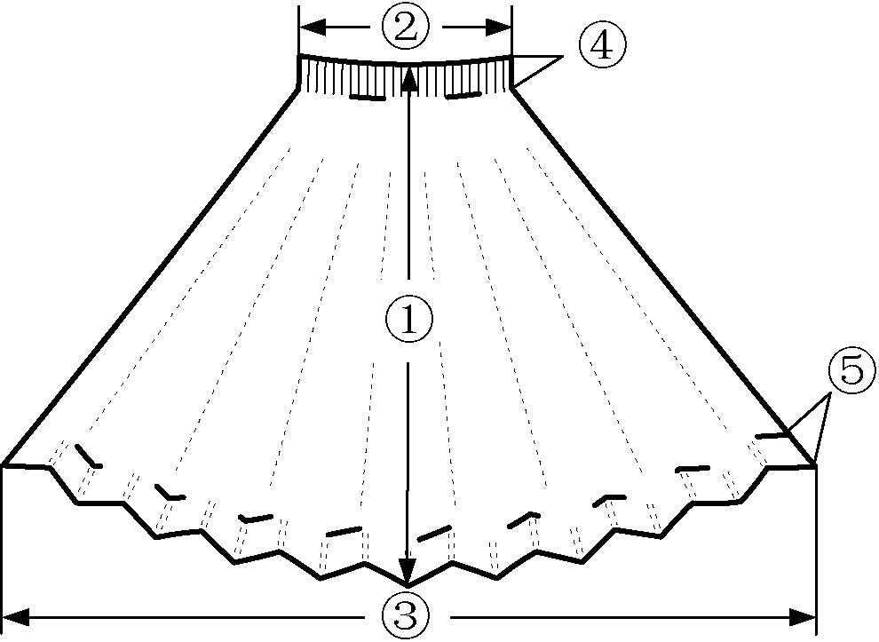
图1

全成形裙款式图"

表1

全成形裙子规格尺寸"

参数 参数编号 尺寸/cm
裙长 80
腰宽 32
下摆宽 125
腰口高 5
下摆高 5

表2

裙子各部位组织与密度"

部位 组织 横密/
(纵行·(10 cm)-1)
纵密/
(横列·(10 cm)-1)
裙身 1+1正反针 70.7 121
下摆 1+1正反针+移圈 121
腰口 1+1罗纹 122

图2

裙摆张角与裙片角"

图3

全成形斜裙结构及测量部位"

图4

接片到裙片示意图"

图5

扇形切展法"

图6

任意角度扇环法"

图7

纸样对比图"

图8

纸样剪移法"

图9

扇环弧长计算法"

表3

弧线长度比较"

弧线名称 弧线长度/cm 相对误
差/%
纸样剪移法 扇环弧长计算法
腰口弧线 33.7 33.85 0.45
下摆弧线 133.9 134.16 0.19

图10

全成形斜裙实物效果"

[1] 王敏, 丛洪莲, 蒋高明, 等. 四针床电脑横机的全成形工艺[J]. 纺织学报, 2017, 38(4): 62-63.
WANG Min, CONG Honglian, JIANG Gaoming, et al. Whole garment knitting process on four-bed computerized flat knitting machine[J]. Journal of Textile Research, 2017, 38(4): 62-63.
[2] 罗晓菊. 一体成型技术在服装中的应用与发展[J]. 现代纺织技术, 2019, 27(3): 56-61.
LUO Xiaoju. Application and development of integrated molding technologies in garment production.[J]. Advanced Textile Technology, 2019, 27(3): 56-61.
[3] 罗璇, 彭佳佳, 蒋高明, 等. 全成形毛衫样板设计及成形方法[J]. 纺织学报, 2018, 39(7): 105-110.
LUO Xuan, PENG Jiajia, JIANG Gaoming, et al. Design and knitting shaping method of fully-fashioned knit-wear[J]. Journal of Textile Research, 2018, 39(7): 105-110.
[4] 刘博, 丛洪莲. 四针床全成形休闲西服的工艺设计与成形原理[J]. 纺织学报, 2020, 41(4): 129-134.
LIU Bo, CONG Honglian. Process design and knitting principle of one-piece casual suits based on four-needle-bed flat knitting machine[J]. Journal of Textile Research, 2020, 41(4): 129-134.
[5] 刘博, 丛洪莲. 全成形西服横向编织技术的工艺模型与实现[J]. 纺织学报, 2020, 41(7): 53-58.
LIU Bo, CONG Honglian. Research and implementation of flat-bed knitting process model of fully formed suit[J]. Journal of Textile Research, 2020, 41(7): 53-58.
[6] 詹必钦, 丛洪莲, 吴光军. 全成形双层结构针织服装工艺模型研究与应用[J]. 纺织学报, 2021, 42(3): 149- 154, 160.
ZHAN Biqin, CONG Honglian, WU Guangjun. Research and application of process modeling of single-piece double-layer knitted garments[J]. Journal of Textile Research, 2021, 42(3): 149-154, 160.
[7] 任春. 裙子造型结构设计研究[J]. 纺织导报, 2014(2): 74-77.
REN Chun. Structural design of skirt shape[J]. China Textile Leader, 2014(2): 74-77.
[8] 刘博, 丛洪莲, 吴光军. 绢丝/羊绒混纺全成形针织服装的设计和开发[J]. 丝绸, 2020, 57(9): 114-119.
LIU Bo, CONG Honglian, WU Guangjun. Design and development of fully-formed garment based on silk/cashmere blend yarn[J]. Journal of Silk, 2020, 57(9): 114-119.
[9] 邱庄岩, 吴志明. 全成形毛衫接片工艺及应用[J]. 上海纺织科技, 2018, 46(7): 43-47.
QIU Zhuangyan, WU Zhiming. Panels technology and application of whole garment[J]. Shanghai Textile Science & Technology, 2018, 46(7): 43-47.
[10] 郑兴昱, 袁蓉. 基于针织全成形电脑横机智能技术的应用设计[J]. 上海纺织科技, 2019, 47(1): 1-5.
ZHENG Xingyu, YUAN Rong. Application design of intelligent manufacturing technology based on computerized knitting machine[J]. Shanghai Textile Science & Technology, 2019, 47(1): 1-5.
[11] 王莹莹, 王盼, 任婧媛. 全成形典型针织半身裙设计与成形工艺研究[J]. 丝绸, 2020, 57(11): 126-130.
WANG Yingying, WANG Pan, REN Jingyuan. Research on design and forming process of fully formed typical knitted skirt[J]. Journal of Silk, 2020, 57(11): 126-130.
[12] 徐利平, 崔毅华, 薛元. 织物性能与服装结构对喇叭裙外观形态的影响[J]. 纺织学报, 2008, 29(1): 91-93.
XU Liping, CUI Yihua, XUE Yuan. Influences of fabric property and garment construction on bell skirt appearance shape[J]. Journal of Textile Research, 2008, 29(1): 91-93.
[13] 李雅, 王建萍. 裙摆大小与侧缝偏移量关系研究[J]. 纺织科技进展, 2012(4): 86-89.
LI Ya, WANG Jianping. Study on the relationship between hem size and side seam offset[J]. Progress in Textile Science & Technology, 2012(4): 86-89.
[14] 王晓霞, 戴建国, 王春霞, 等. 青年女性体表角度分析[J]. 纺织学报, 2013, 34(7): 106-110.
WANG Xiaoxia, DAI Jianguo, WANG Chunxia, et al. Analyzing body shape of young women by use of body surface angles[J]. Journal of Textile Research, 2013, 34(7): 106-110.
[15] 卢致文, 牛梅. 基于纸样的毛衫装袖工艺计算方法[J]. 毛纺科技, 2017, 45(10): 12-16.
LU Zhiwen, NIU Mei. Study on the process calculation method of sweater sleeve based on paper pattern[J]. Wool Textile Journal, 2017, 45(10): 12-16.
[16] 张小雪, 王佳乐, 刘洋. 几种典型半身裙原型结构平衡的比较[J]. 国际纺织导报, 2020(6): 50-54.
ZHANG Xiaoxue, WANG Jiale, LIU Yang. Comparative research of the balance of typical skirt prototypes[J]. Melliand China, 2020(6): 50-54.
[17] 刘治君, 胡毅, 阳川. 波浪裙结构设计解析[J]. 纺织导报, 2014(7): 121-124.
LIU Zhijun, HU Yi, YANG Chuan. Research on the design of poodle skirt construction[J]. China Textile Leader, 2014(7): 121-124.
[18] 李健, 郑嵘, 蔡妮, 等. 斜裙形态与人体腰臀部形态的关系[J]. 北京服装学院学报(自然科学版), 2005, 25(4): 1-8.
LI Jian, ZHENG Rong, CAI Ni, et al. Relationship between the skirt shape and the waist-hip shape of human body[J]. Journal of Beijing Institute of Fashion Technology(Natural Science Edition), 2005, 25(4): 1-8.
[19] 赵媛媛, 王革辉. 喇叭裙丝绺方向及裙片数对造型效果的影响[J]. 西安工程大学学报, 2013, 27(5): 595-601.
ZHAO Yuanyuan, WANG Gehui. Effects of grain directions of fabrics and the number of skirt pieces on flared skirt appearance shape[J]. Journal of Xi'an Polytechnic University, 2013, 27(5): 595-601.
[1] 路丽莎, 蒋高明. 全成形针织服装三维款式向二维样板转化方法[J]. 纺织学报, 2022, 43(10): 133-140.
[2] 陈曦, 缪旭红, 刘青, 董智佳. 全成形Y形三通管织物编织工艺设计[J]. 纺织学报, 2021, 42(05): 73-78.
[3] 詹必钦, 丛洪莲, 吴光军. 全成形双层结构针织服装工艺模型研究与应用[J]. 纺织学报, 2021, 42(03): 149-154.
[4] 袁天行, 孙志宏, 吕宏展, 李雪清, 顾生辉. 无结网编织工艺研究[J]. 纺织学报, 2019, 40(09): 70-74.
[5] 路丽莎, 蒋高明, 罗璇. 全成形毛衫腋下拼角编织工艺及性能[J]. 纺织学报, 2019, 40(02): 69-75.
[6] 张志毅 贺辛亥 张婷 杨宏蕾 程稼稷. 三维异型整体编织底盘装置的设计[J]. 纺织学报, 2018, 39(12): 107-112.
[7] 邱庄岩 花芬 吴志明. 四针床全成形编织工艺及其应用[J]. 纺织学报, 2018, 39(08): 63-70.
[8] 马晓红 檀江涛 秦志刚. 碳纤维二维编织管状织物的编织工艺[J]. 纺织学报, 2018, 39(06): 64-69.
[9] 蒋高明 高哲 高梓越. 针织智能制造研究进展[J]. 纺织学报, 2017, 38(10): 178-183.
[10] 吴晓光 朱里 张驰 孔令学 万道玉. 零传动模式的高速轴向悬浮织针运动控制与试验分析[J]. 纺织学报, 2016, 37(4): 137-142.
[11] 徐艳华 杨婧. 纸样技术在非常规造型毛针织服装编织工艺中的应用[J]. 纺织学报, 2016, 37(08): 107-113.
[12] 李晓英 蒋高明 马丕波 聂小林. 三维横编间隔织物的编织工艺及其性能[J]. 纺织学报, 2016, 37(07): 66-70.
[13] 袁新林 徐艳华 周宁静. 折纸造型在毛衫花型设计中的应用[J]. 纺织学报, 2016, 37(05): 110-116.
[14] 苏丹 蒋高明 缪旭红. 三维整体经编夹芯结构预制件的制备工艺[J]. 纺织学报, 2013, 34(3): 59-65.
[15] 姚晓林. 纸样在羊毛衫编织工艺制定中的应用[J]. 纺织学报, 2008, 29(9): 98-102.
Viewed
Full text


Abstract

Cited

  Shared   
  Discussed   
No Suggested Reading articles found!