纺织学报 ›› 2021, Vol. 42 ›› Issue (03): 149-154.doi: 10.13475/j.fzxb.20200702107

• 服装工程 • 上一篇    下一篇

全成形双层结构针织服装工艺模型研究与应用

詹必钦, 丛洪莲(), 吴光军   

  1. 江南大学 教育部针织技术工程研究中心, 江苏 无锡 214122
  • 收稿日期:2020-07-08 修回日期:2020-12-10 出版日期:2021-03-15 发布日期:2021-03-17
  • 通讯作者: 丛洪莲
  • 作者简介:詹必钦(1994—),女,硕士生。主要研究方向为全成形针织服装设计与开发。
  • 基金资助:
    中央高校基本科研业务费专项资金资助项目(JUSRP52013B);国家自然科学基金项目(61902150)

Research and application of process modeling of single-piece double-layer knitted garments

ZHAN Biqin, CONG Honglian(), WU Guangjun   

  1. Engineering Research Center for Knitting Technology, Ministry of Education, Jiangnan University, Wuxi, Jiangsu 214122,China
  • Received:2020-07-08 Revised:2020-12-10 Online:2021-03-15 Published:2021-03-17
  • Contact: CONG Honglian

摘要:

为深入探讨全成形针织服装复杂款式结构,丰富全成形针织服装款式样板,研究了四针床全成形双层结构针织服装设计方法及编织工艺。在四针床全成形单层结构服装研究基础上,通过分析体型特征、人体运动松量和服装原型特征,设计出双层结构服装原型纸样。针对此纸样设计出一款典型双层结构上装,对其版型设计、工艺方法和成形原理进行分析。结果表明:从单层结构服装到双层结构服装转化过程中,里外层结构通过一体成形编织工艺形成款式造型;连接处模型有O型、X型、H型、XO型4种方式保持衣身平衡,以确保里外层连接处尺寸差的精确调整;细部模型通过集圈编织、局部编织形成;根据编织工艺参数及里外层服装在结构上的差异可得到适合人体曲线的全成形双层结构服装。

关键词: 针织, 全成形, 针织服装, 四针床, 双层结构, 编织工艺

Abstract:

In order to explore deeply the complex style structure of single-piece knitted garments and to enrich the models of single-piece knitted garments, the design method and knitting process of four-needle bed single-piece double-layer knitted garments were studied. On the basis of the research of the four-needle bed single-piece single-layer clothing, the prototype pattern of the double-layer clothing structure is designed through analyzing the characteristics of the human body shape, the looseness of the human body and the characteristics of the clothing prototype. A typical double-layer structure upper garment was designed based on the paper pattern, and its layout design, process method and forming principle were analyzed. The results show that in the process of transforming from a single-layer garment to a double-layer garment, the inner and outer layers are formed through an integrated knitting process to form a style model; the connection model has four ways to maintain the body balance: O, X, H and XO, and to ensures the precise adjustment of the size difference between the inner and outer layers; and the detailed model is formed by tuck knitting and partial knitting. According to the knitting process parameters and the structural difference between the inner and outer layers of clothing, a single-piece double-layer clothing suitable for the body curve is created.

Key words: knitting, single-piece garment, knitted garment, four-needle bed, double-layer structure, knitting process

中图分类号: 

  • TS181.8

图1

双层结构服装款式"

图2

全成形双层结构针织服装衣身示意图 N1,N1',L1,L1'分别表示里外层加松量后前后上胸宽;N2,N2',L2,L2'分别表示里外层加松量后胸围;N3,N3',L3,L3'分别表示里外层加松量后胸围;LCL,LCL'分别表示里外层衣长;f为肩斜角; 表示里外层样板轮廓; 表示外层展开时样板轮廓; 表示外层重叠时样板轮廓。 "

图3

双层结构上装款式图 1为吊带外层; 2为长袖套衫里层; 3和4为下摆及袖口罗纹编织区域; 5为口袋; 6为袖肘局部拼贴处。"

图4

外层服装单筒形结构模型 1为吊带编制区域; 2为大身下摆部分。"

图5

下摆2+2罗纹组织编织工艺 新线圈; 旧线圈; 翻针。 "

图6

肩部局部编织工艺"

图7

里层服装多筒形结构模型"

图8

明收针编织工艺"

图9

双层结构连接部位 ab段表示连接处长度;a'、b'表示端点变化位置;w表示外层连接处长度。"

图10

其他双层结构连接模型"

图11

口袋及袖肘边缘集圈编织工艺"

图12

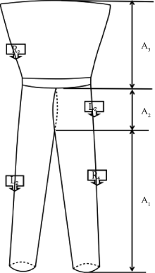
罩衫+吊带双层结构组合工艺模型"

图13

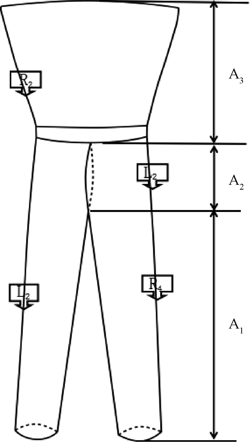
裙裤装双层结构组合工艺模型"

[1] 王敏, 丛洪莲, 蒋高明, 等. 四针床电脑横机的全成形工艺[J]. 纺织学报, 2017,38(4):61-67.
WANG Min, CONG Honglian, JIANG Gaoming, et al. Whole garment knitting process on four-bed computerized flat knitting machine[J]. Journal of Textile Research, 2017,38(4):61-67.
[2] 邱庄岩, 花芬, 吴志明. 四针床全成形编织工艺及其应用[J]. 纺织学报, 2018,39(8):63-70.
QIU Zhuangyan, HUA Fen, WU Zhiming. Process and application of full forming knitting with four-needle bed[J]. Journal of Textile Research, 2018,39(8):63-70.
[3] 邱庄岩, 吴志明, 蒋高明. 全成形毛衫肩袖成形工艺[J]. 纺织学报, 2018,39(3):56-60, 66.
QIU Zhuangyan, WU Zhiming, JIANG Gaoming. Forming process of shoulder and sleeves of whole garment[J]. Journal of Textile Research, 2018,39(3):56-60, 66.
[4] 路丽莎, 蒋高明, 罗璇. 全成形毛衫腋下拼角编织工艺及性能[J]. 纺织学报, 2019,40(2):69-75.
LU Lisha, JIANG Gaoming, LUO Xuan. Knitting process and properties analysis of underarm stitching of fully-fashioned garment[J]. Journal of Textile Research, 2019,40(2):69-75.
[5] 王盼, 吴志明. 全成形毛衫局部编织原理及其应用[J]. 纺织学报, 2019,40(5):41-46.
WANG Pan, WU Zhiming. Principle and application of partial knitting on fully formed sweater[J]. Journal of Textile Research, 2019,40(5):41-46.
[6] 彭佳佳, 蒋高明, 丛洪莲, 等. 全成形毛衫的结构与编织原理[J]. 纺织学报, 2017,38(11):53-60.
PENG Jiajia, JIANG Gaoming, CONG Honglian, et al. Structure and knitting principle of whole garment[J]. Journal of Textile Research, 2017,38(11):53-60.
[7] 罗璇, 彭佳佳, 蒋高明, 等. 全成形毛衫样板及成形方法[J]. 纺织学报, 2018,39(7):105-110.
LUO Xuan, PENG Jiajia, JIANG Gaoming, et al. Design and knitting shaping method of fully-fashioned knitwear[J]. Journal of Textile Research, 2018,39(7):105-110.
[8] 刘博, 丛洪莲. 四针床全成形休闲西服的工艺设计与成形原理[J]. 纺织学报, 2020,41(4):129-134.
LIU Bo, CONG Honglian. Process design and knitting principle of one-piece casual suits based on four-needle-bed flat knitting machine[J]. Journal of Textile Research, 2020,41(4):129-134.
[9] 张卫红. 在电脑横机上编织整件毛衫的原理及工艺[J]. 针织工业, 2004(5):48-50.
ZHANG Weihong. Theory and process of the whole knitted wear on the computer computerized flat knitting machine[J]. Knitting Industries, 2004(5):48-50.
[10] 孟海涛. 电脑横机拷针的工艺创新[J]. 针织工业, 2010(9):67-68.
MENG Haitao. Technological innovation of computer flat knitting machine[J]. Knitting Industries, 2010(9):67-68.
[1] 张陈恬, 赵连英, 顾学锋. 中空咖啡碳聚酯纤维/棉混纺纬平针织物的服用性能[J]. 纺织学报, 2021, 42(03): 102-109.
[2] 杨阳, 俞欣, 章为敬, 张佩华. 针织面料凉爽性能的评价方法及其预测模型[J]. 纺织学报, 2021, 42(03): 95-101.
[3] 吕常亮, 郝志远, 陈慧敏, 张慧乐, 岳晓丽. 基于均匀化理论的小变形纬编针织物线圈形态有限元分析[J]. 纺织学报, 2021, 42(03): 21-26.
[4] 丁子寒, 邱华. 纳米二氧化硅改性水性聚氨酯防水透湿涂层织物的制备及其性能[J]. 纺织学报, 2021, 42(03): 130-135.
[5] 刘立东, 李新荣, 刘汉邦, 李丹丹. 基于纬编针织物特性的静电吸附力模型[J]. 纺织学报, 2021, 42(03): 161-168.
[6] 刘丽宾, 吕汪洋, 陈文兴. 棉针织物漂白中铜配合物催化降解木质素及其模型化合物[J]. 纺织学报, 2021, 42(03): 1-8.
[7] 张滕家璐, 吴伟, 钟毅, 毛志平, 徐红. 平幅前处理对棉针织物染色性能的影响[J]. 纺织学报, 2021, 42(03): 9-13.
[8] 孙亚博, 李立军, 马崇启, 吴兆南, 秦愈. 基于ABAQUS的筒状纬编针织物拉伸力学性能模拟[J]. 纺织学报, 2021, 42(02): 107-112.
[9] 刘海桑, 蒋高明, 董智佳. 基于Web的少梳经编色织物仿真与虚拟展示[J]. 纺织学报, 2021, 42(02): 87-92.
[10] 杨萍, 严飙, 马丕波. 网状结构织物制备与应用研究进展[J]. 纺织学报, 2021, 42(01): 175-180.
[11] 赵博宇, 梁鑫花, 丛洪莲. 电脑横机编织三维全成形口罩结构建模与工艺实践[J]. 纺织学报, 2020, 41(12): 59-65.
[12] 戴宁, 彭来湖, 胡旭东, 崔英, 钟垚森, 王越峰. 纬编针织机织针自由状态下固有频率测试方法[J]. 纺织学报, 2020, 41(11): 150-155.
[13] 李新彤, 高哲, 顾洪阳, 丛洪莲. 针织西服面料的挺括风格研究[J]. 纺织学报, 2020, 41(11): 53-58.
[14] 孙岑文捷, 倪军, 张昭华, 董婉婷. 针织运动服的通风设计与热湿舒适性评价[J]. 纺织学报, 2020, 41(11): 122-127.
[15] 李冬冬, 张成俊, 左小艳, 张弛, 李红军, 周向阳. 混合磁悬浮织针驱动的永磁织针磁场分布规律[J]. 纺织学报, 2020, 41(09): 136-142.
Viewed
Full text


Abstract

Cited

  Shared   
  Discussed   
No Suggested Reading articles found!