纺织学报 ›› 2023, Vol. 44 ›› Issue (01): 93-99.doi: 10.13475/j.fzxb.20211003707

• 纤维材料 • 上一篇    下一篇

熔喷气流场中的纤维运动模拟与分析

韩万里1,2(), 谢胜2, 王新厚3, 王玉栋4   

  1. 1.浙江省纱线材料成形与复合加工技术研究重点实验室, 浙江 嘉兴 314000
    2.嘉兴学院 材料与纺织工程学院, 浙江 嘉兴 314000
    3.东华大学 机械工程学院, 上海 201620
    4.广西科技大学, 广西 柳州 545026
  • 收稿日期:2021-10-19 修回日期:2022-05-06 出版日期:2023-01-15 发布日期:2023-02-16
  • 作者简介:韩万里(1983—),男,副教授,博士。主要研究方向为微纳米纤维成形及制备技术。E-mail:wlhan@zjxu.edu.cn
  • 基金资助:
    浙江省自然科学基金项目(LY22E060005);嘉兴市科技局公益项目(2022AY10023);浙江省纱线材料成形与复合加工技术研究重点实验室项目(MTC2022-08);国家自然科学基金项目(51776034);广西科技基地和人才专项(2021AC19425)

Simulation and analysis of fiber motion in airflow field of melt blowing

HAN Wanli1,2(), XIE Sheng2, WANG Xinhou3, WANG Yudong4   

  1. 1. Key Laboratory of Yarn Materials Forming and Composite Processing Technology, Jiaxing, Zhejiang 314000, China
    2. College of Materials and Textile Engineering, Jiaxing University, Jiaxing, Zhejiang 314000, China
    3. College of Mechanical Engineering, Donghua University, Shanghai 201620, China
    4. Guangxi University of Science & Technology, Liuzhou, Guangxi 545026, China
  • Received:2021-10-19 Revised:2022-05-06 Published:2023-01-15 Online:2023-02-16

摘要:

为探究纤维在熔喷气流场中的牵伸运动过程,对熔喷气流场和纤维牵伸过程进行数值模拟。分析了熔喷气流场的分布特点,采用欧拉-拉格朗日法建立了熔喷纤维牵伸力学模型,获得熔喷纤维在气流场中的运动轨迹、牵伸倍数等信息;利用高速摄影机捕获了纤维在熔喷气流场中的运动轨迹并验证了模拟结果。结果表明:熔喷喷嘴下方存在气流回旋区,气流场分为射流单独流动区、射流汇合融合区和射流合并区;熔喷纤维的牵伸倍数先增加后减小,纤维运动在射流单独流动区出现鞭动,在射流合并区中存在纤维折叠成圈现象;射流汇合融合区是纤维细化的主要区域,该区域内纤维鞭动增加,牵伸倍数最大;验证实验中纤维运动中的鞭动、折叠成圈和运动轨迹与模拟结果一致。

关键词: 熔喷技术, 熔喷纤维, 气流场, 纤维模型, 运动轨迹, 欧拉-拉格朗日法

Abstract:

Objective In the melt blowing process, the polymer melt is attenuated and formed into microfiber in the high velocity airflow field, the fiber motion together with the airflow field play an important role in the fiber formation. The complex interplay between air velocity and polymer motion can affect the final fiber quality, and the velocity and distribution of the airflow requires study and analysis. The information of fiber motion is sought to reveal the mechanism of the formation of microfibers during melt blowing process. It is essential to understand and optimize the melt blowing process.
Method The airflow field was simulated with the computational fluid dynamic approach for the melt blowing process. The characteristics of distribution for airflow field were investigated, with attentions paying to the airflow alone zone, airflow confluence zone and airflow merge zone. The fiber was modeled using mixed Euler-Lagrange approach, and the motion was predicted in the melt blowing process. The standard linear solid (SLS) models in the bead-viscoelastic fiber element were proposed for melt blown fiber formation simulation. The simulated fiber motion was compared with the fiber motion in experiment, which was captured with a high-speed camera.
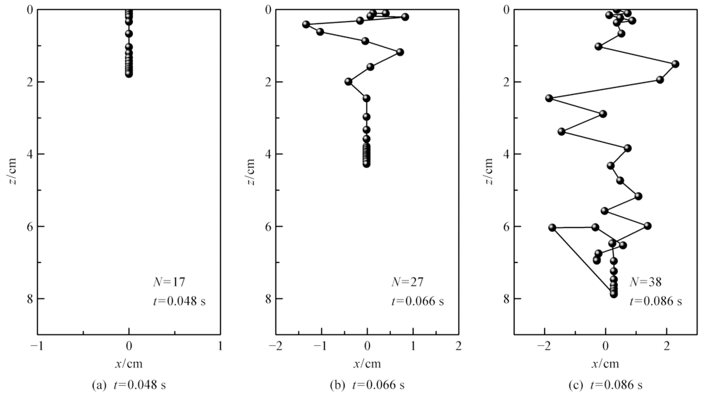
Results The simulation results show that there are two airflow recirculation zones between the converging jets for the melt blowing slot-die. The recirculation zones are in a subtriangular area near the die face and are filled with hot air (Fig.3). It is important for not only rapid fiber attenuation but also energy conservation. The melt blowing airflow field is divided into the airflow alone, the airflow contact fusion zone and the airflow merge zone. The distribution of the airflow field causes the airflow velocity to vary at different positions. At x=0 mm and z<1 mm, the airflow velocity fluctuates because there is a recirculation area of the airflow under the melt blowing die. When z>1 mm, the airflow velocity increases first and then decreases. The maximum air velocity is 165.88 m/s at z=5 mm, indicating that the two airflows merge together (Fig.4). For the melt blowing fiber motion simulation, it is found that the airflow turbulent fluctuations are related to the fiber motion in the melt blowing process. The fiber path shows a small perturbation developing into the whipping in the airflow zone alone. As the fibers continue to move, there is fiber crossing and loop formation in the airflow merging zone. In the airflow contact fusion zone, the fiber whipping increases and the drawing ratio is the largest (Fig.5, Fig.6), and this is the main zone of fiber refinement. The fiber motion is also recorded and observed using high-speed camera. In the beginning, the fiber is a straight segment and fluctuates, and then the trajectory forms the fiber loop in the move path. The fiber loops are drawn and elongated in the airflow field. The elongation of the fiber loop results in the attenuation on fiber diameter (Fig.7). The whipping, folding into loops and trajectories of fiber motion are consistent with the simulation results.
Conclusion The airflow field for the melt blown slot-die is simulated. There are three airflow distribution zones: the airflow alone, the airflow contact fusion zone and the airflow merge zone. The distribution of the airflow field has an important influence on the fiber motion. The motion process of the fiber in the melt blowing airflow field is simulated and analyzed using the Euler-Lagrange method. It is pointed out that the melt blowing fiber was divided into three stages in the drawing process. The polymer jet appears with the whipping motion in the airflow alone and the whipping of fiber increases in the airflow contact fusion zone. The fiber movement appears to cross and fold into loops in the airflow merge zone. The motion of the melt blowing fibers is also captured by high-speed camera experiments. It is found that the continuous semi-annular loops appear during the fiber forming process, and the whipping of fiber has an important effect on fiber attenuation. Using airflow simulation and fiber model, fiber attenuation is known to be strongly dependent on airflow field and fiber motion. This work provides an insight that the melt blowing airflow field and the fiber attenuation which gives a useful understanding for the melt blowing fiber formation.

Key words: melt blowing technology, melt-blown fiber, airflow field, fiber model, motion trajectory, Euler-Lagrange approach

中图分类号: 

  • TS174.1

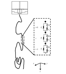
图1

双槽型熔喷模头结构示意图及模型计算区域"

图2

熔喷纤维黏弹性珠链模型"

图3

双槽型熔喷模头气流速度分布图"

图4

气流在距熔喷模头不同位置处的速度分布图"

图5

模拟过程中熔喷纤维不同时刻的运动轨迹"

图6

熔喷纤维模型的牵伸倍数"

图7

熔喷过程中不同时刻熔喷纤维的运动轨迹"

[1] 孟庆兴. 熔喷非织造技术的发展与应用现状[J]. 聚酯工业, 2020, 33(3): 16-19.
MENG Qingxing. Development and application of melt-blown nonwoven technology[J]. Polyester Industry, 2020, 33(3): 16-19.
[2] 周晴, 李丽, 魏安海, 等. 医用口罩熔喷层非油性颗粒过滤效率和纤维形态的相关性分析[J]. 中国医学装备, 2020, 17(10): 194-196.
ZHOU Qing, LI Li, WEI Anhai, et al. Correlation analysis on the filter efficiency and fiber morphology of non-oiliness particle of melt-blown nonwovens of medical mask[J]. China Medical Equipment, 2020, 17(10): 194-196.
[3] 覃俊, 陈丽萍, 何勇. 聚苯硫醚熔喷超细纤维的应用前景展望[J]. 纺织科技进展, 2020(10): 1-5.
QIN Jun, CHEN Liping, HE Yong. Application prospect of poly(p-phenylene sulfide) melt blown superfine fiber[J]. Progress in Textile Science & Technology, 2020(10): 1-5.
[4] 孙焕惟, 张恒, 甄琪, 等. 丙烯基纳微米弹性过滤材料的熔喷成型及其过滤性能[J]. 纺织学报, 2020, 41(10): 20-28.
SUN Huanwei, ZHANG Heng, ZHEN Qi, et al. Filtrations of propylene-based micro-nano elastic filters via melt blowing process[J]. Journal of Textile Research, 2020, 41(10): 20-28.
[5] 刘禹豪, 孙辉, 王捷琪, 等. TiO2/MIL-88B(Fe)/聚丙烯复合熔喷非织造材料的制备及其性能[J]. 纺织学报, 2020, 41(2): 95-102.
LIU Yuhao, SUN Hui, WANG Jieqi. Preparation of TiO2/MIL-88B(Fe)/polypropylene composite melt-blown nonwovens and study on dye degradation properties[J]. Journal of Textile Research, 2020, 41(2): 95-102.
[6] LI H, HUANG H, ZENG Y. Effects of compatibilizer and airflow field on the formation of helical microfibers via melt blowing[J]. Journal of Polymer Science Part B: Polymer Physics, 2019, 57(21): 1423-1433.
doi: 10.1002/polb.24887
[7] YANG Y, ZENG Y. Simultaneous measurement in nonisothermal melt-blowing airflow field: time-averaged and turbulent characteristics[J]. Industrial & Engineering Chemistry Research, 2020, 59(22): 10664-10672.
doi: 10.1021/acs.iecr.0c01278
[8] XIE S, ZENG Y. Turbulent air flow field and fiber whipping motion in the melt blowing process: experimental study[J]. Industrial & Engineering Chemistry Research, 2012, 51(14): 5346-5352.
doi: 10.1021/ie202938b
[9] 孙亚峰. 微纳米纤维纺丝拉伸机理的研究[D]. 上海: 东华大学, 2010:25-40.
SUN Yafeng. Investigation of macro nano fiber formation[D]. Shanghai: Donghua University, 2010:25-40.
[10] ZENG Y C, SUN Y F, WANG X H. Numerical approach to modeling fiber motion during melt blowing[J]. Journal of Applied Polymer Science, 2011, 119(4): 2112-2123.
doi: 10.1002/app.32921
[11] WIELAND M, ARNE W, MARHEINEKE N, et al. Melt-blowing of viscoelastic jets in turbulent airflows: stochastic modeling and simulation[J]. Applied Mathematical Modelling, 2019, 76(12): 558-577.
doi: 10.1016/j.apm.2019.06.023
[12] XIE S, ZENG Y. Online measurement of fiber whipping in the melt blowing process[J]. Industrial & Engineering Chemistry Research, 2013, 52(5): 2116-2122.
doi: 10.1021/ie3024615
[13] HAN W, BHAT G S, WANG X. Investigation of nanofiber breakup in the melt blowing process[J]. Industrial & Engineering Chemistry Research, 2016, 55(11): 3150-3156.
doi: 10.1021/acs.iecr.5b04472
[14] SOLTANI I, MACOSKO C W. Influence of rheology and surface properties on morphology of nanofibers derived from islands-in-the-sea meltblown nonwovens[J]. Polymer, 2018, 145(6): 21-30.
doi: 10.1016/j.polymer.2018.04.051
[15] 姬长春, 张开源, 王玉栋, 等. 熔喷三维气流场的数值计算与分析[J]. 纺织学报, 2019, 40(8): 175-180.
JI Changchun, ZHANG Kaiyuan, WANG Yudong, et al. Numerical calculation and analysis of three-dimensional flow field in melt-blown process[J]. Journal of Textile Research, 2019, 40(8): 175-180.
[16] HAN W, XIE S, SHI J, et al. Study on airflow field and fiber motion with new melt blowing die[J]. Polymer Engineering & Science, 2019, 59(6): 1182-1189.
[17] KRUTKA H M, SHAMBAUGH R L, PAPAVASSILOU D V. Analysis of a melt blowing die: comparison of CFD and experiments[J]. Industrial & Engineering Chemistry Research, 2002, 41(20): 5125-5138.
doi: 10.1021/ie020366f
[18] KRUTKA H M, SHAMBAUGH R L, PAPAVASSILOU D V. Effects of temperature and geometry on the flow field of the melt blowing process[J]. Industrial & Engineering Chemistry Research, 2004, 43(15): 4199-4210.
doi: 10.1021/ie040043e
[19] HAN W, WANG X. Modeling melt blowing fiber with different polymer constitutive equations[J]. Fibers and Polymers, 2016, 17(1): 74-79.
doi: 10.1007/s12221-016-5721-7
[20] MATSUI M. Air drag on a continuous filament in melt spinning[J]. Transactions of the Society of Rheology, 1976, 20(3): 465-473.
doi: 10.1122/1.549434
[21] CHUNG C, KUMAR S. Onset of whipping in the melt blowing process[J]. Journal of Non-Newtonian Fluid Mechanics, 2013, 192: 37-47.
doi: 10.1016/j.jnnfm.2012.10.005
[1] 谭林立, 秦柳, 李英儒, 邓伶俐, 谢知音, 李时东. 基于超临界二氧化碳的高效低阻聚丙烯熔喷纤维制备及其性能[J]. 纺织学报, 2023, 44(01): 87-92.
[2] 杨瑞华, 何闯, 龚新霞, 陈鹤文. 转杯纺分梳排杂区的气流场数值模拟[J]. 纺织学报, 2022, 43(10): 31-35.
[3] 汪军, 史倩倩, 李玲, 张玉泽. 双喂给双分梳转杯纺技术研究进展[J]. 纺织学报, 2022, 43(08): 12-20.
[4] 史倩倩, 王姜, 张玉泽, 林惠婷, 汪军. 转杯纺纱器气流场形成机制的数值分析[J]. 纺织学报, 2021, 42(02): 180-184.
[5] 初曦, 邱华. 不同压强条件下环锭旋流喷嘴内部流场模拟[J]. 纺织学报, 2020, 41(09): 33-38.
[6] 孙光武, 李杰聪, 辛三法, 王新厚. 基于非牛顿流体本构方程的熔喷纤维直径预测[J]. 纺织学报, 2019, 40(11): 20-25.
[7] 张恒, 甄琪, 刘雍, 宋卫民, 刘让同, 张一风. 嵌入式聚丙烯/聚乙二醇微纳米纤维材料的结构特征及其气固过滤性能[J]. 纺织学报, 2019, 40(09): 28-34.
[8] 广少博, 金玉珍, 祝晓晨. 喷气织机延伸喷嘴内气流场特性分析[J]. 纺织学报, 2019, 40(04): 135-139.
[9] 尚珊珊, 郁崇文, 杨建平, 钱希茜. 喷气涡流纺纺纱过程中的气流场数值模拟[J]. 纺织学报, 2019, 40(03): 160-167.
[10] 林惠婷 汪军. 纤维在输纤通道气流场中运动的模拟[J]. 纺织学报, 2018, 39(02): 55-61.
[11] 韩晨晨 程隆棣 高卫东 薛元 杨瑞华. 基于有限元模型的喷气涡流纺纤维运动轨迹模拟[J]. 纺织学报, 2018, 39(02): 32-37.
[12] 刘超 杨瑞华 薛元 高卫东. 凝聚槽类型对转杯内气流场影响的数值模拟[J]. 纺织学报, 2017, 38(05): 128-133.
[13] 吴晓光 朱里 张驰 孔令学 万道玉. 零传动模式的高速轴向悬浮织针运动控制与试验分析[J]. 纺织学报, 2016, 37(4): 137-142.
[14] 刘超 杨瑞华 王鸿博 高卫东. 转杯纺纱通道三维流场的数值模拟[J]. 纺织学报, 2016, 37(09): 145-150.
[15] 辛三法 王新厚 胡守忠. 双槽熔喷工艺中外沿长度对空气流场的影响[J]. 纺织学报, 2015, 36(04): 71-75.
Viewed
Full text


Abstract

Cited

  Shared   
  Discussed   
[1] 【分类号】:Z【DOI】:cnki:ISSN:0-.0.00-0-0【正文快照】:  一;纺 纱模糊控制纺纱张力的研究周光茜等 ( - )………………原棉含杂与除杂效果评价方法的研究于永玲 ( - )……网络长丝纱免浆免捻功能的结构表征方法李栋高等 ( - )……………. 2003年纺织学报第二十四卷总目次[J]. 纺织学报, 2003, 24(06): 109 -620 .
[2] 张金秋;张华;郝新敏;姜凤琴. 大麻纤维高温煮练时间与脱胶质量的关系[J]. 纺织学报, 2006, 27(2): 81 -83 .
[3] 吕荣文;高崑玉. 超细纤维用分散染料染色性能研究[J]. 纺织学报, 2004, 25(04): 60 -61 .
[4] 陈维国;戴瑾瑾;王俊苏;贾成通;汪智勇;孟照成. 高耐光色牢度还原染料对涤纶织物的热熔法染色[J]. 纺织学报, 2008, 29(9): 82 -86 .
[5] 李重;. 双圆弧在服装纸样设计中的应用[J]. 纺织学报, 2005, 26(5): 101 -102 .
[6] 崔毅华. 玄武岩连续纤维的基本特性[J]. 纺织学报, 2005, 26(5): 120 -121 .
[7] 李发学;张广平;吴丽莉;俞建勇. 三羟甲基乙烷/新戊二醇二元体系的DSC研究[J]. 纺织学报, 2004, 25(05): 59 -60 .
[8] 周赳;吴文正. 有彩数码提花织物的创新设计原理和方法[J]. 纺织学报, 2006, 27(5): 6 -9 .
[9] 李利君;蒲宗耀;李风;王桦;兰彬. 聚苯硫醚纤维的热降解动力学[J]. 纺织学报, 2010, 31(12): 4 -8 .
[10] 焦亚男;李嘉禄. 异制件用三维编织复合材料的拉伸性能[J]. 纺织学报, 2006, 27(9): 1 -4 .