纺织学报 ›› 2024, Vol. 45 ›› Issue (11): 46-54.doi: 10.13475/j.fzxb.20230804201

• 纤维材料 • 上一篇    下一篇

碳纳米管修饰三维纤维网非织造布传感器的制备及其性能

张蕊1,2, 应迪2, 陈冰冰2, 田欣2, 郑莹莹2, 王建1,2(), 邹专勇1,2   

  1. 1.绍兴文理学院 浙江省清洁染整技术研究重点实验室, 浙江 绍兴 312000
    2.绍兴文理学院 绍兴市高性能纤维及制品重点实验室, 浙江 绍兴 312000
  • 收稿日期:2023-08-18 修回日期:2024-05-09 出版日期:2024-11-15 发布日期:2024-12-30
  • 通讯作者: 王建(1989—),男,讲师,博士。主要研究方向为智能可穿戴纺织品。E-mail:jwang@usx.edu.cn
  • 作者简介:张蕊(2000—),女,硕士生。主要研究方向为纤维基传感器件的制备。
  • 基金资助:
    浙江省大学生科技创新活动计划(新苗人才计划)项目(2023R465032);国家级大学生创新创业训练计划项目(202310349047);浙江省教育厅一般科研项目(Y202351466)

Preparation and properties of carbon nanotube modified three-dimensional fiber-mesh nonwoven sensors

ZHANG Rui1,2, YING Di2, CHEN Bingbing2, TIAN Xin2, ZHENG Yingying2, WANG Jian1,2(), ZOU Zhuanyong1,2   

  1. 1. Key Laboratory of Clean Dyeing and Finishing Technology of Zhejiang Province, Shaoxing University, Shaoxing, Zhejiang 312000, China
    2. Shaoxing Key Laboratory of High Performance Fibers & Products, Shaoxing University, Shaoxing, Zhejiang 312000, China
  • Received:2023-08-18 Revised:2024-05-09 Published:2024-11-15 Online:2024-12-30

摘要: 为改善柔性可穿戴压力传感器在使用时灵敏度低、耐久性差、柔韧舒适性不足等问题,提出了一种基于预针刺-热加固技术制备的三维聚乙烯/聚丙烯热熔纤维与涤纶非织造布为基材的高灵敏、较耐磨的压阻传感器。使用扫描电子显微镜、数显推拉力计和数字万用表等仪器表征了碳纳米管修饰三维纤维网非织造布前后的微观形貌、力电学性能和传感性能。结果表明:柔性纺织传感器在低压力范围(0~0.17 kPa)内的灵敏度高达0.91 kPa-1;能在73 ms内实现对压力的快速响应;具有0~166 kPa较宽的感测范围,在超过2 000次施压循环后仍然保持较稳定的相对电阻变化,表现出较优异的耐久性。此外,该传感器可应用于信息加密,监测人体微弱活动(眨眼、吞咽)和大形变运动(关节活动等)。在健康监测、人机交互、语音识别和手写字识别等领域具有广阔的应用前景。

关键词: 聚乙烯/聚丙烯热熔纤维, 三维纤维网非织造布, 碳纳米管, 压阻式传感器, 传感性能, 健康监测

Abstract:

Objective Flexible sensors, as core components of flexible smart wearable devices, have a promising future in many fields. However, a common problem is that lower sensitivity and poor durability affect the performance of flexible sensors. In order to improve the problems of low sensitivity, poor durability, and lack of flexibility and comfort in the use of flexible wearable pressure sensors, a highly sensitive and more wear-resistant piezoresistive sensor based on a three-dimensional (3-D) fiber mesh nonwovens prepared from polyethylene/polypropylene hot-melt fibers with polyester fibers was proposed.

Method Firstly, three-dimensional fiber mesh nonwovens were prepared by blending polyethylene/polypropylene hot-melt fibers with polyester fibers, which were pre-strengthened and heated to shape. Then, using piezoresistive sensing as its basic principle, carbon nanotube/nonwoven (CNN) sensors were prepared by immersing 3-D fiber mesh nonwovens into CNT suspension for surface treatment through ultrasonic-assisted modification and impregnation-drying method. Scanning electron microscopy, DM6500 series digital multimeter, and homemade tensile tester were used to characterise and analyse the CNT-modified CNN sensors.

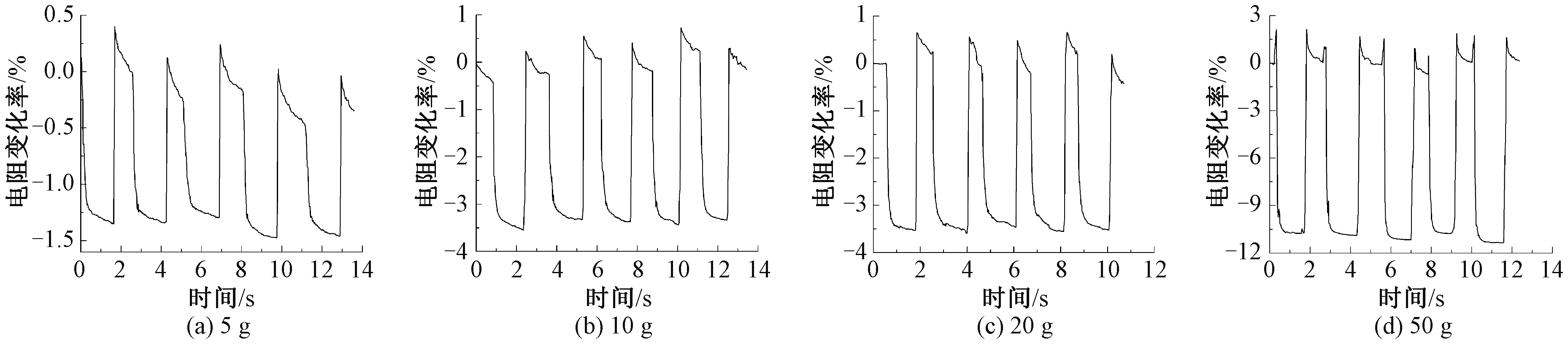
Results Nonwovens with four different hot-melt fiber proportions (5%, 10%, 20% and 25% by mass), denoted as CNN5, CNN10, CNN20 and CNN25, were prepared, and four different proportions of CNT-modified nonwovens sensors were compared for sensitivity and sensing performance. The results showed that the sensitivity would decrease with increasing hot-melt fiber proportion and pressure, attributing to the increase in fiber density leading to higher compression modulus. The polyester hot-melt nonwoven fabric with a base of CNN5 has the highest sensitivity up to 0.91 kPa-1 in the range of 0-0.17 kPa, 3.5×10-3 kPa-1 in the range of 0.17-53.65 kPa and 4.8×10-4 kPa-1 in the range of 53.65-166 kPa. Sensing performance studies of the CNN sensors showed that the sensor exhibited a stable dynamic signal response when pressure was continuously applied and released using weights with different forces, demonstrating that the sensor is able to accurately discriminate between different pressures and has a fast response and recovery time (73/122 ms). In addition to high durability (>2 000 cycles), the CNN sensors can also be applied to information encryption, monitoring of human physiological signals, speech monitoring and handwriting monitoring, and multi-site sensing arrays.

Conclusion The above characterization shows that the sensing performance of CNN sensors prepared from 3-D fiber mesh nonwovens modified by CNT is significantly improved. The experimental results show that the CNN sensors have higher sensitivity, faster response time and more stable durability due to the unique 3-D structure of the fiber mesh nonwovens. It can be used to monitor human physiological signals, voice signals as well as handwriting signals. In the future, by collecting a large number of data signals and using machine learning to train and predict their signals, it will pave the way for health monitoring, speech recognition, handwriting recognition and other fields.

Key words: polyethylene/polypropylene hot melt fiber, three-dimensional fiber mesh nonwoven, carbon nanotube, piezoresistive sensor, sensing property, health monitoring

中图分类号: 

  • TS106

图1

CNN传感器示意图"

图2

CNT处理前后CNN的SEM照片"

图3

CNN传感器灵敏度"

图4

CNN传感器的响应机制图"

图5

CNN传感器对不同质量的响应"

图6

CNN传感器的性能"

图7

CNN传感器的耐久性"

图8

CNN传感器的加密传递应用"

图9

CNN传感器在身体不同部位的健康监测应用"

图10

CNN传感器的讲话和手写字应用"

图11

通过不同物体对CNN传感器的多位点传感应用"

[1] 万爱兰, 沈新燕, 王晓晓, 等. 聚多巴胺修饰还原氧化石墨烯/聚吡咯导电织物的制备及其传感响应特性[J]. 纺织学报, 2023, 44(1): 156-163.
WAN Ailan, SHEN Xinyan, WANG Xiaoxiao, et al. Preparation and sensing response characterization of polydopamine modified reduced graphene oxide/polypyrrole conductive fabrics[J]. Journal of Textile Research, 2023, 44(1): 156-163.
[2] 王晨露, 马金星, 杨雅晴, 等. 聚苯胺涂层经编织物的应变传感性能及其在呼吸监测中的应用[J]. 纺织学报, 2022, 43(8):113-118.
WANG Chenlu, MA Jinxing, YANG Yaqing, et al. Strain sensing property and respiration monitoring of polyaniline-coated warp-knitted fabrics[J]. Journal of Textile Research, 2022, 43(8):113-118.
[3] 李港华, 王航, 史宝会, 等. 柔性电子织物的构筑及其压力传感性能[J]. 纺织学报, 2023, 44(2): 96-102.
LI Ganghua, WANG Hang, SHI Baohui, et al. Construction of flexible electronic fabric and its pressure sensing performance[J]. Journal of Textile Research, 2023, 44(2): 96-102.
[4] PIERRE CLAVER U, ZHAO G. Recent progress in flexible pressure sensors based electronic skin[J]. Advanced Engineering Materials, 2021. DOI: 10.1002/adem.202001187.
[5] MISHRA S, MOHANTY S, RAMADOSS A. Functionality of flexible pressure sensors in cardiovascular health monitoring: a review[J]. ACS Sensors, 2022, 7(9): 2495-2520.
doi: 10.1021/acssensors.2c00942 pmid: 36036627
[6] JUNG Y H, HONG S K, WANG H S, et al. Flexible piezoelectric acoustic sensors and machine learning for speech processing[J]. Advanced Materials, 2020. DOI: 10.1002/adma.201904020.
[7] XIANG S, TANG J, YANG L, et al. Deep learning-enabled real-time personal handwriting electronic skin with dynamic thermoregulating ability[J]. npj Flexible Electronics, 2022, 6(1): 59.
[8] JEONG Y, GU J, BYUN J, et al. Ultra-wide range pressure sensor based on a microstructured conductive nanocomposite for wearable workout monitoring[J]. Advanced Healthcare Materials, 2021. DOI: 10.1002/adhm.202001461.
[9] RUTH S R A, BEKER L, TRAN H, et al. Rational design of capacitive pressure sensors based on pyramidal microstructures for specialized monitoring of bio-signals[J]. Advanced Functional Materials, 2020. DOI: 10.1002/adfm.201903100.
[10] YANG Y, PAN H, XIE G, et al. Flexible piezoelectric pressure sensor based on polydopamine-modified BaTiO3/PVDF composite film for human motion monitoring[J]. Sensors and Actuators A: Physical, 2020. DOI: 10.1016/j.sna.2019.111789.
[11] LIU Z, ZHAO Z, ZENG X, et al. Expandable microsphere-based triboelectric nanogenerators as ultrasensitive pressure sensors for respiratory and pulse monitoring[J]. Nano Energy, 2019, 59: 295-301.
[12] XU S, LI X, SUI G, et al. Plasma modification of PU foam for piezoresistive sensor with high sensitivity, mechanical properties and long-term stability[J]. Chemical Engineering Journal, 2020. DOI: 10.1016/j.cej.2019.122666.
[13] TIAN G, ZHAN L, DENG J, et al. Coating of multi-wall carbon nanotubes (MWCNTs) on three-dimensional, bicomponent nonwovens as wearable and high-performance piezoresistive sensors[J]. Chemical Engineering Journal, 2021. DOI: 10.1016/j.cej.2021.130682.
[14] HOU N, ZHAO Y, JIANG R, et al. Flexible piezoresistive sensor based on surface modified dishcloth fibers for wearable electronics device[J]. Colloids and Surfaces A: Physicochemical and Engineering Aspects, 2022. DOI: 10.1016/j.colsurfa.2022.129638.
[15] CHAO M, WANG Y, MA D, et al. Wearable MXene nanocomposites-based strain sensor with tile-like stacked hierarchical microstructure for broad-range ultrasensitive sensing[J]. Nano Energy, 2020. DOI: 10.1016/j.nanoen.2020.105187.
[16] WANG M, YU Y, LIANG Y, et al. High-performance multilayer flexible piezoresistive pressure sensor with bionic hierarchical and anisotropic structure[J]. Journal of Bionic Engineering, 2022, 19(5): 1439-1448.
[17] RUTH S R A, FEIG V R, TRAN H, et al. Microengineering pressure sensor active layers for improved performance[J]. Advanced Functional Materials, 2020. DOI: 10.1002/adfm.202003491.
[18] YIN T, CHENG Y, HOU Y, et al. 3D porous structure in MXene/PANI foam for a high-performance flexible pressure sensor[J]. Small, 2022. DOI: 10.1002/smll.202204806.
[19] JUNG Y, CHOI J, LEE W, et al. Irregular microdome structure-based sensitive pressure sensor using internal popping of microspheres[J]. Advanced Functional Materials, 2022. DOI:10.1002/adfm.2201147.
[20] SUN S, LIU Y, CHANG X, et al. A wearable, waterproof, and highly sensitive strain sensor based on three-dimensional graphene/carbon black/Ni sponge for wirelessly monitoring human motions[J]. Journal of Materials Chemistry C, 2020, 8(6): 2074-2085.
[21] HUANG L, CHEN J, XU Y, et al. Three-dimensional light-weight piezoresistive sensors based on conductive polyurethane sponges coated with hybrid CNT/CB nanoparticles[J]. Applied Surface Science, 2021. DOI: 10.1016/j.apsusc.2021.149268.
[22] LU Y, TIAN M, SUN X, et al. Highly sensitive wearable 3D piezoresistive pressure sensors based on graphene coated isotropic non-woven substrate[J]. Composites Part A: Applied Science and Manufacturing, 2019, 117: 202-210.
[23] HE Y, ZHOU M, MAHMOUD M H H, et al. Multifunctional wearable strain/pressure sensor based on conductive carbon nanotubes/silk nonwoven fabric with high durability and low detection limit[J]. Advanced Composites and Hybrid Materials, 2022, 5(3): 1939-1950.
[1] 赵方, 邵光伟, 邵慧奇, 毕思伊, 李明昊, 海文清, 张鑫, 姜子洋, 蒋金华, 陈南梁. 镍/铜/镍-碳纳米管复合纱线的制备及其性能[J]. 纺织学报, 2024, 45(12): 144-151.
[2] 史雅楠, 马颜雪, 樊平, 薛文良, 李毓陵. 织边结构弹性传感机织带的制备及其传感性能影响因素[J]. 纺织学报, 2024, 45(11): 114-120.
[3] 李露红, 罗天, 丛洪莲. 针织一体成形电容传感器设计及其性能[J]. 纺织学报, 2024, 45(10): 80-88.
[4] 卢道坤, 王仕飞, 董倩, 史纳蔓, 李思琦, 干露露, 周爽, 沙莎, 张如全, 罗磊. 基于MXene的导电织物构筑及其多功能应用[J]. 纺织学报, 2024, 45(09): 137-145.
[5] 王建, 张蕊, 郑莹莹, 董正梅, 邹专勇. 二维过渡金属碳/氮化合物基柔性纺织压力传感器的研究进展[J]. 纺织学报, 2024, 45(06): 219-226.
[6] 王楠, 孙辉, 于斌, 许磊, 朱祥祥. 基于熔喷非织造材料的温度传感器制备及其传感性能[J]. 纺织学报, 2024, 45(05): 138-146.
[7] 刘懿德, 李凯, 姚久勇, 成芳芳, 夏延致. 纤维素水凝胶纤维的制备及其阻燃传感性能[J]. 纺织学报, 2024, 45(04): 1-7.
[8] 贾笑娅, 王蕊宁, 孙润军. SiO2/聚乙二醇200/碳纳米管剪切增稠液浸渍芳纶织物及其复合材料防刺性能[J]. 纺织学报, 2024, 45(04): 151-159.
[9] 闫鹏翔, 陈富星, 刘红, 田明伟. 柔性力感知电子织物的制备及其人体运动监测系统构建[J]. 纺织学报, 2024, 45(02): 59-66.
[10] 宋功吉, 王煜煜, 王善龙, 王建南, 许建梅. 碳纳米管掺杂高聚物制备人工神经导管的研究进展[J]. 纺织学报, 2023, 44(11): 232-239.
[11] 李露红, 赵博宇, 丛洪莲. 复合结构经编针织电容式传感器设计及其性能[J]. 纺织学报, 2023, 44(08): 88-95.
[12] 张少月, 岳江昱, 杨家乐, 柴晓帅, 冯增国, 张爱英. 环境友好聚己内酯基复合相变纤维膜的制备及其性能[J]. 纺织学报, 2023, 44(03): 11-18.
[13] 李港华, 王航, 史宝会, 曲丽君, 田明伟. 柔性电子织物的构筑及其压力传感性能[J]. 纺织学报, 2023, 44(02): 96-102.
[14] 蒲海红, 贺芃鑫, 宋柏青, 赵丁莹, 李欣峰, 张天一, 马建华. 纤维素/碳纳米管复合纤维的制备及其功能化应用[J]. 纺织学报, 2023, 44(01): 79-86.
[15] 楚艳艳, 李施辰, 陈超, 刘莹莹, 黄伟韩, 张越, 陈晓钢. 柔性抗冲击纺织材料及其结构的研究进展[J]. 纺织学报, 2022, 43(12): 203-212.
Viewed
Full text


Abstract

Cited

  Shared   
  Discussed   
No Suggested Reading articles found!