纺织学报 ›› 2025, Vol. 46 ›› Issue (11): 221-229.doi: 10.13475/j.fzxb.20250202101
LIU Shuang, REN Jiacheng, DING Kai, CHEN Huimin, YUE Xiaoli(
)
摘要:
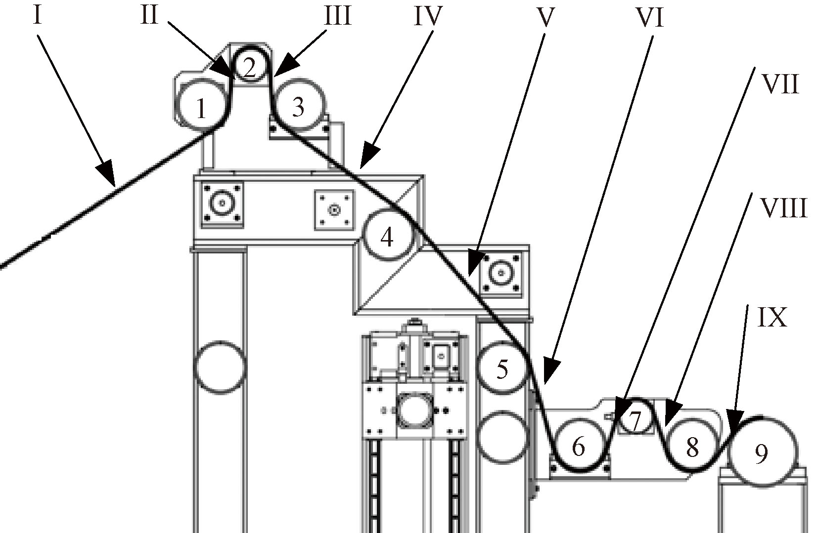
为解决纬编针织物在平幅印染连续加工过程中易出现的张力波动、幅向收缩及屈曲问题,探究其加工过程中应力应变场的演化机制。采用小参数渐进展开法确定针织物宏观等效本构模型,建立柔性针织物-机械系统动力学模型,通过数值仿真与实验验证相结合的方法,全面刻画平幅印染加工过程中针织物的应力应变场的时空演化规律。结果表明:幅宽方向上,织物边沿区域沿长度方向的拉伸应力较高,中间区域幅宽方向应力交替变化形成屈曲,且主动辊前后长段空行程区间的织物更易发生屈曲;幅向收缩在轧压辊后的空行程区间形成,平幅区域的主动辊对缓解缩幅起主导作用,其辊径和包角越大,缓解缩幅效果越显著;被动辊和空行程区对缩幅的影响较小,但被动辊的惯性显著影响张力波动的持续时间。通过优化辊面结构、缩短空行程、采用变阻尼被动辊及增加主动辊包角设置等措施,可缓解应力分布不均、缩幅和屈曲现象,为设计适配针织物的加工设备和低张力控制模型提供依据。
中图分类号:
| [1] | 刘添涛, 赵伟伟. 中国印染行业绿色发展报告[J]. 染整技术, 2024, 46(9): 1-9, 18. |
| LIU Tiantao, ZHAO Weiwei. Green development report of China printing and dyeing industry[J]. Textile Dyeing and Finishing Journal, 2024, 46(9): 1-9, 18. | |
| [2] | 黄罗以, 关晓宇, 王越平. 低碳纺织经济下印染行业的转型路径[J]. 印染, 2023, 49(1):79-83. |
| HUANG Luoyi, GUAN Xiaoyu, WANG Yueping. Transformation path of printing and dyeing industry under low carbon textile economy[J]. China Dyeing & Finishing, 2023, 49(1):79-83. | |
| [3] | 张兰, 孟家光, 支超, 等. 棉针织物在平幅印染整理技术方面的研究进展[J]. 纺织科技进展, 2023(3):6-12. |
| ZHANG Lan, MENG Jiaguang, ZHI Chao, et al. Research progress of cotton knitted fabrics in open width printing, dyeing and finishing technology[J]. Progress in Textile & Technology, 2023(3):6-12. | |
| [4] |
王霖安, 张军, 傅红平, 等. 紫花地丁植物染料对纯棉针织物的染色性能研究[J]. 现代纺织技术, 2022, 30(1):157-161.
doi: 10.19398/j.att.202102001 |
|
WANG Linan, ZHANG Jun, FU hongping, et al. Study on dyeing properties of knitted cotton fabric by natural dye Viola Philippica[J]. Advanced Textile Technology, 2022, 30(1):157-161.
doi: 10.19398/j.att.202102001 |
|
| [5] | 孔哲. 纯棉针织物平幅染色工艺的研究[D]. 上海: 东华大学, 2021:1-20. |
| KONG Zhe. Study on open width dyeing process of pure cotton knitted fabric[D]. Shanghai: Donghua University, 2021:1-20. | |
| [6] | 陈准, 张瑞亮, 徐乐鹏. 燃料电池重卡动力系统参数匹配与能量管理策略仿真分析[J]. 机械设计与制造, 2024(1): 14-19. |
| CHEN Zhun, ZHANG Ruiliang, XU Lepeng. Parameter matching and energy management strategy simulation analysis of fuel cell heavy truck power system[J]. Machinery Design & Manufacture, 2024(1): 14-19. | |
| [7] |
曹雪梅, 何宏图, 魏冰阳, 等. 螺旋锥齿轮数字孪生体模态参数的提取与分析[J]. 机械工程学报, 2023, 59(13):260-267.
doi: 10.3901/JME.2023.13.260 |
|
CAO Xuemei, HE Hongtu, WEI Bingyang, et al. Extraction and analysis of the model parameters for the digital twin of spiral bevel gear[J]. Journal of Mechanical Engineering, 2023, 59(13):260-267.
doi: 10.3901/JME.2023.13.260 |
|
| [8] | 唐弦, 熊晓燕, 唐建. 湿煤聚团与弛张筛筛板碰撞解聚的离散元模拟[J]. 机械设计与制造, 2024(1): 1-5. |
| TANG Xian, XIONG Xiaoyan, TANG Jian. Impact disaggregation simulation of wet coal agglomerate and sieve plate of flip-flow screen using discrete element method[J]. Machinery Design & Manufacture, 2024(1): 1-5. | |
| [9] | 刘瑞伟, 张碧峰, 范雅婷, 等. 索-梁-膜张拉式天线展开机构非线性动力学特性及参数优化分析[J]. 机械工程学报, 2025, 61(1):92-100. |
| LIU Ruiwei, ZHANG Bifeng, FAN Yating, et al. Nonlinear dynamic characterization and parameter optimization analysis of cable-beam-membrane tension antenna deployable structure[J]. Journal of Mechanical Engineering, 2025, 61(1):92-100. | |
| [10] |
WU L W, ZHAO F, XIE J B, et al. The deformation behaviors and mechanism of weft knitted fabric based on micro-scale virtual fiber model[J]. International Journal of Mechanical Sciences, 2020, 187: 105929.
doi: 10.1016/j.ijmecsci.2020.105929 |
| [11] |
MCKEE P J, WETZEL E D. An overlay element method for accurate dynamic deflection prediction in knits subject to ballistic impact[J]. International Journal of Impact Engineering, 2020, 137: 103457.
doi: 10.1016/j.ijimpeng.2019.103457 |
| [12] | 孙亚博, 李立军, 马崇启, 等. 基于ABAQUS的筒状纬编针织物拉伸力学性能模拟[J]. 纺织学报, 2021, 42(2): 107-112. |
| SUN Yabo, LI Lijun, MA Chongqi, et al. Simulation on tensile properties of tubular weft knitted fabrics based on ABAQUS[J]. Journal of Textile Research, 2021, 42(2): 107-112. | |
| [13] | 汝欣, 朱婉珍, 史伟民, 等. 密度非均匀分布纬编针织物的变形预测及仿真[J]. 纺织学报, 2022, 43(6): 63-69, 78. |
| RU Xin, ZHU Wanzhen, SHI Weimin, et al. Deformation prediction and simulation of weft knitted fabrics with non-uniform density distribution[J]. Journal of Textile Research, 2022, 43(6): 63-69, 78. | |
| [14] |
ABGHARY M J, JAFARI NEDOUSHAN R, HASANI H, et al. Simulation of the tensile behaviour of biaxial knitted fabrics produced based on rib structure using a macro constitutive model[J]. Functional Composites and Structures, 2024, 6(3): 035007.
doi: 10.1088/2631-6331/ad68c0 |
| [15] | 闫江, 王永兴, 李姝佳, 等. 卷绕机接触辊与卷装法向接触刚度计算及时变性分析[J]. 合成纤维工业, 2016, 39(1): 53-57. |
| YAN Jiang, WANG Yongxing, LI Shujia, et al. Normal contact stiffness calculation and time variation analysis between winder contact roller and package[J]. China Synthetic Fiber Industry, 2016, 39(1): 53-57. | |
| [16] |
ZHONG Z W, EE J H, CHEN S H, et al. Parametric investigation of flexographic printing processes for R2R printed electronics[J]. Materials and Manufacturing Processes, 2020, 35(5): 564-571.
doi: 10.1080/10426914.2020.1732411 |
| [17] |
SHIN W, KIM M, LEE T, et al. Investigation of friction coefficient to improve traction condition in R2R transport system[J]. AIP Advances, 2023, 13(1): 015210.
doi: 10.1063/5.0131670 |
| [18] | 吴建忠, 徐洋, 盛晓伟. 热转印系统色带传动过程张力分析与建模[J]. 纺织学报, 2024, 45(9): 228-234. |
| WU Jianzhong, XU Yang, SHENG Xiaowei. Tension analysis and modeling of ribbon drive process in thermal transfer printing systems[J]. Journal of Textile Research, 2024, 45(9): 228-234. | |
| [19] | 闫新鹏. 针织物平幅印染多态试验机控制系统研究[D]. 上海: 东华大学, 2022:2-23. |
| YAN Xinpeng. Research on control system of open width printing and dyeing polymorphic testing machine for knitted fabrics[D]. Shanghai: Donghua University, 2022:2-23. | |
| [20] | 吕常亮, 郝志远, 陈慧敏, 等. 基于均匀化理论的小变形纬编针织物线圈形态有限元分析[J]. 纺织学报, 2021, 42(3): 21-26. |
| LÜ Changliang, HAO Zhiyuan, CHEN Huimin, et al. Finite element analysis of loop shape in weft knitted fabrics with small deformation based on homogenization theory[J]. Journal of Textile Research, 2021, 42(3): 21-26. | |
| [21] | 郝志远, 陈慧敏, 沈琼, 等. 基于均匀化理论的针织物拉伸形变有限元模拟[J]. 东华大学学报(自然科学版), 2020, 46(1): 47-52. |
| HAO Zhiyuan, CHEN Huimin, SHEN Qiong, et al. Tensile deformation finite element simulation of knitted fabric based on homogenization theory[J]. Journal of Donghua University (Natural Science), 2020, 46(1): 47-52. | |
| [22] | 陈金平. 基于高速运动的织物与滚筒机械系统动力学性能研究[D]. 上海: 东华大学, 2008:3-10. |
| CHEN Jinping. Study on dynamic performance of fabric and roller mechanical system based on high-speed motion[D]. Shanghai: Donghua University, 2008:3-10. | |
| [23] | 李瑞雄, 陈务军, 付功义, 等. 透镜式缠绕肋压扁缠绕过程数值模拟分析[J]. 宇航学报, 2011, 32(1): 224-231. |
| LI Ruixiong, CHEN Wujun, FU Gongyi, et al. Numerical simulation of flattening and wrapping process of lenticular wrapped-rib[J]. Journal of Astronautics, 2011, 32(1): 224-231. |
| [1] | 孙布青, 关松松, 蒋高明, 李炳贤. 钩编套圈针织物的设计与三维仿真[J]. 纺织学报, 2025, 46(09): 136-142. |
| [2] | 张欣, 周康辉, 姜茜, 吴利伟. 基于虚拟纤维的纬编双轴向针织物模型构建及偏轴拉伸变形行为模拟[J]. 纺织学报, 2025, 46(09): 143-153. |
| [3] | 张永超, 史伟民, 郭斌, 屠佳佳, 李杨. 基于灰度统计和改进算术优化算法分类器的提花针织物疵点检测与分类[J]. 纺织学报, 2025, 46(08): 111-119. |
| [4] | 张涣东, 纪柏林, 钟毅, 徐红, 毛志平. 接触式预烘对纯棉针织物平幅染色预烘效率及色差的影响[J]. 纺织学报, 2025, 46(07): 154-159. |
| [5] | 张久尚, 杨涛, 周玉峰, 田秀峰, 宋良, 刘畅, 刘健, 杜宇. 角联织机多经轴送经张力控制系统研究[J]. 纺织学报, 2025, 46(04): 197-206. |
| [6] | 梁金星, 李东盛, 韩开放, 胡新荣, 彭佳佳, 李立军. 基于物理约束的纬编针织物动态形变模拟[J]. 纺织学报, 2025, 46(03): 109-115. |
| [7] | 江文杰, 郭明瑞, 高卫东. 棉/涤纶短纤皮芯纱及其织物的力学性能[J]. 纺织学报, 2025, 46(03): 49-55. |
| [8] | 阳腾, 孙志慧, 伍思钰, 于晖, 王飞. 基于聚氨酯/炭黑/锦纶导电纱线的织物应变传感器制备及其性能[J]. 纺织学报, 2024, 45(12): 80-88. |
| [9] | 韩炜, 邢晓梦, 张海宝, 姜茜, 刘天威, 卢佳浩, 闫志强, 巩继贤, 吴利伟. 基于粒子群算法对纬编针织物Johnson-Champoux-Allard模型参数反分析研究[J]. 纺织学报, 2024, 45(10): 103-112. |
| [10] | 田少萌, 张丽, 石浩轩, 徐阳. 基于ANSYS Workbench的高密机织滤料动态形变模拟与分析[J]. 纺织学报, 2024, 45(09): 63-69. |
| [11] | 王文, 张乐乐, 黄阳杰, 谭浩, 方舒婷, 向晨雪, 王栋. 聚乙烯醇-乙烯/SiO2复合柔性驱动膜的制备及其性能[J]. 纺织学报, 2024, 45(07): 10-17. |
| [12] | 葛美彤, 董智佳, 丛洪莲, 丁玉琴. 凹凸点阵双面织物的结构与湿热管理评价[J]. 纺织学报, 2024, 45(07): 47-54. |
| [13] | 李倩倩, 郭晓玲, 崔文豪, 许宇真, 王林峰. 汽车座椅用抗菌涤纶针织物制备及其性能[J]. 纺织学报, 2024, 45(06): 127-133. |
| [14] | 李博, 刘旭柠, 郭杰, 胡凯, 畅博彦, 魏展. 空间连杆引纬机构的刚柔耦合磨损分析[J]. 纺织学报, 2024, 45(06): 186-192. |
| [15] | 胡旭东, 汤炜, 曾志发, 汝欣, 彭来湖, 李建强, 王博平. 基于轻量化卷积神经网络的纬编针织物组织结构分类[J]. 纺织学报, 2024, 45(05): 60-69. |
|
||