纺织学报 ›› 2024, Vol. 45 ›› Issue (02): 206-213.doi: 10.13475/j.fzxb.20231004501

• 服装工程 • 上一篇    下一篇

电热织物系统热传递模拟及其参数设计

程子琪1, 卢业虎1,2(), 许静娴1   

  1. 1.苏州大学 纺织与服装工程学院, 江苏 苏州 215021
    2.现代丝绸国家工程实验室, 江苏 苏州 215123
  • 收稿日期:2023-10-16 修回日期:2023-11-01 出版日期:2024-02-15 发布日期:2024-03-29
  • 通讯作者: 卢业虎(1986—),男,教授,博士。主要研究方向为智能和防护服装。E-mail:yhlu@suda.edu.cn
  • 作者简介:程子琪(2000—),女,硕士生。主要研究方向为服装热传递模拟。
  • 基金资助:
    江苏省高等学校基础科学(自然科学)重大项目(21KJA540004);苏州市科技计划项目(SS202147)

Heat transfer simulation and parametric design of electric heating textile system

CHENG Ziqi1, LU Yehu1,2(), XU Jingxian1   

  1. 1. College of Textile and Clothing Engineering, Soochow University, Suzhou, Jiangsu 215021, China
    2. National Engineering Laboratory of Modern Silk, Suzhou, Jiangsu 215123, China
  • Received:2023-10-16 Revised:2023-11-01 Published:2024-02-15 Online:2024-03-29

摘要:

为保证电加热服装的舒适性与安全性,并为其优化设计提供参考,通过Comsol软件建立了包含皮肤层的电热织物系统传热模型,考虑了热传导、热对流、热辐射3种传热方式,进行了多物理场耦合模拟。将模拟的瞬态结果与实验数据进行对比发现,二者随时间变化的温度曲线相近,且实时温度和最终温度相对误差均低于4%,说明模拟值与实验值之间具有良好的吻合性。通过该数值模型进行了稳态的参数化研究,拟合了皮肤温度与环境温度、风速、发热片加热温度、服装内外层热阻之间的线性关系,建立了皮肤温度预测模型,并应用模型设计电加热服装的相关参数。本文研究结果可为特定使用环境下电加热片的设计与选择提供理论参考。

关键词: 电加热织物系统, 热传递模拟, 皮肤温度, 预测模型, 参数设计

Abstract:

Objective In order to ensure the thermal comfort and safety of users, it is necessary to investigate the performance of electric heating clothing. Electric heating textile system simulation can achieve precise simulation of heating components and explore the effect of various parameters on heating performance. This paper establishes a three-dimensional heat transfer model of an electrically heated fabric system including the skin layer to study the effects of environmental factors, heating temperature, and thermal resistance of the inner and outer layers of the clothing on skin temperature. Based on the influence relationship, a skin temperature prediction model is established.

Method A combination of electric heating clothing fabric was adopted, in which the heating component is a carbon nanomaterial heating film. The electric heating fabric system was numerically simulated using Comsol Multiphysics, considering the three heat transfer modes, which are conduction, convection, and radiation. The simulation involved the coupling of multiple physical fields. The effectiveness of the model was experimentally validated using an iSGHP thermal resistance tester and an MSR145 temperature humidity sensor.

Results The simulated experiment process obtained real-time temperature, and the simulated curve was compared with the experimental results, demonstrating a similar trend. At the beginning of the plate heating, the simulated heating rate was higher than the experimental value, and then the temperature gradually stabilized and approached the experimental value. There could be two reasons for this situation. 1. The heating temperature and heat flux of the simulation did not have a start-up time. In reality, it takes several seconds for the heating plate to reach the desired temperature, and when the temperature difference between the environment and the heating temperature is large, the heating time will be longer. Also, it takes a certain amount of time for the hot plate of the thermal resistance tester to reach the required power. 2. The simulation assumes that the fabric is thermally insulated on all sides, but it is difficult to achieve absolute thermal insulation in actual experiments, and there is still a small amount of heat exchange. A parametric study on the model is conducted in a steady state and three regions for skin temperature prediction are selected. Point A represents the skin temperature (Tska) beneath the midpoint of the heating detection area, domain B represents the average skin temperature (Tskb) beneath the rectangular region of the heating detection plate, and point C represents the skin temperature (Tskc) beneath the edge point of the heating detection plate. Then, the quantitative relationship between skin temperatures (Tska, Tskb, Tskc) and ambient temperature (Ta), wind velocity (Va), heating plate temperature (Th), as well as inner and outer clothing thermal resistances (I1, I2) was determined through regression analysis method. Based on this, a predictive model for skin temperature was established. For setting the comfort range of skin temperature, it was recommended to meet the following conditions simultaneously, i.e., the edge point temperature (Tskc) remains at 34 ℃, the skin temperature (Tska) in the heating detection area no more than 41 ℃, and the average skin temperature (Tskb) in the large heating no more than 37 ℃.

Conclusion A three-dimensional heat transfer model of an electrical heating fabric system, including the skin layer, has been established. The transient simulation results are compared with experimental data, showing a close similarity in temperature variation over time. The relative error between real-time and final temperatures is lower than 4%, indicating good agreement between simulated and experimental values. A parameterized study of the steady-state model is conducted based on the linear relationship between the skin temperatures of three regions and the ambient temperature, wind velocity, heating temperature of the heating element, and thermal resistances of the inner and outer layers of the clothing. A predictive model for skin temperature is developed. This skin temperature prediction model can be used to design the heating temperature and the inner and outer layers of the clothing based on the comfortable range of skin temperature under specific environmental conditions. Conversely, given the determined inner and outer layers of the clothing, the environmental conditions and heating temperature of the heating element can be determined based on the comfortable range of skin temperature. By predicting the post-dressing skin temperature, it is possible to assess thermal comfort and optimize clothing design accordingly.

Key words: electrically heated textile system, heat transter simulation, skin temperature, prediction model, parameter design

中图分类号: 

  • TM925.63

表1

材料物理参数"

材料
编号
材料
名称
厚度/
mm
密度/
(kg·m-3)
比热容/
(J·(kg·
K)-1)
导热系数/
(W·(m·
K)-1)
h1 服装外层
组合织物
20.478 19.5 1 340 0.052 738
h3 加热片 0.310 540.9 1 340 0.037 805
h4 服装内层 0.116 489.3 1 340 0.011 016

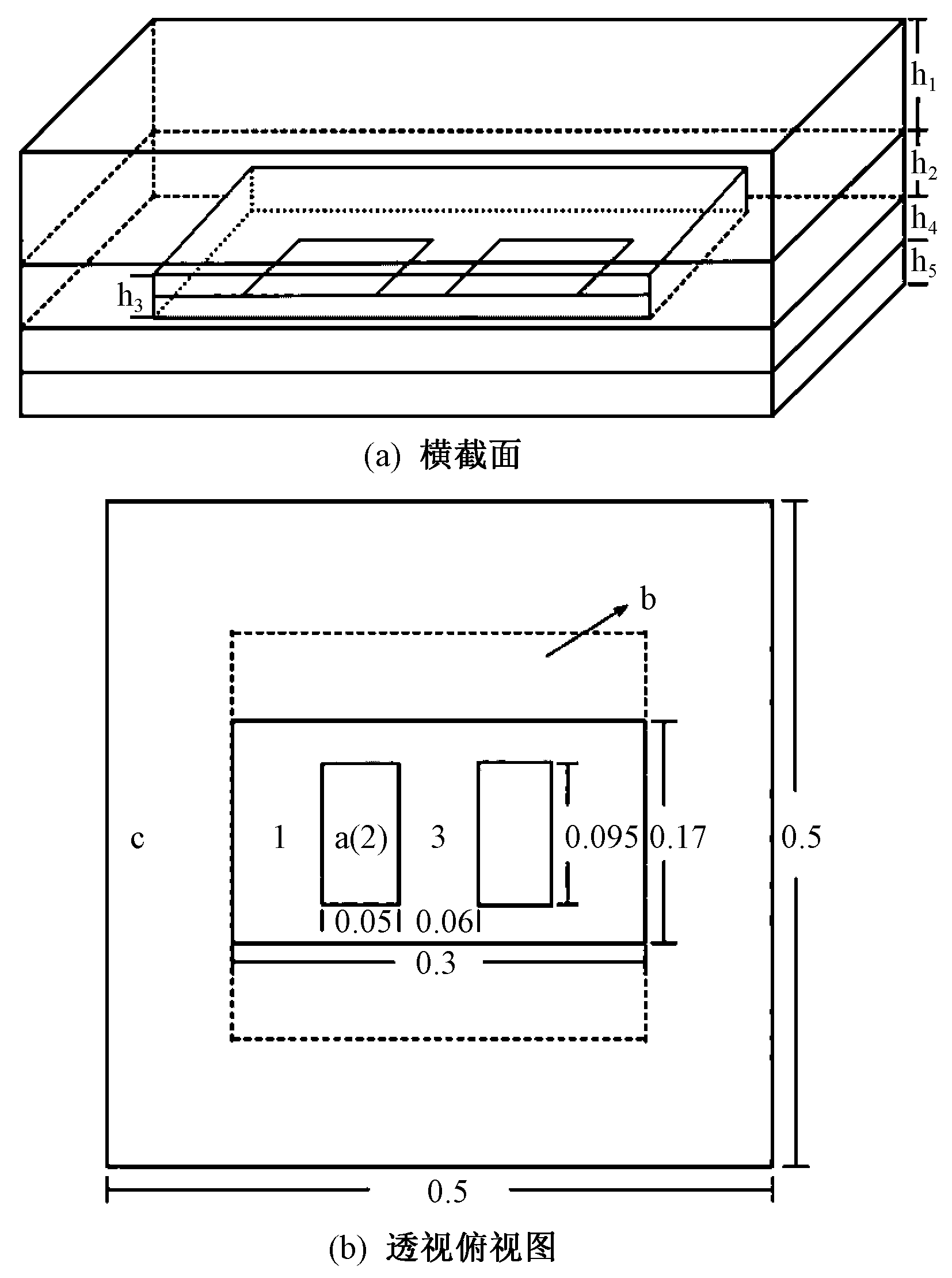
图1

几何模型示意图 注:单位为m。a点为探测加热区域中点;b区为深测加热片方形区域;c点为探测加热片边缘中点。"

图2

网格独立性检验"

图3

实验值与模拟值对比"

表2

实验数据与模拟数据对比"

加热温
度/℃
测温
平均相对
误差/%
最终实验
温度/℃
最终模拟
温度/℃
最终温度相
对误差/%
38 1 2.15 37.6 37.7 0.15
2 3.10 39.7 40.3 1.42
3 1.85 37.6 37.9 0.85
45 1 1.28 38.8 38.9 0.15
2 3.81 45.7 46.2 0.99
3 1.89 39.1 39.6 1.32
50 1 1.09 39.9 39.8 0.13
2 1.28 49.9 51.1 2.32
3 1.28 40.4 41.0 1.55

表3

参数设置范围"

参数
设置
环境温度
Ta/℃
风速Va/
(m·s-1)
加热片温度
Th/℃
服装热阻/
(m2·℃·W-1)
外层 内层
设置
范围
-10~
10 [9,22]
0.1~
2.6 [9]
35~
55
0.2~
0.7 [23]
0.004~
0.4 [23]
设置
步长
5 0.625 5 0.125 0.099

图4

加热温度与内外层热阻的三维关系图"

表4

服装内外层热阻关系式"

加热温度/℃ 服装内外层热阻关系式
35 I 1 = 0.783 ? 89 - 1.138 ? 37 I 2 ( I 2 ( 0,0.078 ? 1 ) )
36 I 1 = 0.783 ? 26 - 1.138 ? 37 I 2 ( I 2 ( 0,0.058 ? 0 ) )
37 I 1 = 0.782 ? 62 - 1.138 ? 37 I 2 ( I 2 ( 0,0.037 ? 9 ) )
38 I 1 = 0.781 ? 99 - 1.138 ? 37 I 2 ( I 2 ( 0,0.017 ? 8 ) )

图5

加热温度与环境温度、风速的三维关系图"

[1] REAZUDDIN M, DAIVA M. Progress in flexible electronic textile for heating application: a critical review[J]. Materials, 2021, 14(21): 17-18.
doi: 10.3390/ma14010017
[2] WANG F, GAO C. Protective clothing: managing thermal stress[M]. Cambridge: Woodhead Publishing, 2014: 282-283.
[3] 庄梅玲, 张晓枫. 电热服的热性能评价[J]. 青岛大学学报(工程技术版), 2004, 19(2): 54-58.
ZHUANG Meiling, ZHANG Xiaofeng. Heat performance evaluation of electric heating garment[J]. Journal of Qingdao University (Engineering & Technology Edition), 2004, 19(2): 54-58.
[4] SORA S, HAE-HYUN C, BIN Y, et al. Evaluation of body heating protocols with graphene heated clothing in a cold environment[J]. International Journal of Clothing Science and Technology, 2017, 29(6): 830-844.
doi: 10.1108/IJCST-03-2017-0026
[5] 丁波, 李健, 牛子璇, 等. 电加热服装发热元件的组合设计与评价[J]. 纺织导报, 2022(5): 93-97.
DING Bo, LI Jian, NIU Zixuan, et al. Combination design and evaluation of heating elements for electrically heated gar-ments[J]. China Textile Leader, 2022(5): 93-97.
[6] SONG W, LAI D, WANG F. Evaluating the cold protective performance (CPP) of an electrically heated garment (EHG) and a chemically heated garment (CHG) in cold environments[J]. Fibers and Polymers, 2015, 16(12): 2689-2697.
doi: 10.1007/s12221-015-5409-4
[7] WANG F, GAO C, HOLMER I. Effects of air velocity and clothing combination on heating efficiency of an electrically heated vest (EHV): a pilot study[J]. Occup Environ Hyg, 2010, 7(9): 501-505.
[8] PARK H, HWANG S, LEE J, et al. Impact of electrical heating on effective thermal insulation of a multi-layered winter clothing system for optimal heating efficiency[J]. International Journal of Clothing Science and Technology, 2016, 28(2): 254-264.
[9] 吴黛唯, 李红彦, 戴艳阳, 等. 加热装置在防寒服中的位置及其热效用[J]. 纺织学报, 2020, 41(6): 118-124.
WU Daiwei, LI Hongyan, DAI Yanyang, et al. Thermal function effectiveness and location of heating device in cold protective clothing[J]. Journal of Textile Research, 2020, 41(6): 118-124.
doi: 10.1177/004051757104100206
[10] 徐新宇, 王云仪. CFD数值模拟在着装人体传热研究中的应用进展[J]. 纺织导报, 2021(9): 74-78.
XÜ Xinyu, WANG Yunyi. Application of CFD numerical simulation in heat transfer research of dressed human body[J]. China Textile Leader, 2021(9): 74-78.
[11] 李雅芳. 基于镀银纱线的加热织物制备及其热力学性能研究与仿真[D]. 天津: 天津工业大学, 2017:117-118.
LI Yafang. Preparation and study of thermal property in heating fabric based on silver-plated yarn[D]. Tianjin: Tiangong University, 2017:117-118.
[12] 陈扬, 杨允出, 张艺强, 等. 电加热服装中加热片与织物组合体的稳态热传递模拟[J]. 纺织学报, 2018, 39(5): 49-55.
CHEN Yang, YANG Yunchu, ZHANG Yiqiang, et al. Simulation of steady heat transfer on fabrics system embedded with heating unit in electrically heated clothing[J]. Journal of Textile Research, 2018, 39(5): 49-55.
doi: 10.1177/004051756903900109
[13] 谢艳杰. 电加热服热性能仿真分析研究[D]. 北京: 北京服装学院, 2021:49-50.
XIE Yanjie. Research on simulation analysis of thermal performance of electric heating clothing[D]. Beijing: Beijing Institute of Fashion Technology, 2021:49-50.
[14] LI X, KUAI B, TU X, et al. Three-dimensional analysis model of electric heating fabrics considering the skin metabolism[J]. Journal of Engineered Fibers and Fabrics, 2021, 16: 3-4.
[15] 刘鸣茗. 基于皮肤组织模型的热功能服装传热性能模拟分析[D]. 杭州: 浙江理工大学, 2021:43-44.
LIU Mingming. Study and prediction of heat transfer performance of thermal textile considering the skin tissue[D]. Hangzhou: Zhejiang Sci-Tech University, 2021:43-44.
[16] WANG F, KANG Z, ZHOU J. Model validation and parametric study on a personal heating clothing system (PHCS) to help occupants attain thermal comfort in unheated buildings[J]. Building and Environment, 2019, 162: 2-9.
[17] HUANG Q, XING G, YANG F, et al. Modelling and experimental study on electrically heating garment to enhance personal thermal comfort[C]//ADIGUZEL O, BRAZHNIKOV A, GU K, et al. 2020 International Conference on New Energy, Power and Environmental Engineering. Xiamen: IOP Publishing Ltd, 2021, 696(1): 4-11.
[18] 张渭源. 服装舒适性与功能[M]. 北京: 中国纺织出版社, 2005:35-36.
ZHANG Weiyuan. Clothing comfort and function[M]. Beijing: China Textile & Apparel Press, 2005: 35-36.
[19] 陶文铨. 传热学[M]. 5版. 北京: 高等教育出版社, 2019: 5-11.
TAO Wenquan. Heat transfer[M]. 5th ed. Beijing: Higher Education Press, 2009: 5-11.
[20] 崔鹏. 高蓬松纤维集合体保温性检测机理与应用[D]. 上海: 东华大学, 2011: 46-48.
CUI Peng. The principle and application of test of warm performance of high buoyancy fibrous porous mate-rials[D]. Shanghai: Donghua University, 2011:46-48.
[21] 戈强胜, 谭伟新, 王向钦, 等. 远红外纺织品评价指标研究[J]. 中国纤检, 2018(6): 132-134.
GE Qiangsheng, TAN Weixin, WANG Xiangqin, et al. The index research for the evaluation of the far infrared radiated textiles[J]. China Fiber Inspection, 2018(6): 132-134.
[22] 顾心清, 李荣杰, 李亿光, 等. 92海军舰艇艇员防寒服保暖性能人体试验评价[J]. 海军医学杂志, 2000(1): 17-20.
GU Qiangsheng, LI Rongjie, LI Yiguang, et al. Evaluation of thermal insulation of mark 92 cold weather clothing for navy ship's crew[J]. Journal of Navy Medicine, 2000(1): 17-20.
[23] 周浩. 人体皮肤温度影响因素实验研究[D]. 西安: 西安建筑科技大学, 2013:10-11.
ZHOU Hao. Experimental study on the influence factors of human skin temperature[D]. Xi'an: Xi'an University of Architecture and Technology, 2013:10-11.
[1] 董智佳, 郭燕雨秋, 刘海桑, 姚思宏. 经编全成形镂空紧身衣的结构设计与实现[J]. 纺织学报, 2023, 44(12): 130-137.
[2] 王中昱, 苏云, 王云仪. 机器学习建立的个体热舒适模型及其在服装领域的应用展望[J]. 纺织学报, 2023, 44(05): 228-236.
[3] 杜吉辉, 苏云, 刘广菊, 田苗, 李俊. 智能防寒手套温控系统设计及热舒适性研究[J]. 纺织学报, 2023, 44(04): 172-178.
[4] 吴佳庆, 王怡婷, 何欣欣, 郭亚飞, 郝新敏, 王迎, 宫玉梅. 混纺比对生物基锦纶56短纤/棉混纺纱力学性能的影响[J]. 纺织学报, 2023, 44(03): 49-54.
[5] 于学智, 张明光, 曹继鹏, 张月, 王晓燕. 捻度对锦纶/棉混纺纱质量指标的影响[J]. 纺织学报, 2023, 44(01): 106-111.
[6] 陈莹, 宋泽涛, 郑晓慧, 姜延, 常素芹. 蒸发型降温服的降温性能研究[J]. 纺织学报, 2022, 43(11): 141-147.
[7] 郑雯洁, 张爱丹. 基于图像光影重构的缎纹影光织物明度预测方法[J]. 纺织学报, 2022, 43(05): 97-103.
[8] 张昭华, 陈之瑞, 李璐瑶, 肖平, 彭浩然, 张钰涵. 人体局部皮肤的气流敏感性及其影响因素[J]. 纺织学报, 2021, 42(12): 125-130.
[9] 王利君, 马希明, 丁殷佳, 陈诚毅. 风速对单双层着装状态下运动服针织面料湿阻的影响[J]. 纺织学报, 2021, 42(07): 151-157.
[10] 牛梦雨, 潘姝雯, 戴宏钦, 吕凯敏. 医用防护服的热湿舒适性与人体疲劳度的关系[J]. 纺织学报, 2021, 42(07): 144-150.
[11] 杨阳, 俞欣, 章为敬, 张佩华. 针织面料凉爽性能的评价方法及其预测模型[J]. 纺织学报, 2021, 42(03): 95-101.
[12] 张晓侠, 刘凤坤, 买巍, 马崇启. 基于BP神经网络及其改进算法的织机效率预测[J]. 纺织学报, 2020, 41(08): 121-127.
[13] 黄倩倩, 李俊. 环境温度突变时人体热感觉变化机制研究进展[J]. 纺织学报, 2020, 41(04): 188-194.
[14] 郑晴, 王宏付, 柯莹, 李爽. 相变降温矿工服的设计与评价[J]. 纺织学报, 2020, 41(03): 124-129.
[15] 周捷, 马秋瑞. BP神经网络在塑身内衣压力预测中的应用[J]. 纺织学报, 2019, 40(04): 111-116.
Viewed
Full text


Abstract

Cited

  Shared   
  Discussed   
No Suggested Reading articles found!