纺织学报 ›› 2024, Vol. 45 ›› Issue (11): 199-206.doi: 10.13475/j.fzxb.20231006101
LOU Hao1, LÜ Wangyang1,2, CHEN Wenxing2, JIANG Wenbin1,2(
)
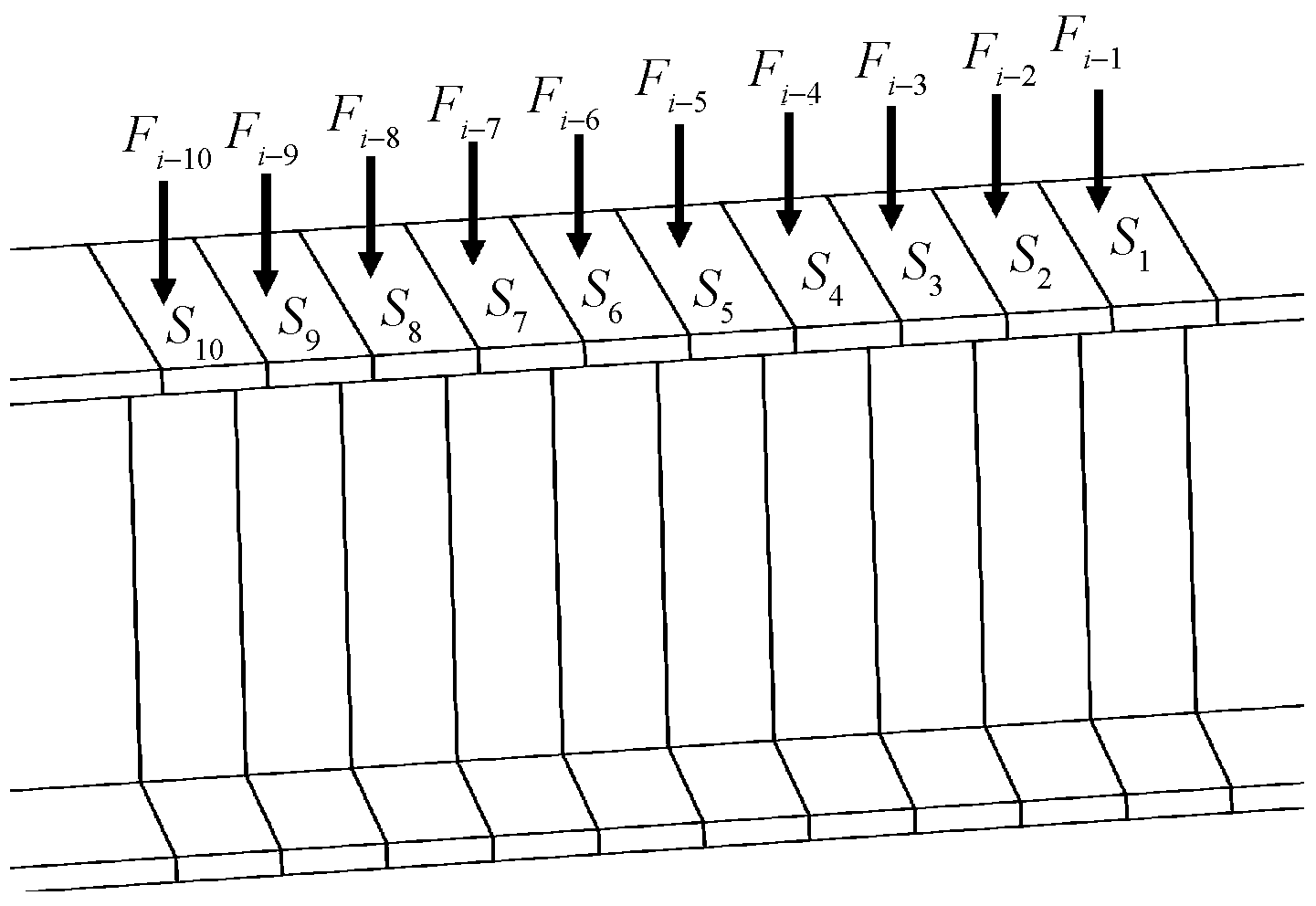
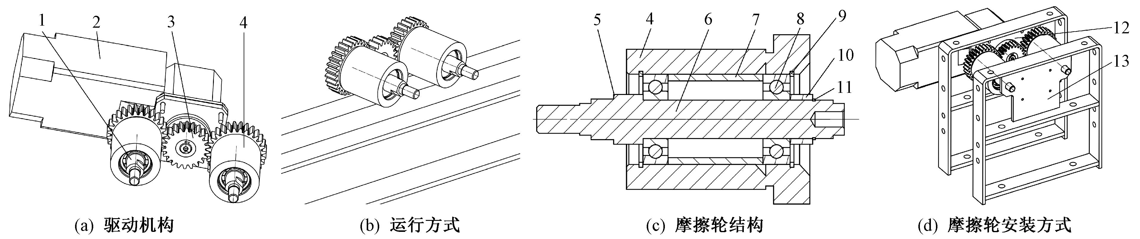
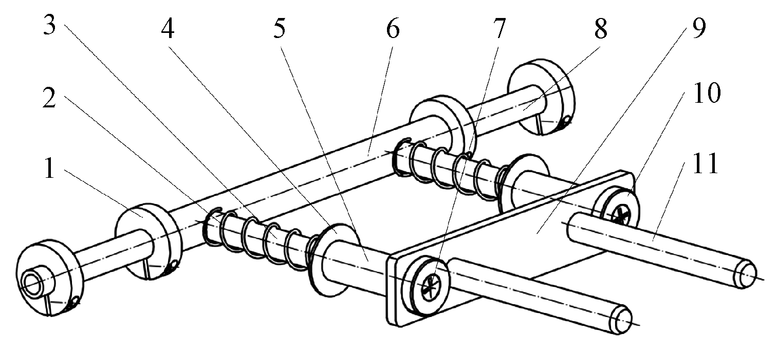
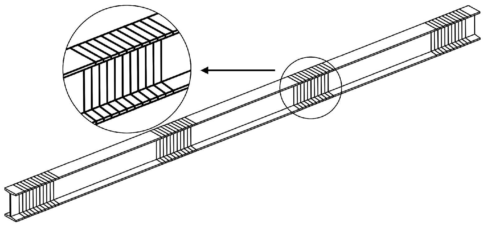
摘要: 为解决缫丝企业煮熟茧的自动输送问题以及改进送茧小车在输送过程中的安全性、稳定性及能源供给,设计了煮熟茧输送小车和送茧小车的运行机构以及供能方式。将送茧小车固定在工字钢轨道上完成送茧,根据工字钢的“工”形结构,设计钢架卡槽和8轮定位结构以防止送茧小车脱离轨道并保证其运行中的稳定性;运行机构采用电动机驱动齿轮组将动力传递至2个锦纶轮,锦纶轮在与轨道的摩擦力作用下运行,采用滑触线移动供电的方式为送茧小车供能。结果表明:本文设计方案稳定可靠,自动化煮熟茧输送方式可明显提高生丝加工的自动化程度。本文设计可为企业技术改革和茧丝绸行业发展提供有效参考。
中图分类号:
| [1] | 夏逸村. 煮熟茧管道程序输送装置[J]. 丝绸, 1983(8): 13-15. |
| XIA Yicun. Procedural conveying device for cooked cocoon pipeline[J]. Journal of Silk, 1983(8): 13-15. | |
| [2] | 陈永新. 煮熟茧管道输送做小缫折的措施[J]. 丝绸, 1983(4): 20-21. |
| CHEN Yongxin. Measures for pipeline transportation of cooked cocoons for small reeling fold[J]. Journal of Silk, 1983(4): 20-21. | |
| [3] | 许才定, 张平菊. 制丝厂应慎用管道输送煮熟茧装置[J]. 国外丝绸, 2004(2): 5-6. |
| XU Caiding, ZHANG Pingju. Silk mills should be careful to use pipeline transport cooked cocoon device[J]. Modern Silk Science & Technology, 2004(2): 5-6. | |
| [4] | 娄浩, 吕汪洋, 陈文兴, 等. 送茧小车翻斗装置的设计与仿真[J]. 现代纺织技术, 2023, 31(5): 132-141. |
| LOU Hao, LÜ Wangyang, CHEN Wenxing, et al. Design and simulation of a bucket-tipping device for cocoon feeding trolleys[J]. Advanced Textile Technology, 2023, 31(5): 132-141. | |
| [5] | 张翼飞, 田石钟. 铅酸蓄电池的选用[J]. 智能建筑与城市信息, 2015(4): 92-96. |
| ZHANG Yifei, TIAN Shizhong. Selection of lead-acid battery[J]. Intelligent Building & Smart City, 2015(4): 92-96. | |
| [6] | 李联益. 铅酸蓄电池维护探讨[J]. 湖北科技学院学报, 2013, 33(7): 181-182. |
| LI Lianyi. Discussion on maintenance of lead-acid battery[J]. Journal of Hubei University of Science and Technology, 2013, 33(7): 181-182. | |
| [7] | 李静, 李吉刚, 孙冬冬, 等. 动车组蓄电池的应用现状和发展方向[J]. 铁道车辆, 2023, 61(1): 1-6. |
| LI Jing, LI Jigang, SUN Dongdong, et al. Application status and development direction of battery for EMUs[J]. Rolling Stock, 2023, 61(1): 1-6. | |
| [8] | MEKONNEN Y, ABURBU H, SARWAT A. Life cycle prediction of sealed lead acid batteries based on a Weibull model[J]. The Journal of Energy Storage, 2018, 18: 467-475. |
| [9] | LI M L, LIU J S, HAN W. Recycling and management of waste lead-acid batteries: a mini-review[J]. Waste Management & Research, 2016, 34(4): 298-306. |
| [10] | 田玉芸. 滑触线在SC型施工升降机中的应用[J]. 现代工业经济和信息化, 2022, 12(1): 164-166. |
| TIAN Yuyun. Application of sliding contact line in SC type construction hoist[J]. Modern Industrial Economy and Informatization, 2022, 12(1): 164-166. | |
| [11] | 焦亚男, 杨志, 张世浩. 实验参数对高性能石英纤维摩擦性能的影响[J]. 纺织学报, 2019, 40(7): 38-43,50. |
| JIAO Yanan, YANG Zhi, ZHANG Shihao. Effects of experimental parameters on friction properties of high performance quartz fibers[J]. Journal of Textile Research, 2019, 40(7): 38-43,50. | |
| [12] |
向忠, 刘杨, 钱淼, 等. 纤维及其制品摩擦性能测试方法的研究进展[J]. 纺织学报, 2018, 39(11): 168-175.
doi: 10.13475/j.fzxb.20171202708 |
|
XIANG Zhong, LIU Yang, QIAN Miao, et al. Research progress in testing methods of friction properties of fibers and their products[J]. Journal of Textile Research, 2018, 39(11): 168-175.
doi: 10.13475/j.fzxb.20171202708 |
|
| [13] | 杨小龙, 李胜, 江文斌. 给茧机无绪茧自动抓取装置设计与分析[J]. 现代纺织技术, 2023, 31(3): 21-26. |
| YANG Xiaolong, LI Sheng, JIANG Wenbin. Design and analysis of automatic grabbing device for cocoon feeding machine[J]. Advanced Textile Technology, 2023, 31(3): 21-26. | |
| [14] | 戴宁, 彭来湖, 胡旭东, 等. 基于轴向运动悬臂梁理论的无缝内衣机织针横向振动特性[J]. 纺织学报, 2021, 42(2): 193-200. |
| DAI Ning, PENG Laihu, HU Xudong, et al. Transverse vibration characteristics of needle in seamless underwear machine based on the theory of axially moving cantilever beam[J]. Journal of Textile Research, 2021, 42(2): 193-200. | |
| [15] | 温泽峰, 金学松, 肖新标. 多步非稳态载荷下钢轨滚动接触应力和弹塑性变形分析[J]. 工程力学, 2007(12):158-163,168. |
| WEN Zefeng, JIN Xuesong, XIAO Xinbiao. Analysis of rolling contact stress and elastic-plastic deformation of rail under multi-step unsteady load[J]. Engineering Mechanics, 2007(12): 158-163,168. | |
| [16] | 吕磊, 董淑超, 孔德龙, 等. 火车车厢余煤智能清理机器人龙门架有限元分析[J]. 科学技术创新, 2023(27): 193-196. |
| LV Lei, DONG Shuchao, KONG Delong, et al. Finite element analysis of gantry of intelligent cleaning robot for residual coal in train compartment[J]. Scientific and Technological Innovation, 2023(27): 193-196. | |
| [17] | 孙玥, 周凌芳, 周祺旋, 等. 运动内衣承托及其动态舒适性能的有限元分析[J]. 纺织学报, 2023, 44(9): 180-187. |
| SUN Yue, ZHOU Lingfang, ZHOU Qixuan, et al. Finite element analysis of supportive performance and dynamic comfort of sports bra[J]. Journal of Textile Research, 2023, 44(9):180-187. |
| [1] | 罗海林, 苏健, 金万慧, 傅雅琴. 新型缫丝成筒技术的工艺优化[J]. 纺织学报, 2023, 44(04): 46-54. |
| [2] | 罗海林, 傅雅琴, 刘柯. 直接成筒缫丝的自动缫丝机结构设计[J]. 纺织学报, 2020, 41(08): 115-120. |
| [3] | 周贤, 王英, 陈建能, 汪锐, 陶德华. 缫丝机卷绕机构参数优化及其试验验证[J]. 纺织学报, 2019, 40(06): 97-105. |
| [4] | 黄继伟, 宁晚娥, 张锋, 左保齐. 基于组合学的茧丝落绪分拆模拟与分析[J]. 纺织学报, 2019, 40(01): 32-39. |
| [5] | 罗军;费万春. 生丝中各层次茧丝数的概率分布[J]. 纺织学报, 2006, 27(2): 1-4. |
| [6] | 徐回祥;王建民. 定粒模拟缫丝中影响生丝纤度偏差的因素[J]. 纺织学报, 2002, 23(06): 39-40. |
| [7] | 徐回祥. 定粒缫丝的计算机模拟试验[J]. 纺织学报, 2002, 23(05): 37-38. |
| [8] | 傅雅琴. 制丝过程中丝条塑性变形的研究[J]. 纺织学报, 2000, 21(02): 46-48. |
| [9] | 凌荣根. 关于当前自缫丝洁净成绩差的原因剖析[J]. 纺织学报, 2000, 21(02): 44-45. |
|
||