Journal of Textile Research ›› 2023, Vol. 44 ›› Issue (08): 151-157.doi: 10.13475/j.fzxb.20220803001

• Dyeing and Finishing & Chemicals • Previous Articles     Next Articles

Reactive dyeing using recycled dyeing wastewater

HAN Bo1, WANG Yulin2, SHU Dawu1,2,3(), WANG Tao1, AN Fangfang1, SHAN Juchuan1   

  1. 1. College of Textile and Garments, Hebei University of Science and Technology, Shijiazhuang, Hebei 050018, China
    2. Zibo Molinhui New Material Co., Ltd., Zibo, Shandong 255000, China
    3. Hebei Emergency Protective Fabric Industrial Technology Research Institute, Xingtai, Hebei 055550, China
  • Received:2022-08-11 Revised:2023-03-11 Online:2023-08-15 Published:2023-09-21

Abstract:

Objective Reactive dyeing is known for its complex dyeing process, high energy and water consumption, and large discharge of colored wastewater, which seriously restricts the transformation and upgrading of the printing process. As an effort to reach "emission peak and carbon neutrality", the development of reactive dye cyclic dyeing with energy saving and emission reduction advantages is conducive to promoting the green and low-carbon production in the printing and dyeing industry.

Method The treatment agent contains compounds with bleaching and oxidizing functions. This wastewater treatment agent was selected for dyeing fabric soaping, realizing the low temperature fast soaping of dyeing fabric and recycling of dyeing wastewater. Taking a type of simulated wastewater as the research object and absorbance as the evaluation index, the treatment and reuse process of wastewater was explored. The feasibility of cyclic dyeing was verified by the determination of dye exhaustion rate, fixation rate and color parameters of dyed fabric.

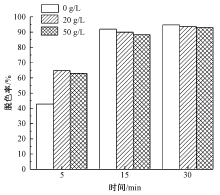
Results The results showed that the decolorization rate of dye solution increased with the increase of temperature, and the higher the temperature the shorter the treatment time (Fig. 2). Under the same treatment time, the higher the treatment agent concentration, the higher the decolorization rate of dye solution, indicating that increasing the concentration of treatment agent was conducive to reducing the number of dye molecules in the waste liquid. In addition, it was found that the same effect could be achieved by prolonging the treatment time when the concentration of treatment agent was low (Fig. 3). When the treatment time was 5 min, the decolorization rate of dye solution with 20 g/L of NaCl was up to 64.7%, which was 21.9% higher than that of without NaCl. Further increasing NaCl concentration to 50 g/L had no significant effect on the decolorization rate of dye solution. Further extending the treatment time to 30 min, NaCl showed little effect on decolorization rate of dye solution (Fig. 6). After treatment at 85 ℃ for 15 min, the maximum absorption wavelength in the visible region disappeared, and the decolorization rate of the dye solution was as high as 99.1% (Fig. 7). When the reactive dye was dyed with recycled water, the dye percentage in the first 30 min was 9.0%-13.9% higher than that of the deionized water at the same time. Increasing the number of dyeing cycles did not change the overall trend of dyeing rate curve (Fig. 8). Compared with the color parameters of the fabric dyed by deionized water, the color of the fabric dyed by cycle was darker, the red and blue light were weakened (Tab. 1).

Conclusion The treatment agent of 3%, the temperature of 85 ℃ and the time of 15 min were appropriate for dealing with 0.07 g/L of C.I. Reactive Red 218 simulated wastewater. The decolorization rate of dyeing wastewater is up to 99.1% after 15 min treatment. Under the same treatment process, the acid condition has the best treatment effect, the neutral condition is the next, and the alkaline condition is the worst. Compared with deionized water, the percentage of reactive dye increased with the extension of dyeing time. During cyclic dyeing, reactive dyes have higher dye exhaustion and fixation rate, and the dyed fabric is darker, and the red and blue light are weakened. This method not only realizes the efficient treatment of dyeing wastewater, but also realizes the reuse of inorganic salts in dyeing residue, which is conducive to energy saving and emission reduction.

Key words: reactive dye, cyclic dyeing, wastewater treatment, decolorization rate, energy saving and emission reduction

CLC Number: 

  • TS193.5

Fig. 1

Dyeing process"

Fig. 2

Decolorization rate of colored wastewater treated at different temperatures"

Fig. 3

Decolorization rate of colored wastewater treated with different mass fraction of treatment agent"

Fig. 4

Photos of colored wastewater treated with different mass fraction of treatment agent"

Fig. 5

Decolorization rate of colored wastewater treated with different pH value"

Fig. 6

Decolorization rate of colored wastewater treated with different concentrations of NaCl"

Fig. 7

Effect of treatment time on UV-Vis absorption spectrum curve of dye solution"

Fig. 8

Effect of cycle times on dyeing rates of reactive dye"

Tab. 1

Color parameters of dyed fabric, exhaustion and fixation rates of reactive dye"

循环
次数
颜色参数 竭染
率/%
固色
率/%
L* a* b* K/S
0 58.7 47.4 -13.8 2.6 64.6 60.3
1 54.5 44.2 -8.3 3.2 67.1 62.9
5 54.5 44.4 -8.4 3.3 73.9 69.8
9 54.1 45.8 -8.4 3.5 74.9 71.1
[1] SHU D W, FANG K J, LIU X M, et al. Cleaner coloration of cotton fabric with reactive dyes using a pad-batch-steam dyeing process[J]. Journal of Cleaner Production, 2018, 196:935-942.
doi: 10.1016/j.jclepro.2018.06.080
[2] KHATRI A, PEERZADA M, MOHSIN M, et al. A review on developments in dyeing cotton fabrics with reactive dyes for reducing effluent pollution[J]. Journal of Cleaner Production, 2015, 87: 50-57.
doi: 10.1016/j.jclepro.2014.09.017
[3] 舒大武, 房宽峻, 刘秀明, 等. 活性染料无盐连续轧-蒸与冷轧堆染色效果的比较[J]. 纺织学报, 2018, 39(4): 77-81.
SHU Dawu, FANG Kuanjun, LIU Xiuming, et al. Comparison on dyeing effect of reactive dyes by salt-free continuous pad-steam dyeing and cold pad-batch dyeing[J]. Journal of Textile Research, 2018, 39(4): 77-81.
[4] 裴刘军, 施文华, 张红娟, 等. 非水介质活性染料染色关键技术体系及其产业化研究进展[J]. 纺织学报, 2022, 43(1): 122-130.
PEI Liujun, SHI Wenhua, ZHANG Hongjuan, et al. Research progress on dyeing key technology system and industrialization of non-aqueous reactive dyes[J]. Journal of Textile Research, 2022, 43(1): 122-130.
[5] 韩莹莹, 孙丽静, 钟毅, 等. 活性染料Pickering乳液非均相浸渍染色[J]. 纺织学报, 2017, 38(11): 79-83.
HAN Yingying, SUN Lijing, ZHONG Yi, et al. Reactive dye Pickering lotion heterogeneous impregnation dyeing[J]. Journal of Textile Research, 2017, 38 (11): 79-83.
[6] 孔舒宸. 印染废水处理方法研究进展[J]. 中国资源综合利用, 2019, 37(1): 70-73.
KONG Shuchen. Research progress of dyeing wastewater treatment methods[J]. China Resources Comprehensive Utilization, 2019, 37(1): 70-73.
[7] 董殿波. 印染废水处理技术研究进展[J]. 染料与染色, 2015, 52(4): 56-62.
DONG Dianbo. Research progress of dyeing wastewater treatment technology[J]. Dyestuffs and Coloration, 2015, 52(4): 56-62.
[8] ZHANG M, CHEN X, XU H, et al. Advanced treatment of printing and dyeing wastewater by activated coke and thermal regeneration of spent activated coke[J]. Desalination and Water Treatment, 2021, 229: 421-429.
doi: 10.5004/dwt
[9] 兰慧芳, 邹专勇, 朱卫红, 等. 颗粒活性炭对模拟活性染料废水的吸附脱色效果[J]. 纺织学报, 2013, 34(5): 70-75.
LAN Huifang, ZOU Zhuanyong, ZHU Weihong, et al. Adsorption and decolorization of simulated reactive dye wastewater by granular activated carbon[J]. Journal of Textile Research, 2013, 34(5): 70-75.
[10] 翟佳. 活性染料印染废水处理工艺研究[J]. 绿色环保建材, 2021(12): 33-34.
ZHAI Jia. Research on the treatment process of reactive dye dyeing wastewater[J]. Green Environmental Protection Building Materials, 2021(12): 33-34.
[11] 刘晓芸, 姚庆才, 陈小利, 等. 活性染料染色残液的循环利用[J]. 印染, 2017, 43(13): 29-32,35.
LIU Xiaoyun, YAO Qingcai, CHEN Xiaoli, et al. Recycling of dyeing residue of reactive dyes[J]. China Dyeing & Finishing, 2017, 43(13): 29-32,35.
[12] 何华玲, 张健飞, 于志财, 等. 阳离子淀粉-膨润土复合絮凝剂对活性染料的吸附[J]. 纺织学报, 2014, 35(7): 101-106.
HE Hualing, ZHANG Jianfei, YU Zhicai, et al. Adsorption of reactive dyes by cationic starch-bentonite composite flocculant[J]. Journal of Textile Research, 2014, 35(7): 101-106.
[13] 王志刚, 崔双科, 王丽贤, 等. 纳米TiO2-PASS复合絮凝剂处理染料废水[J]. 印染, 2014, 40(14): 17-21,34.
WANG Zhigang, CUI Shuangke, WANG Lixian, et al. Treatment of dye wastewater with nano TiO2-Pass composite flocculant[J]. China Dyeing & Finishing, 2014, 40(14): 17-21,34.
[14] 桂澄, 贾凡, 王赏, 等. 萃取法处理模拟活性染料废水[J]. 印染, 2018, 44(18): 40-44.
GUI Cheng, JIA Fan, WANG Shang, et al. Treatment of simulated reactive dye wastewater by extraction[J]. China Dyeing & Finishing, 2018, 44(18): 40-44.
[15] MCYOTTOA F, WEI Q, MACHARIA D, et al. Effect of dye structure on color removal efficiency by coagulation[J]. Chemical Engineering Journal, 2021. DOI: 10.1016/j.cej.2020.126674.
doi: 10.1016/j.cej.2020.126674
[16] 舒大武, 房宽峻, 刘秀明, 等. 织物升温速率对活性染料轧-蒸无盐染色的影响[J]. 纺织学报, 2018, 39(2): 106-111.
SHU Dawu, FANG Kuanjun, LIU Xiuming, et al. Influence of fabric heating rate on salt-free pad-steam dyeing of reactive dye[J]. Journal of Textile Research, 2018, 39(2): 106-111.
[1] GUO Yuqiu, ZHONG Yi, XU Hong, MAO Zhiping. Multi-component quantitative analysis method for dyeing with reactive dyes [J]. Journal of Textile Research, 2023, 44(07): 141-150.
[2] WU Wei, JI Bolin, MAO Zhiping. Review of new dyeing technologies for reactive dyes and disperse dyes [J]. Journal of Textile Research, 2023, 44(05): 1-12.
[3] WANG Guoqin, FU Xiaohang, ZHU Yuke, WU Liguang, WANG Ting, JIANG Xiaojia, CHEN Huali. Photodegradation mechanism and pathway of visible light-response mesoporous TiO2 for Rhodamine B [J]. Journal of Textile Research, 2023, 44(05): 155-163.
[4] QI Haotong, ZHANG Linsen, HOU Xiuliang, XU Helan. Wear performances of cotton fabrics reactive-dyed in salt-free waste cooking oil-water system [J]. Journal of Textile Research, 2023, 44(03): 126-131.
[5] WANG Jinkun, LIU Xiuming, FANG Kuanjun, QIAO Xiran, ZHANG Shuai, LIU Dongdong. Enhancement of anti-wrinkle properties of cotton fabrics by reactive dyeing with two vinyl sulphone groups [J]. Journal of Textile Research, 2023, 44(02): 207-213.
[6] ZHANG Shuai, FANG Kuanjun, LIU Xiuming, QIAO Xiran. Effect of reactive dye structure on performance of colored polymer nanospheres [J]. Journal of Textile Research, 2022, 43(12): 96-101.
[7] QIAO Xiran, FANG Kuanjun, LIU Xiuming, GONG Jixian, ZHANG Shuai, ZHANG Min. Different influence of hydroxyethyl methyl cellulose pretreatment on surface properties of cotton and polyamide [J]. Journal of Textile Research, 2022, 43(11): 127-132.
[8] SHAO Min, WANG Lijun, LI Meiqi, LIU Jinqiang, SHAO Jianzhong. Hydrolysis and bonding properties of reactive dyes in non-aqueous medium with minimal water systems [J]. Journal of Textile Research, 2022, 43(11): 94-103.
[9] ZHENG Linjuan, YU Jia, YIN Chong, LIANG Zhijie, MAO Qinghui. Preparation and photocatalytic properties of cotton fabrics loaded with polymetallic organic framework material [J]. Journal of Textile Research, 2022, 43(10): 106-111.
[10] ZHOU Xiaoju, HU Zhenglong, REN Yiming, XIE Landong. Fabrication and photocatalyic performance of Bi2MoO6 modified TiO2 nanorod array photocatalyst [J]. Journal of Textile Research, 2022, 43(10): 97-105.
[11] YANG Li, WANG Tao, SHI Xianbing, HAN Zhenbang. Preparation of modified polyacrylonitrile fiber supported MoSx/TiO2 composite photocatalyst and its performance for dye degradation [J]. Journal of Textile Research, 2022, 43(09): 149-155.
[12] WANG Jing, LOU Yaya, WANG Chunmei. Preparation and decolorization of iron-based metal\|organic framework/activated carbon fiber composites [J]. Journal of Textile Research, 2022, 43(08): 126-131.
[13] YANG Wenbo, ZHANG Aojie, LIU Youyan, LI Qingyun. Adsorption and decolorization of Reactive Blue 4 by polyurethane foam-immobilized biosystem [J]. Journal of Textile Research, 2022, 43(08): 132-139.
[14] GAO Luxi, LÜ Xuechuan, ZHANG Chi, SONG Hanlin, GAO Xiaohan. Synthesis and decolorizing performance of modified flocculant for treating dyeing wastewater [J]. Journal of Textile Research, 2022, 43(07): 121-128.
[15] LIU Yu, XIE Ruyi, SONG Yawei, QI Yuanzhang, WANG Hui, FANG Kuanjun. One-bath pad dyeing technology for polyester/cotton fabric [J]. Journal of Textile Research, 2022, 43(05): 18-25.
Viewed
Full text


Abstract

Cited

  Shared   
  Discussed   
No Suggested Reading articles found!