Journal of Textile Research ›› 2025, Vol. 46 ›› Issue (06): 31-37.doi: 10.13475/j.fzxb.20241001901

• Column of Youth Scientists′Salon on New Fiber Materials and Green Textile Development • Previous Articles     Next Articles

Preparation and touching characterization of textile-based touch electronics fabric

XU Tong1, XU Ruidong1, WANG Yiwen1, TIAN Mingwei1,2()   

  1. 1. College of Textile and Clothing, Qingdao University, Qingdao, Shandong 266071, China
    2. Health & Protective Smart Textiles Research Center, Qingdao University, Qingdao, Shandong 266071, China
  • Received:2024-10-11 Revised:2025-02-28 Online:2025-06-15 Published:2025-07-02
  • Contact: TIAN Mingwei E-mail:mwtian@qdu.edu.cn

Abstract:

Objective The bionic reconfiguration of touch as a basic human sensory channel has become a key scientific issue in the development of artificial intelligence and robotics. But, most of the current touch sensing devices are composed of composite electrodes with hydrogel as the sensing layer, which has inherent problems such as poor bio-compatibility and low inter-facial fastness. Therefore, this work provide a strategy to address the above issues. Silk fabric with natural bio-compatibility is used as substrate material. Conductive waterborne polyurethane(WPU) which can form inter-molecular interactions with silk fabric is used as upper material, constructing textile-based touch electronics fabric.

Method Textile-based touch electronics fabric has a laminated structure with a conductive waterborne polyurethane upper layer and a silk fabric lower layer. Conductive waterborne polyurethane which is a blend of waterborne polyurethane and multi-walled carbon nanotube has excellent electrical properties and stability. Waterborne polyurethanes are synthesized by the self-emulsification method. Electronics fabric can recognize touch position, because before touching electronics fabric has been construct uniform electric field. When touching electronics fabric, electrical circuit is built and touch current is stimulated. Based on natural skin-friendly and presence of inter-molecular interaction between silk and conductive waterborne polyurethane, electronics fabric has high bio-compatibility and stable inter-facial fastness.

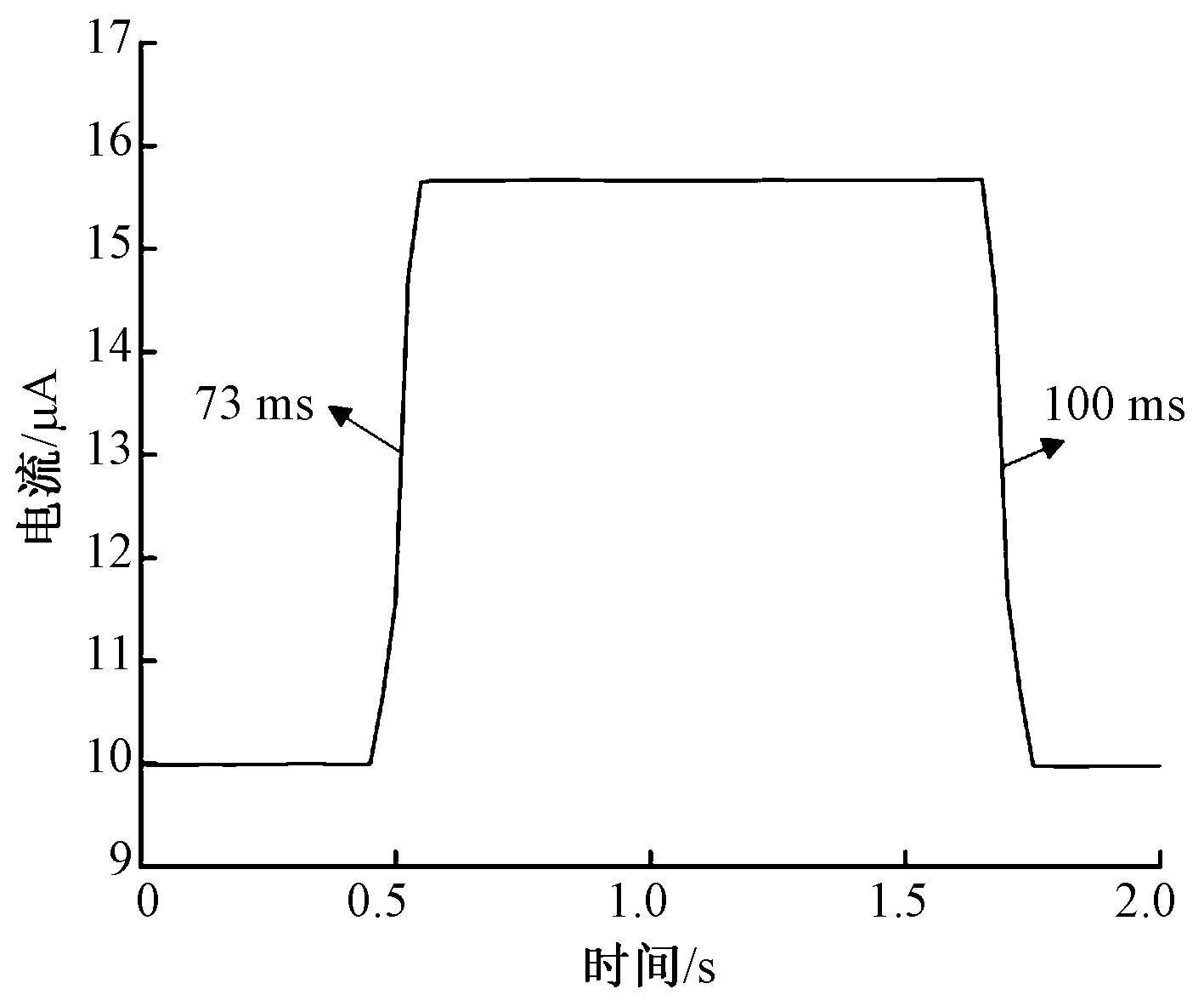
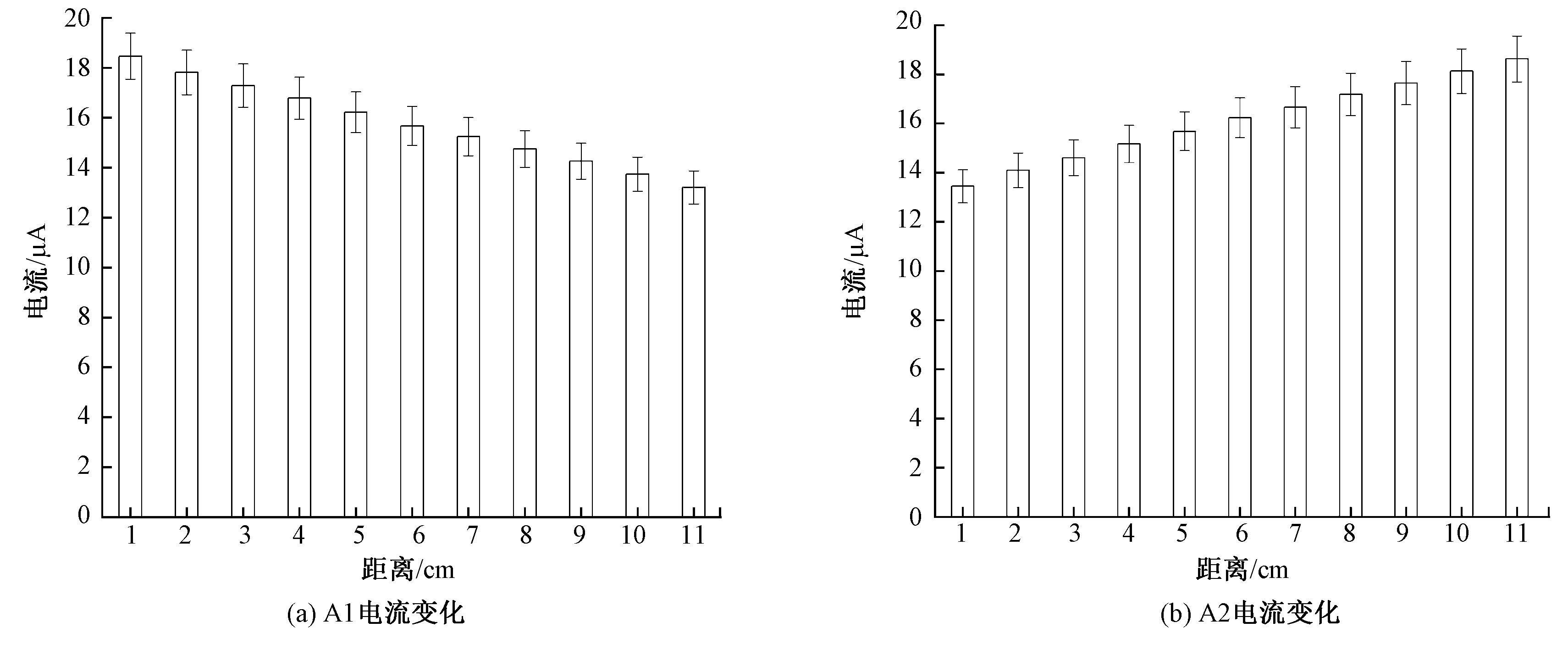
Results Select 11 points on the surface of the electronics fabric at equal intervals and touch them sequentially from left to right. The results displayed that the touch current monitored by the A1 ammeter decreases and touch current with A2 rises insteps, which the sum of current monitored by two ammeters is constant. Choosing the midpoint of the fabric as the test point, the test found that the response time is 73 ms and the recovery time is 100 ms, which proves that the touch electronics fabric has a high response speed. Touching the midpoint of the fabric for 500 times and comparing the change of touch current for 1, 50, 100, 300 and 500 times, the result shows that the change rate of touch current is only 0.118%, which proves that the touch electronic fabric has excellent touch stability. Touch electronics fabric is placed for 60 d and the midpoint is selected as the touch point. Comparing the change of touch current in 0, 5, 10, 15, 30 and 60 d, the result proves that the change rate of touch current is less than 1.5%, which proves that the touch electronic fabric has excellent touch durability. Different bending angles, including 30°, 60°, 90°, 120°, 150°, 180°, are applied to touch electronics fabric, and the midpoint of touch electronics fabric is selected as touch point. By monitoring the change of touch current under different angles, the result proves that the maximum fluctuation of touch current is only 5%, which proves that the touch electronic fabric can still work under the bending state. In addition touch electronics fabric is successfully applied to the development of a flexible keyboard. The electronics fabric is divided into three parts, the left, middle, right parts correspond to the left, down and right movement in the control of Tetris. Based on this function, the interface interaction can be realized by dividing the touch electronics fabric into different zones.

Conclusion A textile-based touch electronics fabric with silk fabric as the substrate and waterborne polyurethane/multi-walled carbon nanotubes as the conductive paste is prepared and investigated, which solves the bottlenecks such as poor bio-compatibility and low inter-facial fastness of traditional ionogel-based touch devices. The silk touch electronics fabric has excellent touch sensing characteristics such as high-precision touch positioning function, excellent response time (73 ms), touch stability and touch durability. In addition, the touch electronics fabric also has deformation insensitive characteristics, and the touch current of the textile can still be maintained constant after many times of bending and deformation. On this basis, a fabric control interface is developed to realize touch game control, which has a broad application prospect in the field of intelligent wearable human-computer interaction.

Key words: waterborne polyurethane, self-emulsification method, touch electronics fabric, coupling capacitance, touch sensing, silk fabric

CLC Number: 

  • TM242

Fig.1

Fourier transform infrared spectroscopy of IPDI (a) and waterborne polyurethane films (b)"

Fig.2

Rheological properties of conductive waterborne polyurethanes mixed slurry with different content of MWCNT"

Fig.3

Microscopic morphology of touch electronics fabrics. (a)Cross-sectional morphology of touch electronic fabric;(b)Silk fabric surface"

Fig.4

Schematic diagram of touch principle of touch electronics fabrics"

Fig.5

Current change law of touch electronic fabricss. (a)Change in current of A1; (b)Change in current of A2"

Fig.6

Response time of touch electronics fabrics"

Fig.7

Touch interactive display of touch electronics fabrics"

[1] FANG Cuiqin, XU Bingang, LI Meiqi, et al. Advanced design of fibrous flexible actuators for smart wearable applications[J]. Advanced Fiber Materials, 2024, 6(3): 622-657.
[2] HAN Fei, GE Ping, WANG Fei, et al. Smart contact lenses: from rational design strategies to wearable health monitoring[J]. Chemical Engineering Journal, 2024. DOI:10.1016/j.cej.2024.154823.
[3] LI Jianye, DING Qiongling, WANG Hao, et al. Engineering smart composite hydrogels for wearable disease monitoring[J]. Nano-Micro Letters, 2023. DOI:10.1007/s40820-023-010679-5.
[4] WU Wenlong, REN Yukun, JIANG Tianyi, et al. Anti-drying, transparent, ion-conducting, and tough organohydrogels for wearable multifunctional human-machine interfaces[J]. Chemical Engineering Journal, 2021. DOI: 10.1016/j.cej.2021.132635.
[5] ZHAO Xuefeng, YANG Shiqi, WEN Xiaohong, et al. A fully flexible intelligent thermal touch panel based on intrinsically plastic Ag2S semiconductor[J]. Advanced Materials, 2022. DOI:10.1002/adma.202107479.
[6] JUNG Young, CHOI Jungrak, LEE Wookjin, et al. Irregular microdome structure-based sensitive pressure sensor using internal popping of microspheres[J]. Advanced Functional Materials, 2022. DOI:10.1002/adfm.202201147.
[7] 徐瑞东, 王航, 曲丽君, 等. 聚乳酸非织造基材触摸传感电子织物制备及其性能[J]. 纺织学报, 2023, 44(9):161-167.
XU Ruidong, WANG Hang, QU Lijun, et al. Preparation and properties of polyactic acid nonwoven substrate touch-sensing electronic textile[J]. Journal of Textile Research, 2023, 44(9): 161-167.
[8] XU Lin, PAN Ying, WANG Xxuanqi, et al. Reconfigurable touch panel based on a conductive thixotropic supramolecular hydrogel[J]. ACS Applied Materials & Interfaces, 2023, 15(3): 4458-4468.
[9] KIM Wonhyo, KWAK Yeon Hwa, PARK Kwang Bum, et al. Development of a touch sensor capable of touch and touch load recognition[J]. Sensors and Actuators A: Physical, 2017, 264: 298-307.
[10] PARK Byound Joon, OH Seungwoo, KIM Felix Sunjoo, et al. Pixel-free capacitive touch sensor using a single-layer ion gel[J]. Journal of Materials Chemistry C, 2019. DOI:10.1039/c9tc02809a.
[11] SONG Yu, CHEN Haotian, CHEN Xuexian, et al. All-in-one piezoresistive-sensing patch integrated with micro-supercapacitor[J]. Nano Energy, 2018. DOI:10.1016/j.nanoen.2018.08.041.
[12] YAP Lim Wei, GONG Shu, TANG Yue, et al. Soft piezoresistive pressure sensing matrix from copper nanowires composite aerogel[J]. Science Bulletin, 2016. DOI:10.1007/s11434-016-1149-0.
[13] LEE Yongjun, KIM Jiejung, JANG Bongkyun, et al. Graphene-based stretchable/wearable self-powered touch sensor[J]. Nano Energy, 2019, 62: 259-267.
doi: 10.1016/j.nanoen.2019.05.039
[14] HU Zhihao, HUI Xiandan, LI Shengming, et al. A self-powered, high-precision and minimum-channel touch panel coupling triboelectrification and uniform resistance film[J]. Nano Energy, 2023. DOI:10.1016/j.nanoen.2023.108676.
[15] CAREY Tian, JONES Chris, LE Moal Fred, et al. Spray-coating thin films on three-dimensional surfaces for a semitransparent capacitive-touch device[J]. ACS Applied Materials & Interfaces, 2018. DOI:10.1021/acsami.8b02784.
[16] WON Byound Yeon, AHN Jun Ki, PARK Hyun Gyu. New surface capacitive touchscreen technology to detect DNA[J]. ACS Sensors, 2016. DOI:10.1021/acssensors.6b00040.
[17] TKACHEV Sergey, MONTEIRO Miguel, SANTOS Joao, et al. Environmentally friendly graphene inks for touch screen sensors[J]. Advanced Functional Materials, 2021. DOI:10.1002/adfm.202103287.
[18] GUO Xingkui, YANG Fan, LIU Wenbo, et al. Skin-inspired self-healing semiconductive touch panel based on novel transparent stretchable hydrogels[J]. Journal of Materials Chemistry A, 2021, 9(26): 14806-14817.
[19] CHEN Zhengliu, LI Fang, ZHANG Likun, et al. Temperature tolerant all-solid-state touch panel with high stretchablity, transparency and self-healing ability[J]. Chemical Engineering Journal, 2022. DOI:10.1016/j.cej.2022.138672.
[20] HAN Chuang, YANG Fan, GUO Xingkui, et al. Ultra-stretchable self-healing composite hydrogels as touch panel[J]. Advanced Materials Interfaces, 2021. DOI:10.1002/admi.202100742.
[21] KUMAR Udit, FOX Candance R, FEIT Corbin, et al. ALD based nanostructured zinc oxide coated antiviral silk fabric[J]. RSC Advances, 2022. DOI:10.1039/d2ra02653h.
[22] LI Jia, WANG Boxiang, LIN Jie, et al. Multifunctional surface modification of mulberry silk fabric via PNIPAAm/Chitosan/PEO nanofibers coating and cross-linking technology[J]. Coatings, 2018. DOI:10.3390/coatings8020068.
[23] WU Di, WENG Ling, ZHANG Xiaorui, et al. Flexible, wearable multilayer piezoresistive sensor based on mulberry silk fabric for human movement and health detection[J]. Journal of Materials Science: Materials in Electronics, 2023. DOI:10.1007/s10854-023-10691-5.
[24] CHAI Chunpeng, MA Yifei, LI Guoping, et al. The preparation of high solid content waterborne polyurethane by special physical blending[J]. Progress in Organic Coatings, 2018. DOI:10.1016/j.porgcoat.2017.10.021.
[25] ZHAO Baobao, QIAN Yao, QIAN Xiaoming, et al. Fabrication and characterization of waterborne polyurethane/silver nanocomposite foams[J]. Polymer Composites, 2018. DOI:10.1002/pc.24888.
[26] LEHMAN John H, TERRONES Mauricio, MANSFIELD Elisabeth, et al. Evaluating the characteristics of multiwall carbon nanotubes[J]. Carbon, 2011, 49(8):2581-2602.
[27] YUDIN V V, KOVYLIN Roman S, BATEN'KIN Maxim A, et al. Visible-light induced synthesis of biocompatible porous polymers from oligocarbonatedimethacrylate (OCM-2) in the presence of dialkyl phthalates[J]. Polymer, 2020. DOI:10.1016/j.polymer.2020.122302.
[28] ZHAO Linhe, HONG Chengyu, WANG Chuanhao, et al. Enhancement of the adhesion strength of water-based ink binder based on waterborne polyurethane[J]. Progress in Organic Coatings, 2023. DOI:10.1016/j.porgcoat.2023.107765.
[1] SHI Sheng, WANG Yazhou, WANG Shuhua, PANG Mingke, LI Xin, ZHANG Meiling, GAO Chengyong. Preparation of fluorinated waterborne polyurethane from waste polyester fibers by alcoholysis [J]. Journal of Textile Research, 2025, 46(06): 8-16.
[2] YUE Xinyan, SHAO Jianbo, WANG Xiaohu, HAN Xiao, ZHAO Xiaoman, HONG Jianhan. One-dimensional structured flexible capacitive sensors based on silver coated polyamide fiber/polyamide fiber/waterborne polyurethane composite yarns [J]. Journal of Textile Research, 2025, 46(03): 82-89.
[3] WANG Lijie, YANG Jianjun, WU Qingyun, WU Mingyuan, ZHANG Jian'an, LIU Jiuyi. Preparation and properties of itaconic acid polyethylene glycol monoether ester end-capped waterborne polyurethane fabric coating agent [J]. Journal of Textile Research, 2024, 45(10): 145-151.
[4] XIAO Ningning, CHEN Zhijie, OUYANG Yufu, MENG Jingui, SUN Yangyi, QI Dongming. Preparation and characterization of waterborne flame retardant polyurethane for microfiber synthetic leather [J]. Journal of Textile Research, 2024, 45(09): 113-120.
[5] DAI Jiayang, HU Yifeng, WANG Yujing, WU Dongping, BIAN Xinger, XU Jianmei. Carbon footprint accounting and evaluation during silk refining stage [J]. Journal of Textile Research, 2024, 45(08): 190-197.
[6] XU Yusong, ZHOU Jie, GAN Jiayi, ZHANG Tao, ZHANG Xianming. Preparation of phosphorus and nitrogen containing waterborne polyurethane and its application in polyester fabrics for flame retardant finishing [J]. Journal of Textile Research, 2024, 45(07): 112-120.
[7] LI Chen, WANG Dong, ZHONG Hongtian, DONG Peng, FU Shaohai. Synthesis and application of microfiber leather impregnated with waterborne polyurethane [J]. Journal of Textile Research, 2024, 45(03): 129-136.
[8] CHEN Kun, XU Jingying, ZHENG Yiqian, LI Jialin, HONG Xinghua. Conductivity and electrical heating properties of reduced graphene oxide modified silk fabric by screen printing [J]. Journal of Textile Research, 2024, 45(03): 122-128.
[9] SUN Guoqiang, YANG Jianjun, WU Qingyun, WU Mingyuan, ZHANG Jian'an, LIU Jiuyi. Preparation and properties of internal crosslinking self-matting waterborne polyurethane resin [J]. Journal of Textile Research, 2023, 44(07): 151-158.
[10] PANG Mingke, WANG Shuhua, SHI Sheng, XUE Lizhong, GUO Hong, GAO Chengyong, LU Jianjun, ZHAO Xiaowan, WANG Zihan. Preparation and application of flame retardant waterborne polyurethane by alcoholysis of waste polyethylene terephthalate fiber [J]. Journal of Textile Research, 2023, 44(02): 214-221.
[11] MA Yiping, FAN Wuhou, WU Jinchuan, PU Zongyao. Preparation and application of fully aqueous organic-inorganic hybrid fluorine-free water-repellant finishing agents [J]. Journal of Textile Research, 2022, 43(02): 183-188.
[12] LU Peng, HONG Sisi, LIN Xu, LI Hui, LIU Guojin, ZHOU Lan, SHAO Jianzhong, CHAI Liqin. Preparation of reactive dye/polystyrene composite colloidal microspheres and their structural coloring on silk fabrics [J]. Journal of Textile Research, 2021, 42(01): 90-95.
[13] GUO Lang, WANG Liqin, ZHAO Xing. Thermal aging and life prediction of silk fabrics [J]. Journal of Textile Research, 2020, 41(07): 47-52.
[14] ZHANG Wei, MAO Qingkai, ZHU Peng, CHAI Xiong, LI Huijun. Kinetic and thermodynamic of reactive dye study on silk fabric modification in ethanol/water system [J]. Journal of Textile Research, 2020, 41(06): 86-92.
[15] SONG Huijun, ZHAI Yali, CHAO Yiyuan, ZHU Chaoyu. Silk fabric dyed with gardenia blue pigment [J]. Journal of Textile Research, 2020, 41(06): 81-85.
Viewed
Full text


Abstract

Cited

  Shared   
  Discussed   
No Suggested Reading articles found!