Journal of Textile Research ›› 2025, Vol. 46 ›› Issue (08): 53-61.doi: 10.13475/j.fzxb.20241104401

• Fiber Materials • Previous Articles     Next Articles

Study on crystallization kinetics of titanium polyester for industrial yarns

JIANG Tingguo1,2, KUANG Jun3, SI Hu4, ZHANG Yumei1,2, CHEN Ye1,2(), WANG Huaping1,2   

  1. 1. College of Materials Science and Engineering, Donghua University, Shanghai 201620, China
    2. State Key Laboratory of Advanced Fiber Materials, Donghua University, Shanghai 201620, China
    3. Sinopec (Shanghai) Petrochemical Research Institute Co., Ltd. Shanghai 201208, China
    4. Sinopec Yizheng Chemical Fiber Co., Ltd., Yizheng, Jiangsu 211900, China
  • Received:2024-11-19 Revised:2025-04-07 Online:2025-08-15 Published:2025-08-15
  • Contact: CHEN Ye E-mail:chenye@dhu.edu.cn

Abstract:

Objective In this paper, two crystallization kinetics were used to analyze the crystallization behavior of titanium and antimony series high viscosity polyesters, and the effects of different catalytic systems on the crystallinity of high viscosity polyester chips were discussed. The differences and improvement measures of titanium polyester industrial yarn in production and other aspects compared with antimony polyester industrial yarn were deduced, and the application of titanium polyester industrial yarn in related fields was finally expanded.

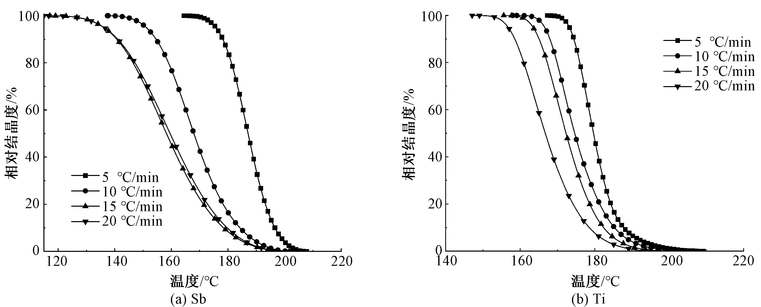
Method The thermal stability of polyester chips for industrial yarns was characterized by thermogravimetry and differential scanning, and the crystallization performance of the chips was tested by combining XRD with differential scanning. In addition, the isothermal crystallization and non-isothermal crystallization tests were carried out by differential scanning calorimeter, and the Avrami equation was used to analyze and fit them.ResultsThrough the thermal stability test, it was found that polyester chips catalyzed by titanium and antimony for industrial yarns had only one weight loss step, and the initial decomposition temperatures of the two were very close. The crystallization performance test was characterized by the combination of differential scanning and XRD. Both differential scanning and XRD showed that the crystallinity of the titanium system was higher than that of the antimony system. In addition, in terms of differential scanning, the cooling crystallization peak of the titanium system is narrower and sharper than that of the antimony system, which preliminarily proves that the crystallization rate of the titanium system is faster. In the XRD test, there were four crystal planes (0,-1,1), (0,1,0), (-1,1,0), (1,0,0), which proves that there is no significant difference between the crystal plane structure and the conventional polyester. From the perspective of slicing, the production of industrial yarns was only related to its own intrinsic viscosity. In the isothermal crystallization test, as the temperature continues to increase, the crystallization peak continued to shift to the right and the peak shape gradually became wider. The molecular chain movement appeared more intense, the crystal nucleus was not conducive to formation, and the crystallization time became longer. Through the analysis and fitting of Avrami equation, it was found that ln(-ln(1-Xt)) (Xt means relative crystallinity) has a good linear relationship with lnt. With the continuous increase of temperature, the n value showed a decreasing trend. It is speculated that with the increase of crystallization temperature and the increase of melting time, the structure of microcrystalline nucleus is greatly destroyed, the growth point of crystallization is greatly reduced, and the molecular chain is difficult to achieve large-scale diffusion and adjustment.. In the non-isothermal crystallization test, the peak value was constantly shifted to the left and the peak shape is gradually widened with the increase of the cooling rate, due to the fact that the polyester molecular chain is too late to crystallize. Through the analysis and fitting of the Avrami equation, it is found that the semi-crystallization time of the titanium system was shorter, leading to the upward movement of the curing point in the spinning and cooling process, the increase of the stress gradient and the velocity gradient, which may cause uneven spinning and drawing. Therefore, in the follow-up, the first roller speed would be appropriately reduced to alleviate this problem.

Conclusion Both differential scanning and XRD tests show that the crystallinity of the titanium system is higher than that of the antimony system. Isothermal crystallization and non-isothermal crystallization were used to characterize the crystallization kinetics. It can be found that the crystallization rate of the titanium system is faster, and the crystallization performance is better. The activation energy of non-isothermal crystallization of titanium system is lower, and non-isothermal crystallization activation energy is usually related to the activation energy required for nucleation stability and the activation energy required for segment diffusion into the crystal plane, so the previous relevant conclusions can be verified. Finally, due to the shorter half crystallization time of the titanium system, there may be some problems in the spinning process, so the subsequent drafting process will be adjusted by appropriately reducing the drafting speed of the first roller.

Key words: polyester chips for industrial yarn, crystallization kinetics, spherulites, non-isothermal crystallization activation energy, titanium system polyester, antimony system polyester

CLC Number: 

  • TQ323.41

Fig.1

TG(a) and DTG(b) curves of polyester chips for industrial yarn"

Fig.2

DSC curves of polyester chips for industrial yarn. (a) Heating curves; (b) Cooling curves"

Fig.3

X-ray diffraction curves of polyester chips for different industrial yarns"

Fig.4

Isothermal crystallization DSC curves of polyester chips for industrial yarn at different crystallization temperatures"

Fig.5

Relationship between relative crystallinity and time of polyester chips for industrial yarn at different crystallization temperatures"

Fig.6

Relationship between ln(-ln(1-Xt))and lnt at different crystallization temperatures of polyester chips for industrial yarn"

Tab.1

Isothermal crystallization kinetic parameters of polyester chips for industrial yarn"

样品 Tc/℃ n t1/2/min lnZt R2
180 2.590 1.565 -1.495 52 0.989 16
Sb 185 2.348 2.106 -2.051 59 0.986 83
190 2.262 2.195 -2.079 29 0.988 10
195 2.080 3.053 -2.647 14 0.984 63
196 2.279 0.429 1.481 00 0.991 40
Ti 199 2.064 0.626 0.343 96 0.984 36
202 1.867 0.888 -0.450 81 0.971 05
205 1.920 1.475 -1.389 77 0.963 83

Fig.7

Non-isothermal crystallization DSC curves of polyester chips for industrial yarn at different cooling rates"

Fig.8

Relationship between relative crystallinity and temperature of polyester chips for different industrial yarns"

Fig.9

Relationship between relative crystallinity and time of polyester chips for different industrial yarns"

Fig.10

Relationship between ln (-ln(1-Xt)) and lnt of polyester chips for different industrial yarns"

Tab.2

Non-isothermal crystallization kinetic parameters of polyester chips for different industrial yarns"

样品 β/(℃·min-1) n t1/2/min Zt R2
5 2.675 4.13 0.018 0.983 83
Sb 10 2.604 3.44 0.032 0.979 11
15 2.597 2.87 0.052 0.975 12
20 2.837 2.10 0.099 0.991 77
5 2.302 5.87 0.004 0.948 82
Ti 10 2.343 3.00 0.024 0.950 83
15 2.663 1.81 0.113 0.950 34
20 3.154 1.50 0.230 0.968 88

Fig.11

ln (Φ/ T p 2)-1/Tp relation curve of polyester chips for industrial yarn"

[1] 于亮. 涤纶工业丝牵伸过程中的结构与性能研究[D]. 杭州: 浙江理工大学, 2022: 1-10.
YU Liang. Study on the structure and properties of polyester industrial yarn during drafting process[D]. Hangzhou: Zhejiang University of Technology, 2022: 1-10.
[2] 张颖, 宋明根, 姬洪, 等. 热定形工艺对高强型聚酯工业丝结构性能的影响[J]. 纺织学报, 2023, 44(9): 43-51.
ZHANG Ying, SONG Minggen, JI Hong, et al. Effect of heat setting process on the structure and properties of high strength polyester industrial yarn[J]. Journal of Textile Research, 2023, 44 (9): 43-51.
[3] 林启松, 高峰, 吕汪洋, 等. 钛系聚对苯二甲酸乙二醇酯的增黏行为及其性能[J]. 纺织学报, 2022, 43(7): 9-16.
LIN Qisong, GAO Feng, LÜ Wangyang, et al. Viscosity-increasing behavior and properties of titanium-based polyethylene terephthalate[J]. Journal of Textile Research, 2022, 43 (7): 9-16.
[4] 孙宾, 王鸣义. 钛系催化剂在PET合成领域的应用进展及趋势(下)[J]. 纺织导报, 2019, (10): 46-48.
SUN Bin, WANG Mingyi. Application progress and trend of titanium-based catalysts in the field of PET synthesis (II)[J]. China Textile leader, 2019(10): 46-48.
[5] 孙娜, 邵义伟, 王丽丽, 等. 高黏PET切片分子质量及其分布对结晶性能的影响[J]. 合成纤维, 2024, 53(7): 7-13.
SUN Na, SHAO Yiwei, WANG Lili, et al. The effect of molecular weight and its distribution of high viscosity PET chips on crystallization properties[J]. Synthetic Fibers in China, 2024, 53 (7): 7-13.
[6] 吴迪. 共聚型阻燃PET纤维的制备及其结构性能研究[D]. 上海: 东华大学, 2022: 28-34.
WU Di. Preparation and structural properties of flame retardant PET fiber[D]. Shanghai: Donghua university, 2022: 28-34.
[7] 储永竞, 邱志成, 李鑫, 等. 连续原位聚合黑色PET的结晶行为研究[J]. 合成纤维工业, 2022, 45(5): 1-10.
CHU Yongjing, QIU Zhicheng, LI Xin, et al.. Study on the crystallization behavior of continuous in-situ polymerization black PET[J]. China Synthetic fiber industry, 2022, 45 (5): 1-10.
[8] 明贺娜, 赵鹏, 张宝予, 等. 抗菌聚酯纤维的制备及性能[J]. 印染, 2024, 50(12): 51-54.
MING Hena, ZHAO Peng, ZHANG Baoyu, et al. Preparation and properties of antibacterial polyester fiber[J]. China Printing and Dyeing, 2024, 50 (12): 51-54.
[9] 张仲荣, 谢宇, 李明贺, 等. 聚乳酸的非等温结晶动力学研究[J]. 上海塑料, 2023, 51(2): 13-18.
ZHANG Zhongrong, XIE Yu, LI Minghe, et al., Non-isothermal crystallization kinetics of polylactic acid[J]. Shanghai Plastics, 2023, 51 (2): 13-18.
[10] 徐蕾, 梁乃川, 王筱媛, 等. PLA/芳基取代酰肼类成核剂共混物等温结晶动力学[J]. 工程塑料应用, 2023, 51(12): 118-124.
XU Lei, LIANG Naichuan, WANG Xiaoyuan, et al. Isothermal crystallization kinetics of PLA/aryl substituted hydrazide nucleating agent blends[J]. Engineering Plastics Applications, 2023, 51 (12): 118-124.
[11] 王新东. 高强大伸长涤纶工业丝的制备及性能研究[D]. 杭州: 浙江理工大学, 2016: 25-34.
WANG Xindong. Preparation and properties of high-strength elongation polyester industrial yarn[D]. Hangzhou: Zhejiang Sci-Tech University, 2016: 25-34.
[12] LI Faxue, LUO Shengli, YU Jianyong. Mechanical, thermal properties and isothermal crystallization kinetics of biodegradable poly(butylene succinate-co-terephthalate) (PBST) fibers[J]. Journal of Polymer Research, 2009, 17(2): 279-287.
[13] 卢先博. 不同尼龙的等温结晶行为研究[J]. 上海塑料, 2023, 51(6): 36-43.
LU Xianbo. Isothermal crystallization behavior of different nylons[J]. Shanghai Plastics, 2023, 51 (6): 36-43.
[14] 边界, 叶胜荣, 封麟先. PET,PBT结晶过程Avrami方程的探讨[J]. 高等学校化学学报, 2000(9): 1481-1484.
BIAN Jie, YE Shengrong, FENG Linxian. Discussion on Avrami equation of PET, PBT crystallization pro-cess[J]. Journal of Chemistry of Colleges and Universi-ties, 2000(9): 1481-1484.
[15] 李金平, 朱兴松. 快结晶PET的合成及性能研究[J]. 合成技术及应用, 2022, 37(4): 26-31.
LI Jinping, ZHU Xingsong. Synthesis and properties of fast crystalline PET[J]. Synthesis Technology and Application, 2022, 37 (4): 26-31.
[16] 王宇遥, 胡圳, 王洪学, 等. 热塑性共聚改性聚乙烯醇的结晶动力学[J]. 合成树脂及塑料, 2023, 40(3): 48-53.
WANG Yuyao, HU Zhen, WANG Hongxue, et al. Crystallization kinetics of thermoplastic copolymerized polyvinyl alcohol[J]. Synthetic Resins and Plastics, 2023, 40 (3): 48-53.
[17] 吴迪, 白桢慧, 孙莉娜, 等. 阻燃PET共聚酯的等温结晶动力学研究[J]. 东华大学学报(自然科学版), 2023, 49(1): 8-13,75.
WU Di, BAI Zhenhui, SUN Lina, et al. Isothermal crystallization kinetics of flame retardant PET copolyesters[J]. Journal of Donghua Univer-sity(Natural Science Edition), 2023, 49 (1): 8-13,75.
[18] 陈宁, 胡继锋, 李莉. 长链乙烯酯改性聚乙烯醇的结晶动力学[J]. 合成树脂及塑料, 2017, 34(4): 1-5.
CHEN Ning, HU Jifeng, LI Li. Crystallization kinetics of long chain vinyl ester modified polyvinyl alcohol[J]. Synthetic Resins and Plastics, 2017, 34 (4): 1-5.
[19] 陈志明, 黄洛玮, 司虎, 等. 双向同步拉伸工艺对PET聚酯薄膜性能的影响[J]. 合成技术及应用, 2023, 38(1): 1-6.
CHEN Zhiming, HUANG Luowei, SI Hu, et al. Effect of biaxial synchronous stretching process on the properties of PET polyester film[J]. Synthesis Technology and Application, 2023, 38 (1): 1-6.
[20] GUAN Zhenyu, SUN Na, ZHANG Yue, et al. Feasibility study on titanium-catalyzed polyester for the preparation of high-strength industrial yarns[J]. Journal of Applied Polymer Science, 2024, 141(21):e55417.
[21] ZHANG Xian, ZHAO Shichuen, MOHAMED Gamal Mohamed, et al. Crystallization behaviors of poly(ethy-lene terephthalate) (PET) with monosilane isobutyl-polyhedral oligomeric silsesquioxanes (POSS)[J]. Journal of Materials Science, 2020, 55(29): 14642-14655.
[22] 张雅茹, 杨芝超, 宋文波, 等. 无规共聚聚丙烯的非等温结晶动力学研究[J]. 石油化工, 2023, 52(10): 1380-1387.
doi: 10.3969/j.issn.1000-8144.2023.10.008
ZHANG Yaru, YANG Zhichao, SONG Wenbo, et al. Non-isothermal crystallization kinetics of random copolymerized polypropylene[J]. Petrochemical, 2023, 52 (10): 1380-1387.
[1] ZHANG Xinyu, JIN Xiaopei, ZHU Jintang, CUI Huashuai, WU Pengfei, CUI Ning, SHI Xianning. Improvement of thermal dimensional stability properties of polylactic acid meltblown nonwovens [J]. Journal of Textile Research, 2025, 46(08): 127-135.
[2] XU Xiaotong, JIANG Zhenlin, ZHENG Qinchao, ZHU Keyu, WANG Chaosheng, KE Fuyou. Effect of thermal conductive structure on non-isothermal crystallization behavior of polyethylene terephthalate [J]. Journal of Textile Research, 2022, 43(03): 44-49.
[3] ZHOU Ling, JIN Xiangyu. Controllability of bead structure in hot air-through bonded nonwovens and crystallization kinetics thereof [J]. Journal of Textile Research, 2019, 40(08): 27-34.
[4] . Nonisothermal crystallization kinetics of novel nylon-carbon chain polyamide 1211 [J]. Journal of Textile Research, 2018, 39(12): 1-6.
[5] . Crystallization behavior and spherulites morphology of stereocompolexed poly(lactic acid)s with different molecular weights [J]. Journal of Textile Research, 2016, 37(2): 27-34.
[6] CHEN Haizhen. Influence of nano-TiO2 on crystallization kinetics of polyester [J]. JOURNAL OF TEXTILE RESEARCH, 2010, 31(4): 25-29.
Viewed
Full text


Abstract

Cited

  Shared   
  Discussed   
No Suggested Reading articles found!