Journal of Textile Research ›› 2026, Vol. 47 ›› Issue (1): 98-105.doi: 10.13475/j.fzxb.20250303501

• Textile Engineering • Previous Articles     Next Articles

Technical principle and experiment of real-time core yarn reverse twisting method for snarl-free covered yarns

XU Haowen, AO Limin()   

  1. College of Materials and Textile Engineering, Jiaxing University, Jiaxing, Zhejiang 314001, China
  • Received:2025-03-21 Revised:2025-11-18 Online:2026-01-15 Published:2026-01-15
  • Contact: AO Limin E-mail:aolimin@126.com

Abstract:

Objective In order to address the snarl problem of non-elastic covered yarns caused by the internal stress generated by the outer yarn wrapping, a real-time core yarn reverse twisting method is proposed, aiming at offsetting the reverse twisting moment generated by the outer yarn wrapping through the reverse twisting moment generated by the reverse twisting of the core yarn, so as to achieve a stable structure of snarl-free covered yarns. The core tasks include the verification of the feasibility of two core yarn twisting technologies, i.e. hollow spindle mechanism and doubling twisting mechanism, the clarification of the principle of twist direction matching, and the exploration of the influence of the reverse twisting twist of the core yarn on the snarl index of the covered yarn with a given wrapping twist.

Method Two technologies for realizing the twisting of the core yarn on the hollow spindle covering machine were adopted. The first is twisting by the hollow spindle mechanism, where based on the technical feature of the hollow spindle mechanism of wrapping when in the presence of a core, and twisting when in the absence of a no core, the original hollow spindle components of the equipment were utilized, and the reverse twisting of the core yarn was achieved through the series configuration of the upper-row and lower-row. The second is twisting by the doubling twisting mechanism. The doubling twisting mechanism was utilized to replace the lower-row of hollow spindle mechanisms to achieve the real-time twisting of the core yarn. The advantages and disadvantages of the two twisting methods were analyzed. Polyester filament covered yarns with different levels of core yarn twisting were spun using the hollow spindle twisting mechanism (core yarn 167 dtex, outer wrapping yarn 83 dtex, wrapping twist 500 twists/m); wool/polyester covered yarns with different core yarn twists were spun using the doubling twisting mechanism (28 tex wool yarn as the core yarn, 111 dtex polyester filament as the outer wrapping yarn, and the wrapping twist of 800 twists/m). The closed-loop method (GB/T 7960.6—2013) was adopted to measure the snarl index of the covered yarns, and the influence of twist matching on torque offset was analyzed. The tensile properties were tested by CRE method (GB/T 3916—2013) to investigate the influences of the core yarn twist on covered yarns.

Results For polyester filament covered yarns, when the reverse twist of the core yarn increased from 0 to 400 twists/m, the average value of the snarl index decreased from 140.0 twists/m to 11.6 twists/m, representing a decrease of over 90%. The increase in the twist significantly reduced the self-twisting snarl, and the yarn tended to be stable. For wool/polyester mixed-color covered yarns, as the reverse twist of the core yarn increased, the snarl index of the covered yarn decreased. When the core yarn twist reached 200 twists/m, the snarl index is close to zero (-0.2 twists/m), indicating that the reverse twisting moment was completely offset. For polyester filament covered yarns, the breaking strength increased first and then decreased with the increase of twist of the core yarn, and the elongation at break of the covered yarn was higher than that of the core yarn without twisting, but the change with the twist of the core yarn was not significant. For wool/polyester mixed-color covered yarns, the breaking strength decreased with the increase of twist of the core yarn, and the elongation at break of the covered yarn was lower than that of the core yarn without twisting, but no significant change occurred with the increasing twist of the core yarn.

Conclusion The anti-twisting torque generated by the outer wrapping yarn when wrapping the core yarn causes the non-elastic single-covered yarn to exhibit a snarling phenomenon similar to yarn twisting. By using a twisting mechanism to first apply real-time twisting to the core yarn in a direction opposite to the wrapping twist direction, followed by the covering process, the anti-twisting torque from the core yarn twisting can offset the anti-twisting torque produced by the outer wrapping yarn during covering. This achieves torque balance inside the covered yarn and produces non-snarling covered yarn. Core yarn twisting can be achieved using a hollow spindle mechanism, leveraging its characteristic of wrapping when in the presence of core and twisting when in the absence of a core, or it can be realized with a general-purpose double-twisting mechanism. The former has a smaller core yarn package capacity and is more suitable for core yarns with smaller linear density. The latter, however, requires the core yarn to have higher strength to overcome processing tension, but it can achieve high twist at low speed. For filament core yarns, the twisting direction of the core yarn and the wrapping twist direction only need to meet the requirement of being in opposite configurations. For staple fiber core yarns, due to their inherent initial twist, the reverse twisting direction of the core yarn must be the same as its initial twist direction, while the wrapping twist direction must be opposite to the initial twist direction of the core yarn. The snarl index of the covered yarn decreases as the reverse twist level of the core yarn increases, until the non-snarling state is achieved. The required reverse twist level of the core yarn to achieve non-snarling covered yarn varies depending on the configurations of the core yarn and outer wrapping yarn, as well as the wrapping twist level of the outer wrapping yarn. It must be determined through experiments on the variation of the core yarn's reverse twist level. Twisting the core yarn changes the structure of the covered yarn, which in turn leads to changes in its properties. For different combinations of core yarn and outer wrapping yarn, as well as different wrapping twist configurations, the variation trends of the covered yarn's performance indicators will differ with changes in the core yarn's twist level. Specific analysis through experiments is therefore required.

Key words: covered yarn, snarl-free, reverse twisting of core yarn, hollow spindle mechanism, doubling twisting mechanism, twist direction matching, snarl index

CLC Number: 

  • TS104.1

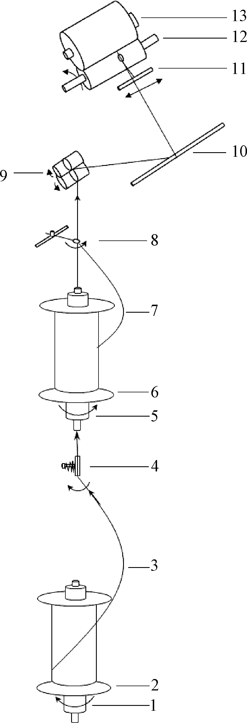
Fig.1

Twisting-covering technology principle of hollow spindle mechanism"

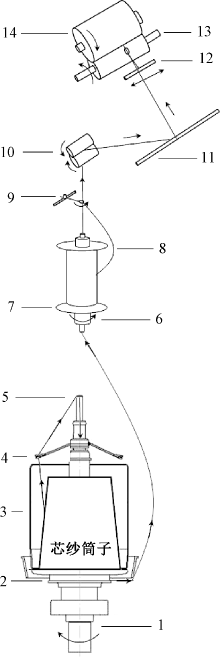
Fig.2

Twisting-wrapping technology principle of double twisting mechanism"

Tab.1

Hollow spindle speeds and core yarn twists"

下排空心锭转速/(r·min-1) 芯纱反向加捻捻度/(捻·m-1)
0 0
2 400 100
4 800 200
7 200 300
9 600 400

Tab.2

Two-for-one spindle speeds and core yarn twists"

下排设定转速/(r·min-1) 芯纱加捻捻度/(捻·m-1)
0 0
525 50
1 050 100
1 575 150
2 100 200

Fig.3

Self twisted forms of 5 polyester filament covered yarns after folding"

Tab.3

Snarl indexes of polyester filament covered yarns with different core yarn twists"

芯纱捻度/
(捻·m-1)
平均扭结指数/
(捻·m-1)
扭结指数
CV值/%
0 140.0 6.51
100 116.1 13.12
200 64.4 10.80
300 37.1 6.62
400 11.6 5.06

Fig.4

Self twisted forms of 5 wool/polyester covered yarns after folding"

Tab.4

Snarl indexes of wool/polyester covered yarns with different core yarn twists"

芯纱捻度/
(捻·m-1)
平均扭结指数/
(捻·m-1)
扭结指数
CV值/%
0 29.6 8.78
50 18.0 10.54
100 17.4 3.78
150 10.4 3.10
200 -0.2 1.14

Tab.5

Tensile properties of polyester filament covered yarns with different core yarn twists"

芯纱捻度/
(捻·m-1)
断裂强力 断裂伸长率
平均值/cN CV值/% 平均值/% CV值/%
0 976.4 1.6 27.2 4.7
100 944.3 1.8 29.5 3.5
200 979.9 0.8 29.3 2.5
300 989.7 1.4 29.2 4.2
400 915.2 1.2 29.7 3.9

Tab.6

Tensile properties of wool/polyester covered yarns with different core yarn twists"

芯纱捻度/
(捻·m-1)
断裂强力 断裂伸长率
平均值/cN CV值/% 平均值/% CV值/%
0 652.8 5.2 14.0 4.7
50 582.2 8.1 11.8 9.7
100 591.9 10.9 11.7 9.8
150 540.6 8.5 11.8 9.7
200 567.1 10.9 11.6 11.9
[1] 敖利民, 唐雯. 捻度和捻向配置对双包包覆纱性能的影响[J]. 纺织学报, 2023, 44(7): 50-56.
AO Limin, TANG Wen. Influences of twist and twist direction arrangement on properties of double covered yarns[J]. Journal of Textile Research, 2023, 44(7): 50-56.
[2] 敖利民, 潘柳菲, 唐雯, 等. 四轴系喂入包覆纱的复合结构与性能[J]. 纺织学报, 2025, 46(1): 52-61.
AO Limin, PAN Liufei, TANG Wen, et al. Composite structures and properties of quadratically-fed covered yarns[J]. Journal of Textile Research, 2025, 46(1): 52-61.
[3] 王增喜. 短纤维纱线捻度稳定性的评价及其影响因素的研究[J]. 化纤与纺织技术, 2014, 43(4): 22-27.
WANG Zengxi. Study on evaluation and influencing factors of yarn twist stability of staple fiber[J]. Chemical Fiber & Textile Technology, 2014, 43(4): 22-27.
[4] 汪泽幸, 苏雅君, 李洪登, 等. 常用纱线定捻法及其定捻效果评价[J]. 湖南工程学院学报(自然科学版), 2015, 25(4): 62-65.
WANG Zexing, SU Yaun, LI Hongdeng, et al. Experimental investigation and evaluation of common yarn twist setting[J]. Journal of Hunan Institute of Engineering ( Natural Science Edition), 2015, 25(4):62-65.
[5] 张瑞成, 张文清, 吕哲, 等. 基于自捻纺的嵌入式低扭矩复合纱性能分析[J]. 纺织学报, 2025, 46(2): 78-85.
ZHANG Ruicheng, ZHANG Wenqing, LÜ Zhe, et al. Performance analysis of embedded low-torque composite yarns based on self-twisting spinning[J]. Journal of Textile Research, 2025, 46(2):78-85.
[6] 吴济宏, 陈晓林, 范江涛, 等. 一种针织用扭力平衡的复合纱的制作方法: 201310181677.5[P].2015-10-21.
WU Jihong, CHEN Xiaolin, FAN Jiangtao, et al. Method for producing torque-balanced composite yarn for knitting applications: 201310181677.5[P]. 2015-10-21.
[7] 朱杰, 杨明惠, 王武, 等. 一种毛纺复合纱线生产设备:202322246203.6[P].2024-04-05.
ZHU Jie, YANG Minghui, WANG Wu, et al. Manufacturing equipment for woolen composite yarn manufacturing: 202322246203.6[P]. 2024-04-05.
[8] NK Palaniswamy, AP Mohamed. Balanced two-ply cotton yarn[J]. Indian Journal of Fibre & Textile Research, 2005, 30(3): 32-36.
[9] NK Palaniswamy, AS Mohamed, PW Robert. Balanced two-ply cotton rotor yarn[J]. Indian Journal of Fibre & Textile Research, 2007, 32(6): 169-172.
[10] FRASER W B, STUMP D M. Twist in balanced-ply structures[J]. The Journal of the Textile Institute, 1998, 89(3): 485-497.
doi: 10.1080/00405009808658635
[11] 沈新华. 特种包覆纱的工艺及其产品: 201010160931.X[P]. 2010-08-25.
SHEN Xinhua. Manufacturing method and end-use products for technical covered yarns: 201010160931.X[P]. 2010-08-25.
[12] 徐浩文, 敖利民, 唐雯, 等. 一种无扭结包覆线的制备方法及装置: 202411867805.6[P]. 2025-02-11.
XU Haowen, AO Limin, TANG Wen, et al. A preparation method and device for snarl-free covered yarn: 202411867805.6[P]. 2025-02-11.
[1] SHI Binlin, DONG Zhijia, MA Pibo, CONG Honglian, WU Guangjun, LIU Bo. Structural design of robot neck joint covering using whole-garment knitting technology [J]. Journal of Textile Research, 2025, 46(12): 116-122.
[2] ZHANG Yifei, WAN Yue, JI Ruoyun, FU Shaoju, WANG Lu, GUAN Guoping. Evaluation of wear performance of natural silk/spandex medical compression sleeves [J]. Journal of Textile Research, 2025, 46(07): 111-118.
[3] TENG Yanfei, WAN Ailan. Development and properties of deodorant sports socks [J]. Journal of Textile Research, 2025, 46(06): 120-126.
[4] AO Limin, PAN Liufei, TANG Wen, FANG Ruifeng. Composite structures and properties of quadratically-fed covered yarns [J]. Journal of Textile Research, 2025, 46(01): 52-61.
[5] JIA Bingfan, AO Limin, TANG Wen, ZHENG Yuansheng, SHANG Shanshan. Processing of wool yarn/polyamide filament covered yarns and their properties and applications [J]. Journal of Textile Research, 2023, 44(12): 58-66.
[6] WANG Yaqian, WAN Ailan, ZENG Deng, WU Guangjun, QI Qian. Preparation of shape memory polyurethane/polyamide covered yarn and properties of compression socks [J]. Journal of Textile Research, 2023, 44(10): 53-59.
[7] AO Limin, TANG Wen. Influences of twist and twist direction arrangement on properties of double covered yarns [J]. Journal of Textile Research, 2023, 44(07): 50-56.
[8] XIONG Xiangzhang, PEI Zeguang, CHEN Ge. Study on actuating force of knit actuator based on covered yarn with shape memory alloy wire as core [J]. Journal of Textile Research, 2020, 41(05): 50-57.
Viewed
Full text


Abstract

Cited

  Shared   
  Discussed   
No Suggested Reading articles found!