纺织学报 ›› 2021, Vol. 42 ›› Issue (07): 95-100.doi: 10.13475/j.fzxb.20201000406

• 纺织工程 • 上一篇    下一篇

新型熔喷气流模头的设计与数值分析

王玉栋1,2, 姬长春1(), 王新厚3, 高晓平4   

  1. 1.广西科技大学 生物与化学工程学院, 广西 柳州 545006
    2.新疆大学 机械工程学院, 新疆 乌鲁木齐 830046
    3.东华大学 纺织学院, 上海 201620
    4.内蒙古工业大学 轻工与纺织学院, 内蒙古 呼和浩特 010051
  • 收稿日期:2020-10-06 修回日期:2021-04-04 出版日期:2021-07-15 发布日期:2021-07-22
  • 通讯作者: 姬长春
  • 作者简介:王玉栋(1983—),男,讲师,博士。主要研究方向为非织造材料与工程。
  • 基金资助:
    国家自然科学基金项目(51776034);内蒙古自然科学基金项目(2021LHMS01003)

Design and numerical analysis of new types of melt blowing slot-dies

WANG Yudong1,2, JI Changchun1(), WANG Xinhou3, GAO Xiaoping4   

  1. 1. College of Biological and Chemical Engineering, Guangxi University of Science & Technology, Liuzhou, Guangxi 545006, China
    2. School of Mechanical Engineering, Xinjiang University, Urumqi, Xinjiang 830046, China
    3. College of Textiles, Donghua University, Shanghai 201620, China
    4. College of Textile and Light Industry, Inner Mongolia University of Technology, Hohhot, Inner Mongolia 010051, China
  • Received:2020-10-06 Revised:2021-04-04 Published:2021-07-15 Online:2021-07-22
  • Contact: JI Changchun

摘要:

为改善熔喷流场和降低纤维直径,在普通双槽形气流模头的基础上设计了新型模头,并对其进行数值研究。借助Gambit软件建立新型模头的几何模型,采用Fluent软件对其流场进行模拟,分析了纺丝线上的速度、温度、湍流强度分布规律及其对纤维牵伸细化的影响。结果表明:与普通的双槽形模头相比,带有内稳定器的新型双槽形熔喷模头可有效地减小回流区的面积,增大纺丝线上的速度极大值,降低纺丝线上的速度波动和温度衰减速率;带有空气压缩器的新型气流模头可提高纺丝线上的流场速度和温度,但对模头附近的逆向速度和湍流强度峰值几乎没有影响;综合对比,同时带有内稳定器和空气压缩器的新型熔喷气流模头性能最佳,更有利于细化纤维。

关键词: 熔喷, 气流模头, 二维流场, 数值模拟, 牵伸, 熔喷非织造

Abstract:

In order to improve the airflow field and reduce the fiber diameter, several new die-heads were designed on the basis of a common slot-die, and a numerical study was conducted on such die-heads.The structural models of the new slot-dies were constructed by Gambit and Fluent software was used to numerically calculate the two-dimensional flow fields from these new slot-dies. In addition, the air velocity, temperature, turbulence intensity distribution on the spinning line of these new die-heads and their influence on fiber drafting were analyzed. The research results show that compared with the common slot-die, the new die-head with internal flow stabilizers can effectively reduce the recirculation zone, increase the peak speed on the spinning line, and reduce the speed fluctuation and temperature decay rate on the spinning line.The new slot-die with an air compressor can increase the velocity and temperature of the flow field, but it has little effect on the reverse velocity and the peak of the turbulence intensity near the die-head.Comprehensive comparison indicates that the new slot-die with an internal stabilizer and an air compressor has the best performance and is more conducive to drawing fibers.

Key words: melt blowing, slot-die, two-dimensional flow field, numeral simulation, drafting, melt blown nonwoven

中图分类号: 

  • TS174.1

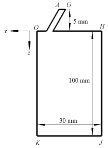
图1

普通双槽形气流模头的结构示意图"

图2

模头2结构示意图"

图3

模头3结构示意图"

图4

模头4结构示意图"

图5

模头1的计算域"

图6

纺丝线上的速度分布"

图7

模头附近的速度矢量图"

图8

纺丝线上的温度分布"

图9

纺丝线上的湍流强度分布"

[1] HAN W L, BHAT G S, WANG X H. Investigation of nanofiber breakup in the melt-blowing process[J]. Industry & Engineering Chemistry Research, 2016, 55(11):3150-3156.
[2] 陈诗萍, 陈旻, 魏岑, 等. 医用防护服的构效特点及其研发趋势[J]. 纺织学报, 2020, 41(8):179-187.
CHEN Shiping, CHEN Min, WEI Cen, et al. Structure and functions of medical protective clothing and trend for research and development[J]. Journal of Textile Research, 2020, 41(8):179-187.
[3] 张星, 刘金鑫, 张海峰, 等. 防护口罩用非织造滤料的制备技术与研究现状[J]. 纺织学报, 2020, 41(3):168-174.
ZHANG Xing, LIU Jinxin, ZHANG Haifeng, et al. Preparation technology and research status of nonwoven filtration materials for individual protective masks[J]. Journal of Textile Research, 2020, 41(3):168-174.
[4] 张恒, 甄琪, 刘雍, 等. 嵌入式聚丙烯/聚乙二醇微纳米纤维材料的结构特征及其气固过滤性能[J]. 纺织学报, 2019, 40(9):28-34.
ZHANG Heng, ZHEN Qi, LIU Yong, et al. Air filtration performance and morphological features of polyethylene glycol/polypropylene composite fibrous materials with embedded structure[J]. Journal of Textile Research, 2019, 40(9):28-34.
[5] HARPHAM A S, SHAMBAUGH R L. Flow field of practical dual rectangular jets[J]. Industry & Engineering Chemistry Research, 1996, 35(10):3776-3781.
[6] HARPHAM A S, SHAMBAUGH R L. Velocity and temperature fields of dual rectangular jets[J]. Industry & Engineering Chemistry Research, 1997, 36:3937-3943.
[7] WANG X M, KE Q F. Empirical formulas for distributions of air velocity and temperature along the spinline of a dual slot die[J]. Polymer Engineering and Science, 2005, 45(8):1092-1097.
[8] XIE S, ZENG Y C. Turbulent air flow field and fiber whipping motion in the melt blowing process: experimental study[J]. Industry & Engineering Chemistry Research, 2012, 51:5346-5352.
[9] XIE S, HAN W L, JIANG G J, et al. Turbulent air flow field in slot-die melt blowing for manufacturing microfibrous nonwoven materials[J]. Journal of Material Science, 2018, 53:6991-7003.
doi: 10.1007/s10853-018-2008-y
[10] KRUTKA H M, SHAMBAUGH R L, PAPAVASSILIOU D V. Analysis of a melt-blowing die: comparison of CFD and experiments[J]. Industrial & Engineering Chemistry Research, 2002, 41(20):5125-5138.
doi: 10.1021/ie020366f
[11] CHEN T, WANG X H, HUANG X B. Modeling the air-jet flow field of a dual slot die in the melt-blowing nonwoven process[J]. Textile Research Journal, 2004, 74(11):1018-1024.
doi: 10.1177/004051750407401114
[12] XIN S F, WANG X H. Investigation into the effect of the angle of dual slots on an air flow field in melt blowing via numerical simulation[J]. E-Polymers, 2016, 16:337-342.
doi: 10.1515/epoly-2016-0057
[13] SUN Y F, WANG X H. Optimal geometry design of the melt blowing slot die via the orthogonal array method and numerical simulation[J]. Journal of The Textile Institute, 2011, 102(1):65-69.
doi: 10.1080/00405000903475805
[14] SUN Y F, WANG X H. Optimization of air flow field of the melt blowing slot die via numerical simulation and genetic algorithm[J]. Journal of Applied Polymer Science, 2010, 115(3):1540-1545.
doi: 10.1002/app.v115:3
[15] 辛三法, 王新厚, 胡守忠. 双槽熔喷工艺中外沿长度对空气流场的影响[J]. 纺织学报, 2015, 36(4):71-75.
XIN Sanfa, WANG Xinhou, HU Shouzhong. The effect of outer length on air flow field in melt blowing with dual slots was studied via numerical simulation[J]. Journal of Textile Research, 2015, 36(4):71-75.
[16] WANG Y D, WANG X H. Numerical analysis of new modified melt-blowing dies for dual rectangular jets[J]. Polymer Engineering and Science, 2014, 54(1):110-116.
doi: 10.1002/pen.23536
[17] 孙亚峰. 微纳米纤维纺丝拉伸机理的研究[D]. 上海: 东华大学, 2010: 25-45.
SUN Yafeng. Investigation of micro nano fiber formation[D]. Shanghai: Donghua University, 2010: 25-45.
[18] 姬长春, 张开源, 王玉栋, 等. 熔喷三维气流场的数值计算与分析[J]. 纺织学报, 2019, 40(8):175-180.
JI Changchun, ZHANG Kaiyuan, WANG Yudong, et al. Numerical calculation and analysis of three-dimensional flow field in melt-blown process[J]. Journal of Textile Research, 2019, 40(8):175-180.
[19] LAUNDER B E, SPALDING D B. Lectures in mathematical models of turbulence[M]. London: Academic Press, 1972: 55.
[20] BANSAL V, SHAMBAUGH R L. On-line determination of diameter and temperature during melt blowing of polypropylene[J]. Industrial & Engineering Chemistry Research, 1998, 37(5):1799-1806.
doi: 10.1021/ie9709042
[1] 贺雅勤, 毕雪蓉, 钱希茜, 阮钧, 郁崇文. 牵伸对纱条条干不匀影响的模拟研究[J]. 纺织学报, 2021, 42(06): 85-90.
[2] 刘朝军, 刘俊杰, 丁伊可, 马少锋, 张秀琴, 张建青. 空气过滤用高容尘膨体聚四氟乙烯复合材料的制备及其性能[J]. 纺织学报, 2021, 42(05): 31-37.
[3] 阮丽, 孙荣基, 刘基宏, 李永贵. 特殊外观结构赛络花式纱的后区牵伸及成纱结构分析[J]. 纺织学报, 2021, 42(03): 77-81.
[4] 史倩倩, 王姜, 张玉泽, 林惠婷, 汪军. 转杯纺纱器气流场形成机制的数值分析[J]. 纺织学报, 2021, 42(02): 180-184.
[5] 孙焕惟, 张恒, 甄琪, 朱斐超, 钱晓明, 崔景强, 张一风. 丙烯基纳微米弹性过滤材料的熔喷成型及其过滤性能[J]. 纺织学报, 2020, 41(10): 20-28.
[6] 初曦, 邱华. 不同压强条件下环锭旋流喷嘴内部流场模拟[J]. 纺织学报, 2020, 41(09): 33-38.
[7] 周惠林, 杨卫民, 李好义. 医用口罩过滤材料的研究进展[J]. 纺织学报, 2020, 41(08): 158-165.
[8] 甄琪, 张恒, 朱斐超, 史建宏, 刘雍, 张一风. 聚丙烯/聚酯双组分微纳米纤维熔喷非织造材料制备及其性能[J]. 纺织学报, 2020, 41(02): 26-32.
[9] 刘禹豪, 孙辉, 王捷琪, 于斌. TiO2/MIL-88B(Fe)/聚丙烯复合熔喷非织造材料的制备及其性能[J]. 纺织学报, 2020, 41(02): 95-102.
[10] 丁宁, 林洁. 非稳态自然对流换热系数计算方法及其在防护服隔热预报中的运用[J]. 纺织学报, 2020, 41(01): 139-144.
[11] 李明明, 陈烨, 李夏, 王华平. 纺丝工艺对并列复合聚酯纤维性能的影响[J]. 纺织学报, 2019, 40(12): 16-20.
[12] 孙光武, 李杰聪, 辛三法, 王新厚. 基于非牛顿流体本构方程的熔喷纤维直径预测[J]. 纺织学报, 2019, 40(11): 20-25.
[13] 李斯湖, 沈敏, 白聪, 陈亮. 喷气织机辅助喷嘴结构参数对流场特性的影响[J]. 纺织学报, 2019, 40(11): 161-167.
[14] 魏艳红, 谢春萍, 刘新金, 苏旭中, 殷高伟. 基于大直径软胶辊的细纱牵伸机制及其应用效果[J]. 纺织学报, 2019, 40(10): 62-67.
[15] 张恒, 甄琪, 刘雍, 宋卫民, 刘让同, 张一风. 嵌入式聚丙烯/聚乙二醇微纳米纤维材料的结构特征及其气固过滤性能[J]. 纺织学报, 2019, 40(09): 28-34.
Viewed
Full text


Abstract

Cited

  Shared   
  Discussed   
No Suggested Reading articles found!