纺织学报 ›› 2023, Vol. 44 ›› Issue (06): 98-104.doi: 10.13475/j.fzxb.20220105701

• 纺织工程 • 上一篇    下一篇

纬编双面移圈产品工艺设计模型建立与实现

张静, 丛洪莲(), 蒋高明   

  1. 江南大学 针织技术教育部工程研究中心, 江苏 无锡 214122
  • 收稿日期:2022-01-25 修回日期:2022-04-14 出版日期:2023-06-15 发布日期:2023-07-20
  • 通讯作者: 丛洪莲
  • 作者简介:张静(2000—),女,硕士生。主要研究方向为针织生产的数字化与智能化。
  • 基金资助:
    国家自然科学基金项目(61902150);中央高校基本科研业务费专项资金资助项目(JUSRP122003)

Establishment and realization of technological model for weft-knitted two-side transfer fabrics

ZHANG Jing, CONG Honglian(), JIANG Gaoming   

  1. Engineering Research Center for Knitting Technology, Ministry of Education, Jiangnan University, Wuxi, Jiangsu 214122, China
  • Received:2022-01-25 Revised:2022-04-14 Published:2023-06-15 Online:2023-07-20
  • Contact: CONG Honglian

摘要:

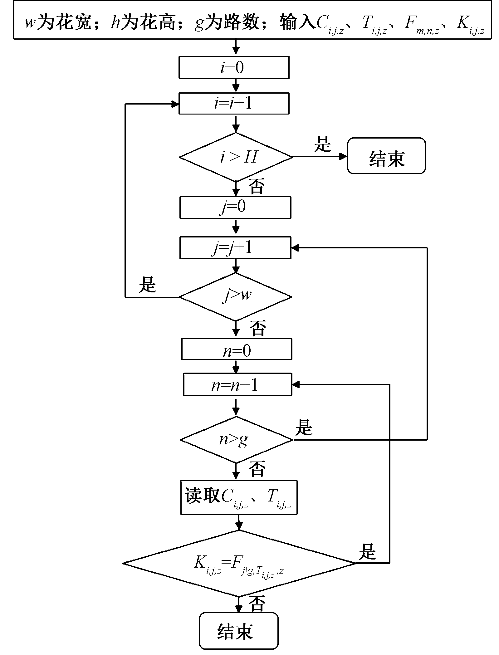
纬编双面移圈产品工艺复杂,设计难度大,针对现有纬编双面移圈产品设计繁复的问题,研究并开发了纬编双面移圈产品设计系统。首先分析了纬编双面移圈产品结构成形原理和工艺设计,采用数学矩阵与多维工艺分解方法描述了移圈花型与工艺结构的数学关系:花型意匠图描述移圈花型图案信息,编织意匠图描述纱线系统和移圈动作信息,结构分解图说明花型行与工艺行的关系,工艺编织图表示纱线的编织状态。建立的纬编双面移圈产品工艺设计模型具有较高的实用性,简化了纬编双面移圈产品工艺设计流程,规范了设计方法,实现了纬编双面移圈产品的快速高效开发。

关键词: 纬编, 移圈, 设计模型, 计算机辅助设计, 数学矩阵

Abstract:

Objective Weft-knitted two-side transfer fabrics are regarded as complicated in technology and difficult in design. In order to achieve rapid design of weft-knitted two-side transfer fabrics, this paper studies and develops the weft-knitted two-side transfer fabric design system aiming to tackle the complicated design of weft-knitted two-side transfer fabrics.
Method The structure forming principle of weft-knitted two-side transfer fabric was analyzed, and the process design model of weft-knitted two-side transfer fabrics was established. The mathematical relationship between transfer pattern and process structure was described by using mathematical matrix and multi-dimensional process decomposition method. The multi-dimensional technological decomposition of the pattern effect was achieved on a graph, and the three-dimensional mathematical matrix was used to represent the artistic information for pattern grid and knitting pattern grid to assist the structural decomposition and the knit process. The pattern design process was simplified by means of algorithm and primitive mapping.
Results The schematic diagram of the established process design model was shown in the weft-knitted two-side transfer fabric with two jacquard and two loop shifting (Fig. 1). The process design model of the weft-knitted two-side transfer fabric involves multi-dimensional information. The pattern effect picture was divided into the front pattern and the reverse pattern and the two sides of the fabric were divided into the front and the reverse pattern. The three-dimensional matrix was used to describe the information. The color information in the cell was stored as the corresponding three-dimensional data. The fabric pattern was woven by A/B yarn system and two loop shifting systems, and the knitting design of yarn A, yarn B, needle cylinder loop shifting and needle disk loop shifting were established respectively. The corresponding color, position information ck, tk, flower width w, flower height h, and process flower height H were obtained. The structural break represented the breakdown information defining the color of the knitting intention diagram corresponding to the knitting action, and converted it into the process knitting diagram, specifically and intuitively expressing the knitting state of the yarn. Based on HTML5, ASP.NET framework, JavaScript and C# language, a process design system for weft-knitted two-side transfer fabrics was developed. The functions of the four modules in this paper were mainly achieved through organization filling and entity mapping. The organization filling process was to obtain the corresponding parameters through the user's drawing of the pattern design and knitting design. In the process knitting diagram, the left vertex was used as the reference point to fill the structure breakdown diagram from left to right and from top to bottom. Canvas's double-buffer technology was applied when drawing the process knitting diagram. The drawn elements were pasted on the canvas one by one based on the left vertex. The schematic diagram was shown in the design and development interface of weft-knitted two-side transfer fabric (Fig. 7).
Conclusion The product design method for weft-knitted two-sided transfer fabric is standardized and the process design process for weft-knitted two-sided transfer fabric is simplified. It has been proven that the design model can accurately describe the pattern and weave information, and can guide the process design of weft-knitted two-sided thansfer fabric. Based on the proposed system module, the design of the weft-knitted two-sided thansfer fabric design system has been completed from the design of the pattern intention to the realisation of the process weaving diagram, and it has been verified that the method can be applied to the process design of weft-knitted two-sided thansfer fabric. The problem of unstable speed and compatibility of the weft-knitted weft-knitted two-sided thansfer fabric design system due to the variability of the existing weft-knitted weft-knitted two-sided thansfer fabric design is solved, and the rapid and efficient development of weft-knitted weft-knitted two-sided thansfer fabric is achieved.

Key words: weft knitting, transfer fabric, design model, computer aided design, mathematical matrix

中图分类号: 

  • TS941.64

图1

工艺设计模型示意图"

图2

花型意匠图模型的数学表示"

图3

编织意匠图模型的数学表示"

图4

结构分解图模型的数学表示"

图5

工艺编织图模型的数学表示"

图6

组织填充流程图"

图7

产品设计开发界面"

[1] 陈国芬. 纬编布面花纹效应与组织结构的关系[J]. 针织工业, 2005(9):4-5,3.
CHEN Guofen. Relationship between weft knitted fabric pattern effect and structure[J]. Knitting Industries, 2005 (9): 4-5,3.
[2] 赖燕燕, 唐磊, 张苹. 结构提花双面复合横机针织物设计:移圈、抽针工艺应用研究[J]. 纺织报告, 2018(3):78-80.
LAI Yanyan, TANG Lei, ZHANG Ping. The design of structure of jacquard double flat knitting fabric: research of transfer and drawn needle process application[J]. Textile Reports, 2018 (3): 78-80.
[3] COMANDAR C, 丁倩莉. 移圈产生的新型结构单元[J]. 国际纺织导报, 2014, 42(12):30-32,28,34.
COMANDAR C, DING Qianli. New structural elements based on stitch transfer[J]. Melliand China, 2014, 42(12): 30-32,28,34.
[4] 宋晓蕾, 位丽. 移圈针织物的产品设计与制作[J]. 丝绸, 2011, 48(11):34-36.
SONG Xiaolei, WEI Li. Design and manufacture of knitted fabric with the loop transfer structure[J]. Journal of Silk, 2011, 48 (11): 34-36.
[5] 范沛飞, 董勤霞, 胡淑芬, 等. 纬编镂空网眼空心织物的设计开发[J]. 针织工业, 2020(1):1-4.
FAN Peifei, DONG Qinxia, HU Shufen, et al. Design and development of weft knitted hollowed mesh fabric[J]. Knitting Industries, 2020 (1): 1-4.
[6] COMANDAR C, 邹倩. 具有变化线圈的纬编针织物[J]. 国际纺织导报, 2015, 43(12):30-32.
COMANDAR C, ZOU Qian. Weft knitted fabric with variable coil[J]. Melliand China, 2015, 43 (12): 30-32.
[7] 郭晨, 蒋高明. 双面电脑提花移圈圆机及产品开发[J]. 针织工业, 2013(12):30-33.
GUO Chen, JIANG Gaoming. The double computer jacquard loop transfer machine and its products development[J]. Knitting Industries, 2013 (12): 30-33.
[8] 梁佳璐, 刘博, 丛洪莲. 纬编提花鞋面材料生产技术与发展趋势[J]. 纺织导报, 2019(7):24-28.
LIANG Jialu, LIU Bo, CONG Honglian. Production technology and development trend of weft-knitted jacquard shoe upper[J]. China Textile Leader, 2019(7): 24-28.
[9] 王薇, 蒋高明, 高梓越, 等. 纬编提花织物计算机辅助设计模型与算法[J]. 纺织学报, 2018, 39(3):161-166.
WANG Wei, JIANG Gaoming, GAO Ziyue, et al. Computer aided design system model and algorithm of weft knitted jacquard fabrics[J]. Journal of Textile Research, 2018, 39 (3): 161-166.
[10] 瞿畅, 王君泽, 李波. 纬编针织物三维仿真系统的开发[J]. 纺织学报, 2011, 32(4):57-61.
QU Chang, WANG Junze, LI Bo. Development of 3-D simulation system of weft knitted fabric[J]. Journal of Textile Research, 2011, 32 (4): 57-61.
doi: 10.1177/004051756203200108
[11] 李言, 蒋高明, 吴志明, 等. 集成于CAM的经编制造执行系统的设计与实现[J]. 上海纺织科技, 2019, 47(12):70-73.
LI Yan, JIANG Gaoming, WU Zhiming, et al. Design and implementation of warp knitting manufacturing execution system integrated in CAM[J]. Shanghai Textile Science & Technology, 2019, 47 (12): 70-73.
[12] 徐巧, 丛洪莲, 张爱军, 等. 纬编针织物CAD设计模型的建立与实现[J]. 纺织学报, 2014, 35(3):136-140,144.
XU Qiao, CONG Honglian, ZHANG Aijun, et al. Establishment and implementation of weft-knitted fabric's design model in CAD system[J] Journal of Textile Research, 2014, 35 (3): 136-140, 144.
[13] 沈颖乐, 丛洪莲, 俞旭良, 等. 无缝成形产品工艺设计模型建立及其系统实现[J]. 纺织学报, 2021, 42(7):89-94.
SHEN Yingle, CONG Honglian, YU Xuliang, et al. Technological model establishment and system realization of weft-knitted products[J]. Journal of Textile Research, 2021, 42 (7): 89-94.
doi: 10.1177/004051757204200204
[1] 许晗, 沈雷, 陈涵. 居里叶分形在艾德莱斯裙装图案设计中的应用[J]. 纺织学报, 2023, 44(06): 191-199.
[2] 郑培晓, 蒋高明, 丛洪莲, 李炳贤. 多色调线横条纹织物的设计与三维仿真[J]. 纺织学报, 2023, 44(06): 85-90.
[3] 王雅倩, 万爱兰, 曾登. 棉/形状记忆氨纶纬编免烫衬衫面料制备及其性能评价[J]. 纺织学报, 2023, 44(05): 125-131.
[4] 彭来湖, 章钰娟, 吕永法, 戴宁, 李建强. 纬编针织纱线输送状态检测方法及其动态特性[J]. 纺织学报, 2022, 43(12): 167-172.
[5] 陈钰珊, 蒋高明, 李炳贤. 纬编绕经织物设计与三维仿真[J]. 纺织学报, 2022, 43(12): 62-68.
[6] 董智佳, 孙菲, 丛洪莲, 俞旭良. 低损耗纬编成形女士背心的结构设计与建模[J]. 纺织学报, 2022, 43(07): 129-134.
[7] 汝欣, 朱婉珍, 史伟民, 彭来湖. 密度非均匀分布纬编针织物的变形预测及仿真[J]. 纺织学报, 2022, 43(06): 63-69.
[8] 沈颖乐, 丛洪莲, 俞旭良, 郑培晓. 无缝成形产品工艺设计模型建立及其系统实现[J]. 纺织学报, 2021, 42(07): 89-94.
[9] 周濛濛, 蒋高明, 高哲, 郑培晓. 纬编衬经衬纬管状织物增强复合材料研究进展[J]. 纺织学报, 2021, 42(07): 184-191.
[10] 王伟荣, 丛洪莲. 基于下肢运动特征的纬编无缝瑜伽裤结构设计[J]. 纺织学报, 2021, 42(06): 140-145.
[11] 郑培晓, 蒋高明. 基于WebGL的纬编提花织物三维仿真[J]. 纺织学报, 2021, 42(05): 59-65.
[12] 乔灿灿, 姜亚明, 齐业雄, 林温妮, 张野. 冲击波在陶瓷增强纬编双轴向多层衬纱织物及机织物复合材料中传递的表征[J]. 纺织学报, 2021, 42(05): 84-89.
[13] 陈曦, 缪旭红, 刘青, 董智佳. 全成形Y形三通管织物编织工艺设计[J]. 纺织学报, 2021, 42(05): 73-78.
[14] 胡旭东, 宋炎锋, 汝欣, 彭来湖. 大小头筒状纬编针织物建模及其线圈长度逆向设计[J]. 纺织学报, 2021, 42(04): 80-84.
[15] 周亚勤, 王攀, 张朋, 张洁. 纬编织造车间生产调度方法研究[J]. 纺织学报, 2021, 42(04): 170-176.
Viewed
Full text


Abstract

Cited

  Shared   
  Discussed   
No Suggested Reading articles found!