纺织学报 ›› 2021, Vol. 42 ›› Issue (07): 11-18.doi: 10.13475/j.fzxb.20210200108
LIU Ke, CHEN Shuang, XIAO Ru(
)
摘要:
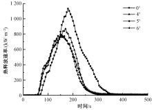
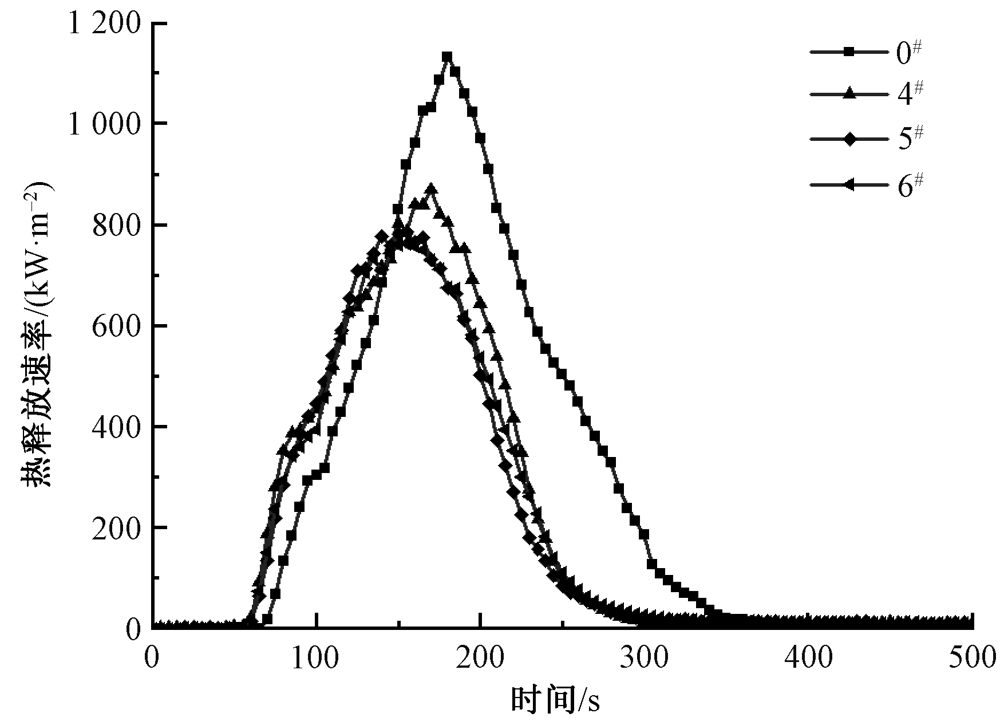
为提高聚酰胺6(PA6)纤维的阻燃性能,以10-(2,5-二羧基苯氧基)-10-氢-9-氧杂-10-磷杂菲-10-氧化物(DOPODP)为共聚阻燃剂,复配二硫化钼(MoS2)或硫化锌(ZnS),制备DOPODP共聚协效阻燃PA6,经熔融纺丝制备阻燃PA6纤维,并对其结构、性能及阻燃机制进行研究。结果表明:DOPODP经共聚法成功引入PA6,DOPODP可提高PA6的阻燃性能,但其熔融温度、结晶温度等下降;引入协效阻燃剂后,阻燃PA6垂直燃烧(UL94)级别为V-0级,极限氧指数(LOI值)达30%以上;DOPODP对PA6主要表现为气相阻燃作用,DOPODP分解产生含磷自由基可捕获活性自由基,协效阻燃剂可促进PA6成炭;相比PA6纤维,阻燃PA6纤维力学性能下降,而织物的LOI值提高。
中图分类号:
| [1] |
ZHANG S M, FAN X S, XU C C, et al. An inherently flame-retardant polyamide 6 containing a phosphorus group prepared by transesterification polymerization[J]. Polymer, 2020, 207:122890.
doi: 10.1016/j.polymer.2020.122890 |
| [2] |
GROH K J, BACKHAUS T, CARNEY-ALMROTH B, et al. Overview of known plastic packaging-associated chemicals and their hazards[J]. Science of the Total Environment, 2019, 651:3253-3268.
doi: 10.1016/j.scitotenv.2018.10.015 |
| [3] |
LIU K, LI Y Y, TAO L, et al. Synjournal and characterization of inherently flame retardant polyamide 6 based on a phosphine oxide derivative[J]. Polymer Degradation and Stability, 2019, 163:151-160.
doi: 10.1016/j.polymdegradstab.2019.03.004 |
| [4] |
LIU K, LI Y Y, TAO L, et al. Preparation and characterization of polyamide 6 fibre based on a phosphorus-containing flame retardant[J]. RSC Advances, 2018, 8(17):9261-9271.
doi: 10.1039/C7RA13228J |
| [5] | LEE S H, OH S W, LEE Y H, et al. Preparation and properties of flame-retardant epoxy resins containing reactive phosphorus flame retardant[J]. Journal of Engineered Fibers and Fabrics, 2020, 15:1-8. |
| [6] |
WEI P, LOU H J, WANG W, et al. Synjournal and properties of wholly aromatic phosphorus-containing thermotropic liquid crystal copolyesters with excellent fibre formation ability[J]. Liquid Crystals, 2020, 48(4):466-475.
doi: 10.1080/02678292.2020.1789768 |
| [7] |
ZHANG J B, WANG X L, HE Q X, et al. A novel phosphorus-containing poly(1,4-cyclohexylenedimethylene terephthalate) copolyester: synjournal, thermal stability, flammability and pyrolysis behavior[J]. Polymer Degradation and Stability, 2014, 108:12-22.
doi: 10.1016/j.polymdegradstab.2014.06.003 |
| [8] |
SHI X X, JIANG S H, ZHU J Y, et al. Establishment of a highly efficient flame-retardant system for rigid polyurethane foams based on bi-phase flame-retardant actions[J]. RSC Advances, 2018, 8(18):9985-9995.
doi: 10.1039/C7RA13315D |
| [9] |
PENG H Y, WANG D, ZHANG L P, et al. Amorphous cobalt borate nanosheets grown on MoS2 nanosheet for simultaneously improving the flame retardancy and mechanical properties of polyacrylonitrile composite fiber[J]. Composites Part B: Engineering, 2020, 201:108298.
doi: 10.1016/j.compositesb.2020.108298 |
| [10] |
LI A J, XU W Z, WANG G S, et al. Novel strategy for molybdenum disulfide nanosheets grown on titanate nanotubes for enhancing the flame retardancy and smoke suppression of epoxy resin[J]. Journal of Applied Polymer Science, 2018, 135(15):46064.
doi: 10.1002/app.46064 |
| [11] |
JASNA V C, ANILKUMAR T, NAIK A A, et al. Chlorinated styrene butadiene rubber/zinc sulfide: novel nanocomposites with unique properties-structural, flame retardant, transport and dielectric properties[J]. Journal of Polymer Research, 2018, 25(6):144.
doi: 10.1007/s10965-018-1536-0 |
| [12] | 周卫东, 余小伟, 陈龙, 等. 纤维级复合阻燃PA6的制备及其热稳定性研究[J]. 合成纤维工业, 2020, 43(3):16-21. |
| ZHOU Weidong, YU Xiaowei, CHEN Long, et al. Preparation and thermal stability of fiber-grade composite flame retardant PA6[J]. China Synthetic Fiber Industry, 2020, 43(3):16-21. | |
| [13] |
MOURGAS G, GIEBEL E, SCHNECK T, et al. Syntheses of intrinsically flame-retardant polyamide 6 fibers and fabrics[J]. Journal of Applied Polymer Science, 2019, 136(31):47829.
doi: 10.1002/app.v136.31 |
| [14] |
GE H, WANG W, PAN Y, et al. An inherently flame-retardant polyamide containing a phosphorus pendent group prepared by interfacial polymerization[J]. RSC Advances, 2016, 6(85):81802-81808.
doi: 10.1039/C6RA17108G |
| [15] |
LI Y Y, LIN Y Z, SHA K, et al. Preparation and characterizations of flame retardant melamine cyanurate/polyamide 6 composite fibers via in situ polymerization[J]. Textile Research Journal, 2017, 87(5):561-569.
doi: 10.1177/0040517516632478 |
| [16] |
LEVCHIK S V, WEIL E D. Combustion and fire retardancy of aliphatic nylons[J]. Polymer International, 2000, 49(10):1033-1073.
doi: 10.1002/(ISSN)1097-0126 |
| [17] |
YOUNIS A A. Optimization of mechanical, thermal, and ignition properties of polyester fabric using urea and phosphoric acid[J]. Journal of Industrial Textiles, 2020, 49(6):791-808.
doi: 10.1177/1528083718798636 |
| [18] | DUAN X C, YU B, YANG T H, et al. In situ polymerization of nylon 66/reduced graphene oxide nanocomposites[J]. Journal of Nanomaterials, 2018, 2018:1047985. |
| [1] | 张超, 蒋之铭, 朱少彤, 张晨曦, 朱平. 超支化磷酰胺在粘胶织物阻燃整理中的应用[J]. 纺织学报, 2021, 42(07): 39-45. |
| [2] | 徐凯, 田星, 曹英, 何雅琦, 夏延致, 全凤玉. 阻燃涤纶/海藻酸钙纤维复合材料的制备及其性能[J]. 纺织学报, 2021, 42(07): 19-24. |
| [3] | 林生根, 刘晓辉, 苏晓伟, 何聚, 任元林. 新型植酸基阻燃剂改性Lyocell纤维与织物的制备及其性能[J]. 纺织学报, 2021, 42(07): 25-30. |
| [4] | 顾伟文, 王文庆, 魏丽菲, 孙晨颖, 郝聃, 魏建斐, 王锐. 碳点对阻燃聚对苯二甲酸乙二醇酯性能的影响[J]. 纺织学报, 2021, 42(07): 1-10. |
| [5] | 文玉峰, 马晓谱, 盛方园, 朱志国. 微胶囊化膨胀型阻燃剂的制备及其在聚乳酸中的应用[J]. 纺织学报, 2021, 42(06): 71-77. |
| [6] | 骆晓蕾, 李紫嫣, 马亚男, 刘琳, KRUCINSKAIzabella, 姚菊明. 纺织品生态阻燃技术研究进展[J]. 纺织学报, 2021, 42(05): 193-202. |
| [7] | 王华清, 闫红强. 生物基三组分自组装涂层构筑及其对苎麻织物的阻燃改性[J]. 纺织学报, 2021, 42(04): 132-138. |
| [8] | 廖壑, 王建宁, 张东剑, 甘学辉, 张玉梅, 王华平. 并列复合纺丝孔道内流动组分的界面分布数值模拟[J]. 纺织学报, 2021, 42(01): 30-34. |
| [9] | 肖梦苑, 周新科, 张佳悦, 任元林. 木质素生物质阻燃剂及其应用研究进展[J]. 纺织学报, 2020, 41(12): 182-188. |
| [10] | 朵永超, 钱晓明, 赵宝宝, 钱幺, 邹志伟. 超细纤维合成革基布的制备及其性能[J]. 纺织学报, 2020, 41(09): 81-87. |
| [11] | 马君志, 王冬, 付少海. 氧化石墨烯协同二硫代焦磷酸酯阻燃粘胶纤维的制备及其性能[J]. 纺织学报, 2020, 41(03): 15-19. |
| [12] | 丁放, 任学宏. 磷氮阻燃剂对涤纶织物的阻燃整理[J]. 纺织学报, 2020, 41(03): 100-105. |
| [13] | 郭增革, 姜兆辉, 贾曌, 蒲丛丛, 李鑫, 程博闻. 压力对聚对苯二甲酸乙二醇酯-聚酰胺6共聚物/聚酰胺6共混物流变性能的影响[J]. 纺织学报, 2019, 40(12): 27-31. |
| [14] | 孙玉发, 周向东. 棉用新型含磷氮阻燃剂的合成及其应用[J]. 纺织学报, 2019, 40(12): 79-85. |
| [15] | 张娇, 高雪峰, 王玉周, 刘海辉, 张兴祥. 聚酰胺66/氨基化多壁碳纳米管纤维制备及其性能[J]. 纺织学报, 2019, 40(11): 1-8. |
|
||