纺织学报 ›› 2025, Vol. 46 ›› Issue (09): 112-119.doi: 10.13475/j.fzxb.20241000901

• 纺织工程 • 上一篇    下一篇

喷气涡流纺成纱工艺对三组分混纺纱性能的影响

缪璐璐1,2, 顾佳华3, 陶华冠4, 孙国军4, 邹专勇1,2,3()   

  1. 1.绍兴文理学院 浙江省清洁染整技术研究重点实验室, 浙江 绍兴 312000
    2.绍兴文理学院 绍兴市高性能纤维及制品重点实验室, 浙江 绍兴 312000
    3.江南大学 纺织科学与工程学院, 江苏 无锡 214122
    4.绍兴国周纺织新材料有限公司, 浙江 绍兴 312000
  • 收稿日期:2024-10-09 修回日期:2025-06-19 出版日期:2025-09-15 发布日期:2025-09-15
  • 通讯作者: 邹专勇(1983—),男,教授。主要研究方向为新型纱线加工理论与应用。E-mail:zouzhy@usx.edu.cn
  • 作者简介:缪璐璐(1998—),女,硕士生。主要研究方向为纺织材料与纺织品设计。
  • 基金资助:
    绍兴文理学院国际合作项目(2019LGGH1001)

Influence of air-jet vortex spinning process on properties of three-component blended yarns

MIAO Lulu1,2, GU Jiahua3, TAO Huaguan4, SUN Guojun4, ZOU Zhuanyong1,2,3()   

  1. 1. Key Laboratory of Clean Dyeing and Finishing Technology in Zhejiang Province, Shaoxing University, Shaoxing, Zhejiang 312000, China
    2. Shaoxing Key Laboratory of High Performance Fibers & Products, Shaoxing University, Shaoxing, Zhejiang 312000, China
    3. College of Textile Science and Engineering, Jiangnan University, Wuxi, Jiangsu 214122, China
    4. Shaoxing Guozhou Textile New Material Co., Ltd., Shaoxing, Zhejiang 312000, China
  • Received:2024-10-09 Revised:2025-06-19 Published:2025-09-15 Online:2025-09-15

摘要: 为开发出品质优良的涤纶/染色棉/PHBV基涤纶(混合比为50∶35∶15,PHBV为聚(3-羟基丁酸酯-co-3-羟基戊酸酯)喷气涡流纺混纺纱线,基于Box-Behnken设计和响应曲面模型分析,研究喷气涡流纺主要成纱工艺纺纱速度、喷嘴气压和1/纱线线密度对混纺纱断裂强度、断裂伸长率、断裂功、条干CV值和毛羽H值的影响规律。结果表明:混纺纱的强伸性能和毛羽H值均受到纺纱速度、喷嘴气压和1/纱线线密度的影响,纱线条干CV值受1/纱线线密度的影响显著。随着纺纱速度的提升,纱线断裂强度、毛羽H值呈增大趋势,断裂伸长率逐渐减小,断裂功几乎不发生变化。随着喷嘴气压的增加,纱线断裂强度和断裂功总体呈先增大后减小的趋势,断裂伸长率总体呈增大趋势,毛羽H值呈减小趋势。随着1/纱线线密度的增大(纱线变细),纱线的断裂强度、断裂伸长率、断裂功、毛羽H值均逐渐减小,纱线条干均匀性逐渐变差。

关键词: 喷气涡流纺, 混纺纱, 成纱工艺, 纱线性能, 响应面模型

Abstract:

Objective This study investigates the influences of key spinning parameters on the performance of polyester fiber/dyed cotton fiber/ PHBV-based polyester fiber (50/35/15) air-jet vortex spinning blended yarn.By optimizing spinning conditions, the research aims to enhance yarn quality, thus providing scientific guidance for industrial parameter settings and improving the efficiency and sustainability of blended yarn manufacturing.

Method Based on Box-Behnken Design (BBD) and response surface model analysis, the influences of delivery speed, nozzle pressure and the reciprocal of yarn linear density on the break strength, elongation at break, breaking work, evenness CV value and hairiness H value of blended yarn were studied.

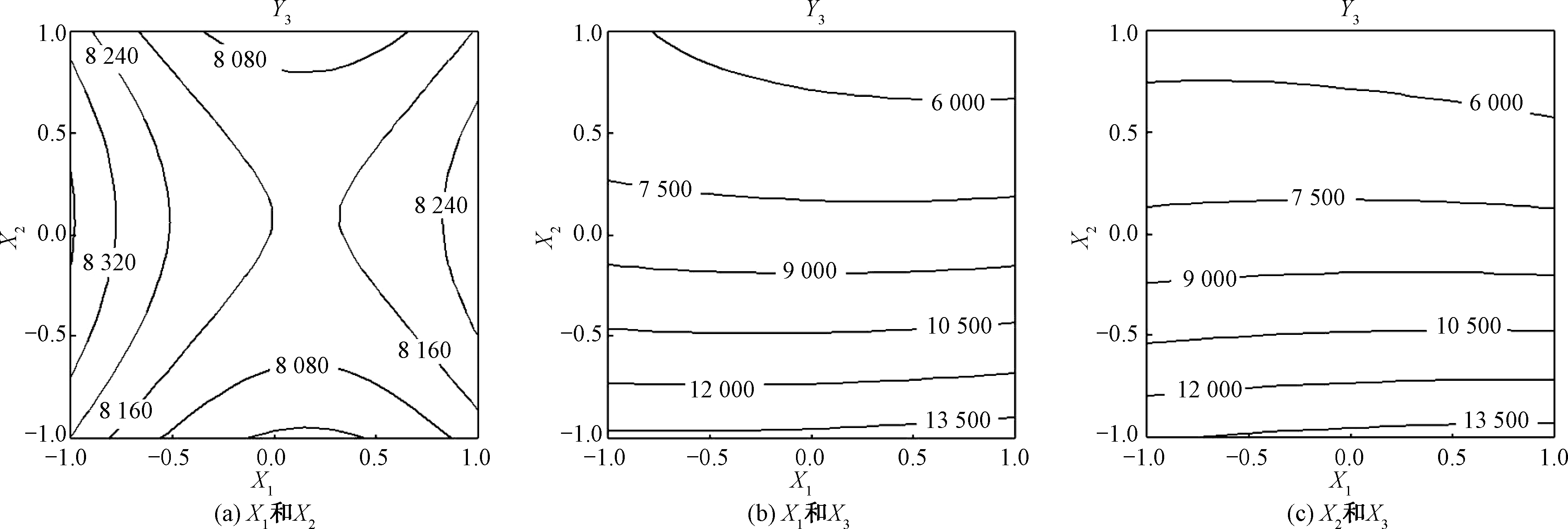
Results Statistical analysis of the test results indicated that the delivery speeds, nozzle pressure and the reciprocal of yarn linear density had significant effect on the yarn tenacity, elongation at break, breaking work and hairiness H value, and the reciprocal of yarn linear density has a significant effect on the yarn evenness CV value. Through the change of yarn break strength, it was found that the yarn break strength exhibited an increase and then followed by a decrease with the increase of nozzle pressure, and demonstrated a decreasing trend with the increase of the reciprocal of yarn linear density. The yarn break strength increased slowly with the change of the delivery speed, and this change became obvious when the reciprocal of yarn linear density was on small values (i.e. with thicker yarns). The elongation at break of the yarn decreases with higher reciprocal of yarn linear density and delivery speeds, primarily due to reduced fiber slippage in the yarn. The elongation at break of the yarn increased slowly with the increase of the nozzle pressure. The yarn breaking work was related to the change of yarn tenacity and break elongation, and it was most affected by the reciprocal of yarn linear density in such a way that yarn breaking work would increase with the decrease of the reciprocal of yarn linear density. The yarn evenness CV value demonstrated increase with the increase of the reciprocal of yarn linear density. It was found that that the yarn hairiness H value decreased with the increase of the reciprocal of yarn linear density and nozzle air pressure, and decreased with the decrease of delivery speed.

Conclusion In the spinning process, increasing the delivery speed properly can reduce the fiber loss in the twisting chamber enhancing the fiber wrapping effect, which is beneficial to the yarn break strength. Increasing the delivery speed would reduce the probability of fiber slippage within the yarn, leading to reduced elongation at break of the yarn. The change of delivery speed has little effect on yarn breaking work, because the trend of yarn and breaking elongation is opposite. The result showed that the yarn was prone to hair formation with the increase of delivery speed. For polyester fiber/dyed cotton fiber/PHBV-based polyester fiber (the blend ratio of 50∶35∶15) air-jet spinning blended yarn, when the nozzle pressure is set near 0.55 MPa, the yarn can obtain satisfactory breaking work. With the increase of the nozzle pressure, the twisting degree of the wrapped fiber increases and the yarn hairiness decreases. The yarn evenness CV value is mainly affected by the yarn linear density. When the yarn is finer, it is easy to form draft fluctuations, resulting in yarn evenness variation.

Key words: air-jet vortex spinning, blended yarn, yarn forming process, yarn performance, response surface model

中图分类号: 

  • TS104.5

表1

成纱工艺的因素水平表"

水平 因素
纺纱速度
X1/(m·min-1)
喷嘴气压
X 2/MPa
1/纱线线密度
X 3/tex-1
-1 320 0.48 0.034
0 370 0.55 0.051
1 420 0.62 0.068

表2

基于BBD的试验设计表"

试样
编号
纺纱速度
X1/(m·min-1)
喷嘴气压
X 2/MPa
1/纱线线密度
X 3/tex-1
1 -1 -1 0
2 1 -1 0
3 -1 1 0
4 1 1 0
5 -1 0 -1
6 1 0 -1
7 -1 0 1
8 1 0 1
9 0 -1 -1
10 0 1 -1
11 0 -1 1
12 0 1 1
13 0 0 0
14 0 0 0
15 0 0 0

表3

纱线样品性能测试结果"

试验
编号
断裂强度Y1/
(cN·tex-1)
断裂伸长率
Y2/%
断裂功Y3/
(cN·mm)
条干CV
Y4/%
毛羽H
Y5
1 18.39 8.98 8 342.54 19.58 3.52
2 18.74 8.42 8 085.20 21.37 4.07
3 18.22 9.07 8 343.30 20.40 3.26
4 18.39 8.66 8 033.49 17.64 3.65
5 19.10 9.93 13 773.82 13.76 3.57
6 20.20 9.83 14 456.10 13.98 3.89
7 18.94 8.13 6 015.42 19.64 3.20
8 18.20 7.54 5 430.31 20.60 3.76
9 19.46 9.43 13 296.43 13.96 3.86
10 19.40 9.93 14 039.67 14.00 3.55
11 18.58 7.87 5 745.24 16.02 3.57
12 17.80 7.45 5 250.45 20.22 3.47
13 18.70 8.69 8 087.82 21.26 3.68
14 18.71 8.86 8 204.67 21.26 3.58
15 18.69 8.79 8 183.33 21.59 3.78

表4

纱线各响应指标的响应面二次模型回归分析"

来源 断裂强度Y1/(cN·tex-1) 断裂伸长率Y2/% 断裂功Y3/(cN·mm) 条干CV值Y4/% 毛羽HY5
系数 p 系数 p 系数 p 系数 p 系数 p
常数项 18.711 0 0.000* 8.770 8 0.000* 8 158.6 0.000* 21.162 0.000* 3.627 6 0.000*
X1 0.109 9 0.003* -0.207 6 0.000* -58.7 0.244 0.027 0.951 0.227 6 0.000*
X2 -0.170 8 0.000* 0.050 3 0.098 24.7 0.607 0.166 0.704 -0.137 5 0.001*
X3 -0.578 9 0.000* -1.017 1 0.000* -4 140.6 0.000* 2.598 0.000* -0.108 4 0.003*
${X}_{1}^{2}$ - - 0.094 7 0.044* 189.2 0.030* - - - -
${X}_{2}^{2}$ -0.284 5 0.000* -0.092 6 0.048* -146.7 0.071 -1.259 0.080 - -
${X}_{3}^{2}$ 0.392 5 0.000* - - 1 571.1 0.000* -4.009 0.000* - -
X1X2 - - - - - - -1.137 0.096 - -
X1X3 -0.459 6 0.000* -0.123 2 0.013* -316.8 0.003* - - - -
X2X3 -0.181 1 0.001* -0.232 0 0.000* -309.5 0.003* 1.039 0.123 - -

表5

响应指标的二次响应模型回归方程和决定系数R2"

性能指标 二次响应模型回归方程 决定系数R2
断裂强度Y1/(cN·tex-1) Y1=18.711 0+0.109 9 X1-0.170 8 X2-0.578 9 X3-0.284 5 ${{X}_{2}}^{2}$+
0.392 5 ${{X}_{3}}^{2}$-0.459 6 X1X3-0.181 1 X2X3
0.992 8
断裂伸长率Y2/% Y2=8.770 8-0.207 6 X1+0.050 3 X2 - 1.017 1 X3+0.094 7 ${{X}_{1}}^{2}$-
0.092 6 ${{X}_{2}}^{2}$-0.123 2 X1X3-0.232 0 X2X3
0.995 7
断裂功Y3/(cN·mm) Y3=8 158.6-58.7 X1+24.7 X2-4 140.6 X3+189.2 ${{X}_{1}}^{2}$-146.7 ${{X}_{2}}^{2}$+
1 571.1 ${{X}_{3}}^{2}$-316.8 X1X3-309.5 X2X3
0.999 3
条干CV值Y4/% Y4=21.162+0.027 X1+0.166 X2+2.598 X3-1.259 ${{X}_{2}}^{2}$-4.009 ${{X}_{3}}^{2}$-
1.137 X1X2+ 1.039 X2X3
0.928 2
毛羽HY5 Y5=3.627 6+0.227 6 X1-0.137 5 X2-0.108 4 X3 0.899 0

图1

纱线响应值Y1(断裂强度)与成纱工艺关系的等值线图"

图2

纱线响应值Y2(断裂伸长率)与成纱工艺关系的等值线图"

图3

纱线响应值Y3(纱线断裂功)与成纱工艺关系的等值线图"

图4

纱线响应值Y4(条干CV值)与成纱工艺关系的等值线图"

图5

纱线响应值Y5(毛羽H值)与成纱工艺关系的等值线图"

[1] 刘建林, 郑磊. 喷气涡流纺色纺纱的开发与生产实践[J]. 纺织导报, 2022(4): 36-39.
LIU Jianlin, ZHENG Lei. Development and practice of air-jet vortex colored spun yarn[J]. China Textile Leader, 2022(4): 36-39.
[2] 杨瑞华, 潘博, 郭霞, 等. 环锭纺及转杯纺和喷气涡流纺混色纱的纤维混合效果研究[J]. 纺织学报, 2021, 42(7): 76-81,88.
YANG Ruihua, PAN Bo, GUO Xia, et al. Study on fiber mixing effect in ring spun,rotor and air-jet-vortex spun color blended yarns[J]. Journal of Textile Research, 2021, 42(7): 76-81,88.
[3] MA L, ZHANG Z, LI J, et al. A new antimicrobial agent: poly(3-hydroxybutyric acid) oligomer[J]. Macromolecular Bioscience, 2019, 19(5): 1800432.
doi: 10.1002/mabi.v19.5
[4] CHENG Z, GAO J, LIU Q, et al. The effect of alkyl chain length of (R)-3-hydroxybutyric alkyl ester on antibacterial activity and its antibacterial mechanism[J]. Journal of Biomaterials Applications, 2022, 37(2): 275-286.
[5] 邹专勇. 喷气涡流纺成纱工艺对竹浆纤维色纺纱性能的影响[J]. 纺织学报, 2014, 35(2):23-28,38.
ZOU Zhuanyong. Influence of yarn formation process on properties of bamboo pulp fiber colored spun yarn using air-jet vortex spinning[J]. Journal of Textile Research, 2014, 35(2):23-28,38
[6] TRIPATHI L, JAIN M, ISHTIAQUE S M. Properties of air-vortex blended yarn influenced by spinning process parameters[J]. Indian Journal of Fibre & Textile Research, 2021, 46(3): 225-240.
[7] MOUCKOVA E, URSINY P, JIRASKOVA P, et al. Analysis of formation of mass irregularity in drafting device during yarn spinning from sliver[J]. Vlakna a Textil, 2019, 3(26): 23-30.
[8] ERDUMLU N, OZIPEK B. Effect of the draft ratio on the properties of vortex spun yarn.[J]. Fibres & Textiles in Eastern Europe, 2010, 18(3): 38-42.
[9] 邹专勇, 缪璐璐, 董正梅, 等. 喷气涡流纺工艺对粘胶/涤纶包芯纱性能的影响[J]. 纺织学报, 2022, 43(8): 27-33.
ZOU Zhuanyong, MIAO Lulu, DONG Zhengmei, et al. Effect of air-jet vortex spinning process on properties of viscose/polyester core-spun yarns[J]. Journal of Textile Research, 2022, 43(8): 27-33.
[1] 邵秋, 杨瑞华. 再循环棉/原棉转杯纺纱线的耐磨性[J]. 纺织学报, 2025, 46(03): 64-71.
[2] 张瑞成, 张文清, 吕哲, 许多, 刘可帅, 徐卫林. 基于自捻纺的嵌入式低扭矩复合纱性能分析[J]. 纺织学报, 2025, 46(02): 78-85.
[3] 奚传智, 王家源, 王泳智, 陈革, 裴泽光. 低能耗喷气涡流纺喷嘴气流场数值模拟与纺纱实验[J]. 纺织学报, 2024, 45(12): 206-214.
[4] 史晶晶, 杨恩龙. 喂入提前量对棉/羊毛段彩纱结构及性能的影响[J]. 纺织学报, 2024, 45(12): 67-73.
[5] 缪璐璐, 孟小奕, 董正梅, 彭倩, 何林伟, 邹专勇. 热处理工艺对喷气涡流纺低熔点涤纶长丝包芯纱力学性能的影响[J]. 纺织学报, 2024, 45(11): 73-79.
[6] 刘婷, 闫涛, 潘志娟. 香蕉茎秆纤维/抗菌纤维混纺纱的制备及其性能[J]. 纺织学报, 2024, 45(10): 48-54.
[7] 邵英海, 赵业平, 韩贤国, 曹继鹏, 张明光, 陈文. 喷气涡流纺纱机及其关键技术的应用与研究进展[J]. 纺织学报, 2024, 45(03): 209-218.
[8] 缪璐璐, 董正梅, 朱繁强, 荣慧, 何林伟, 郑国全, 邹专勇. 芯丝种类与纺纱速度对喷气涡流纺包芯纱性能的影响[J]. 纺织学报, 2023, 44(12): 50-57.
[9] 贾冰凡, 敖利民, 唐雯, 郑元生, 尚珊珊. 毛纱/锦纶长丝包覆纱的纺制及其性能与应用[J]. 纺织学报, 2023, 44(12): 58-66.
[10] 苏旭中, 梁巧敏, 王汇锋, 张娣, 崔益怀. 棉/生物基弹性聚酯纤维混纺针织物的服用性能[J]. 纺织学报, 2023, 44(05): 119-124.
[11] 吴佳庆, 王怡婷, 何欣欣, 郭亚飞, 郝新敏, 王迎, 宫玉梅. 混纺比对生物基锦纶56短纤/棉混纺纱力学性能的影响[J]. 纺织学报, 2023, 44(03): 49-54.
[12] 史晶晶, 杨恩龙. 赛络纺棉/毛段彩纱结构及其性能[J]. 纺织学报, 2023, 44(03): 55-59.
[13] 柳浩, 马万彬, 栾一鸣, 周岚, 邵建中, 刘国金. 光子晶体结构生色碳纤维/涤纶混纺纱线的制备及其性能[J]. 纺织学报, 2023, 44(02): 159-167.
[14] 缪莹, 熊诗嫚, 郑敏博, 唐建东, 张慧霞, 丁彩玲, 夏治刚. 高光洁处理对聚酰亚胺短纤纱及其织物性能的影响[J]. 纺织学报, 2023, 44(02): 118-127.
[15] 于学智, 张明光, 曹继鹏, 张月, 王晓燕. 捻度对锦纶/棉混纺纱质量指标的影响[J]. 纺织学报, 2023, 44(01): 106-111.
Viewed
Full text


Abstract

Cited

  Shared   
  Discussed   
No Suggested Reading articles found!