Journal of Textile Research ›› 2021, Vol. 42 ›› Issue (11): 166-172.doi: 10.13475/j.fzxb.20200502308

• Machinery & Accessories • Previous Articles     Next Articles

Effect of structural parameter of relay nozzles on characteristics of flow field in profiled reed of air jet loom

ZHOU Haobang, SHEN Min(), YU Lianqing, XIAO Shichao   

  1. Hubei Key Laboratory of Digital Textile Equipment, Wuhan Textile University, Wuhan, Hubei 430200, China
  • Received:2020-05-07 Revised:2021-08-10 Online:2021-11-15 Published:2021-11-29
  • Contact: SHEN Min E-mail:min_shen18@163.com

Abstract:

In order to improve the speed and stability of weft insertion system of air-jet looms, the k-ε expression in the Reynolds time average equation was used to simulate the resultant flow field of three different relay nozzles,i.e. a single circular hole, a regular triangular hole and a star-shaped hole,in the profiled reed. Under the air supply pressure of 0.2-0.4 MPa and the different auxiliary spray spacing, the combined flow field was simulated revealing the jet velocity and velocity nephogram along the central axis of the flow field. The results show that when the pressure is the same, the velocity of the central axis of the resultant flow field of the triangle hole relay nozzle is the highest, and it has the largest traction force on the yarn; the velocity of the central axis of the resultant flow field of the star-shaped hole relay nozzle is the smallest, and the weft insertion stability is the best. It was also found that the velocity fluctuation of the central axis of the single circular hole relay nozzle is the largest, and the spacing is more than 70 mm, which is not suitable for weft insertion. Several groups of relay nozzles are used for the width of the whole fabric, and the action timing of each group of nozzles were synchronized. Because the useful jet length is not long, the interval between the nozzles should not be too long in order to realize the relay weft insertion.

Key words: air jet loom, relay nozzle, profiled reed, synthetic flow field, numerical simulation, star-shaped nozzle

CLC Number: 

  • TS103.3

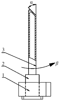
Fig.1

Auxiliary nozzle structure"

Fig.2

Signal circular hole auxiliary nozzle. (a)Front view; (b)Sketch map of section structure"

Fig.3

Triangle hole auxiliary nozzle. (a)Front view; (b)Sketch map of section structure"

Fig.4

Star hole auxiliary nozzle. (a)Front view; (b)Sketch map of section structure"

Fig.5

Geometric model of flow field of three auxiliary nozzles converging into reed. (a)Geometry model of profiled reed; (b)Geometric model of synthetic flow field"

Fig.6

Mesh generation of synthetic flow field of main and auxiliary nozzles into reed"

Tab.1

Pressure inlet conditions under different gas supply pressures"

总压P1/
MPa
静压P2/
MPa
湍动能κ/
(m2·s-2)
湍动能耗散率ε/
(m2·s-3)
0.2 198 366 5.7 9 942.8
0.3 297 554 5.1 8 480.5
0.4 396 703 4.8 7 724.4

Fig.7

Nozzles and profiled reed of flow field test device"

Fig.8

Numerical simulation and experimental verification of synthetic flow field of three auxiliary nozzles"

Fig.9

Effect of pass on air velocity along central axis"

Fig.10

Cloud diagram of velocity distribution of three pass types at 0.4 MPa. (a)Single hole; (b)Regular triangle hole; (c)Star hole"

Fig.11

Effect of auxiliary nozzle spacing on air velocity along central axis. (a)Single circular hole; (b)Triangle hole; (c)Star hole type"

Tab.2

Velocity fluctuation under different auxiliary nozzle spacing"

间距L/mm 平均速度/
(m·s-1)
速度差值/
(m·s-1)
速度
波动率/%
55 89.08 18.25 0.204 9
60 88.59 17.00 0.191 9
65 87.84 20.22 23.02
65 87.26 22.21 25.45
75 82.40 30.95 37.54

Fig.12

Effect of pressure on air velocity along central axis. (a)Single circular hole; (b)Triangle hole; (c) Star hole"

Fig.13

Effect of pass size on air velocity along central axis. (a)Single circular hole; (b)Triangle hole; (c) Star hole"

[1] 陈永当, 赵诚诚, 殷俊清, 等. 喷气织机新型引纬片结构设计及引纬流场分析[J]. 纺织高校基础科学学报, 2020, 33(4):59-63.
CHEN Yongdang, ZHAO Chengcheng, YIN Junqing, et al. Structure design of new weft insertion sheet of air-jet loom and its weft insertion flow field analysis[J]. Basic Sciences Journal of Textile University, 2020, 33(4):59-63.
[2] 高鑫. 喷气织机用辅喷嘴节能方法研究[J]. 纺织器材, 2020, 47(4):12-14.
GAO Xin. Study on energy saving method of relay nozzle for air-jet loom[J]. Textile Accessories 2020, 47(4):12-14.
[3] BELFORTE G, MATTIAZZO G, TESTORE F, et al. Experimental investigation on air-jet loom sub-nozzles for weft yarn insertion[J]. Textile Research Journal, 2010, 81(8):791-797.
doi: 10.1177/0040517510391694
[4] WEI M Y, XUE W L, LU W M, et al. Air velocity fluctuation in reed groove of air-jet loom[J]. Journal of Donghua University, 2011, 28(4):170-176.
[5] 张道生, 麻伟巍. 激光测速对喷气引纬流场的测试分析[J]. 中国纺织大学学报, 1994, 20(2):52-61.
ZHANG Daosheng, MA Weiwei. Measurement and analysis of the laser velocity measurement on the weftflow field of jet[J]. Journal of China Textile University, 1994, 20(2):52-61.
[6] 祝章琛, 黄福荣. 喷气织机引纬筘槽内气流状态的测试分析[J]. 纺织学报, 2010, 31(6):120-124.
ZHU Zhangchen, HUANG Furong. Test and analysis of air flow state in weft insertion slot of air jet loom[J]. Journal of Textile Research, 2010, 31(6):120-124.
[7] SONG S J, SHEN D F. Synthetic flow-field analysis of main and auxiliary nozzles in air-jet looms[J]. Advanced Materials Research, 2011, 411(1):16-20.
doi: 10.4028/www.scientific.net/AMR.411
[8] JIM H K, SETOGUCHI T, KIM H D. Numerical study of sub-nozzle flows for the weft transmission in an air-jet loom[J]. Procedia Engineering, 2015, 105(5):264-269.
doi: 10.1016/j.proeng.2015.05.107
[9] JIN Y Z, HU X D, ZHU L H, et al. Study on airflow characteristic in the semi-closed irregular narrow flow channel[J]. Journal of Thermal Science, 2016, 25(5):123-129.
doi: 10.1007/s11630-016-0842-2
[10] JIANG S W, JIN Y Z, HU X D, et al. Characteristics of intersecting airflows in the narrow flow channel[J]. Journal of The Textile Institute, 2017, 34(2):1-7.
[11] 王卫华, 冯志华, 谭保辉, 等. 喷气织机辅助喷嘴流场特性分析与纬纱牵引实验研究[J]. 纺织学报, 2014, 35(10):121-128.
WANG Weihua, FENG Zhihua, TAN Baohui, et al. Analysis of flow field of weft insertion and experimental investigation on weft dragging of the auxiliary nozzle in an air-jet loom[J]. Journal of Textile Research, 2014, 35(10):121-128.
[12] 陆庆, 冯志华, 张荣. 主辅喷嘴供气压力对筘槽内引纬气流速度的影响[J]. 科学技术与工程, 2017, 17(7):95-100.
LU Qing, FENG Zhihua, ZHANG Rong. Influence of air supply pressure of main and auxiliary nozzles on air velocity of weft insertion in reeds[J]. Science Technology and Engineering, 2017, 17(7):95-100.
[13] 杨国仲, 沈丹峰, 常革联, 等. 喷气织机异形筘结构参数对引纬气流场的影响[J]. 西安工程大学学报, 2020, 34(2):85-90.
YANG Guozhong, SHEN Danfeng, CHANG Gelian, et al. Influence of structural parameters of profiled reed of Air-jet loom on air flow field of weft insertion[J]. Journal of Xi'an Polytechnic University, 2020, 34(2):85-90.
[1] QIAN Miao, HU Hengdie, XIANG Zhong, MA Chengzhang, HU Xudong. Flow and heat transfer characteristics of non-uniform heat-pipe heat exchanger [J]. Journal of Textile Research, 2021, 42(12): 151-158.
[2] MOU Haolei, XIE Jiang, PEI Hui, FENG Zhenyu, GENG Hongzhang. Ballistic impact tests and numerical simulation of aramid fabric and containment ring [J]. Journal of Textile Research, 2021, 42(11): 56-63.
[3] SHI Qianqian, WANG Jiang, ZHANG Yuze, LIN Huiting, WANG Jun. Numerical analysis on formation mechanism of airflow field in rotor spinning unit [J]. Journal of Textile Research, 2021, 42(02): 180-184.
[4] CHU Xi, QIU Hua. Flow simulations of ring swirl nozzle under different inlet pressure conditions [J]. Journal of Textile Research, 2020, 41(09): 33-38.
[5] DING Ning, LIN Jie. Free convection calculation method for performance prediction of thermal protective clothing in an unsteady thermal state [J]. Journal of Textile Research, 2020, 41(01): 139-144.
[6] LI Sihu, SHEN Min, BAI Cong, CHEN Liang. Influence of structure parameter of auxiliary nozzle in air-jet loom on characteristics of flow field [J]. Journal of Textile Research, 2019, 40(11): 161-167.
[7] CHEN Xu, WU Bingyang, FAN Ying, YANG Musheng. Numerical simulation of low temperature protection process for heat storage fabrics [J]. Journal of Textile Research, 2019, 40(07): 163-168.
[8] ZHENG Zhenrong, ZHI Wei, HAN Chenchen, ZHAO Xiaoming, PEI Xiaoyuan. Numerical simulation of heat transfer of carbon fiber fabric under impact of heat flux [J]. Journal of Textile Research, 2019, 40(06): 38-43.
[9] CAO Haijian, CHEN Hongxia, HUANG Xiaomei. Numerical simulation of side compressive properties on glass fiber/epoxy resin sandwich composite [J]. Journal of Textile Research, 2019, 40(05): 59-63.
[10] GUO Zhen, LI Xinrong, BU Zhaoning, YUAN Longchao. Three-dimensional numerical simulation of fiber movement in nozzle of murata vortex spinning [J]. Journal of Textile Research, 2019, 40(05): 131-135.
[11] GUANG Shaobo, JIN Yuzhen, ZHU Xiaochen. Analysis on airflow field in extended nozzle of air jet loom [J]. Journal of Textile Research, 2019, 40(04): 135-139.
[12] LIU Qiannan, ZHANG Han, LIU Xinjin, SU Xuzhong. Simulation on tensile mechanical properties of three-elementary weave woven fabrics based on ABAQUS [J]. Journal of Textile Research, 2019, 40(04): 44-50.
[13] SHANG Shanshan, YU Chongwen, YANG Jianping, QIAN Xixi. Numerical simulation of airflow field in vortex spinning process [J]. Journal of Textile Research, 2019, 40(03): 160-167.
[14] SHI Qianqian, AKANKWASA Nicholus Tayari, LIN Huiting, ZHANG Yuze, WANG Jun. Comparative analysis of rotor spinning machines and yarn performance between conventional and dual-feed rotor spinning [J]. Journal of Textile Research, 2019, 40(02): 63-68.
[15] . Numerical simulation for twisting chamber of air jet vortex spinning based on hollow spindle with spiral guiding grooves [J]. Journal of Textile Research, 2018, 39(09): 139-145.
Viewed
Full text


Abstract

Cited

  Shared   
  Discussed   
[1] . [J]. JOURNAL OF TEXTILE RESEARCH, 2003, 24(06): 33 -34 .
[2] . [J]. JOURNAL OF TEXTILE RESEARCH, 2003, 24(06): 35 -36 .
[3] . [J]. JOURNAL OF TEXTILE RESEARCH, 2003, 24(06): 107 .
[4] . [J]. JOURNAL OF TEXTILE RESEARCH, 2003, 24(06): 109 -620 .
[5] . [J]. JOURNAL OF TEXTILE RESEARCH, 2004, 25(02): 105 -107 .
[6] . [J]. JOURNAL OF TEXTILE RESEARCH, 2004, 25(02): 108 -110 .
[7] . [J]. JOURNAL OF TEXTILE RESEARCH, 2004, 25(02): 111 -113 .
[8] . [J]. JOURNAL OF TEXTILE RESEARCH, 2004, 25(02): 114 -115 .
[9] . [J]. JOURNAL OF TEXTILE RESEARCH, 2004, 25(03): 9 -10 .
[10] PAN Xu-wei;GU Xin-jian;HAN Yong-sheng;CHENG Yao-dong. Research on quick response of apparel supply chain for collaboration[J]. JOURNAL OF TEXTILE RESEARCH, 2006, 27(1): 54 -57 .